欢迎来到知嘟嘟! 联系电话:13336804447 卖家免费入驻,海量在线求购! 卖家免费入驻,海量在线求购!
知嘟嘟
我要发布
联系电话:13336804447
知嘟嘟经纪人
收藏
专利号: 2017102851632
申请人: 浙江工贸职业技术学院
专利类型:发明专利
专利状态:已下证
专利领域: 鞋类
更新日期:2023-08-24
缴费截止日期: 暂无
价格&联系人
年费信息
委托购买

摘要:

权利要求书:

1.一种新型省力登山鞋,包括鞋面(1)和鞋底(5),该鞋底(5)设置有容纳槽(42),其特征在于:所述容纳槽(42)内设置有支撑架(9),该支撑架(9)安装有助力装置(6)、切换装置(7)和卡位装置(8),所述支撑架(9)为塑料支撑架(9)或者金属支撑架(9),该支撑架(9)包括顶板(34)、侧板(35)和底板(36),

所述助力装置(6)固定连接于切换装置(7),该切换装置(7)固定于支撑架(9)的侧板(35),该助力装置(6)通过切换装置(7)在鞋前掌位置和鞋后跟位置前后切换伸缩连接于鞋底(5)底面,所述卡位装置(8)固定于支撑架(9)上,该卡位装置(8)与切换装置(7)相抵,所述卡位装置(8)用于切换装置(7)各个切换状态的固定保持,所述卡位装置(8)为弹簧插销,该弹簧插销包括拉杆(18)、弹簧(23)和插销座(20),该插销座(20)设在支撑的侧板(35)上,所述拉杆(18)可伸缩串连在插销座(20)内,所述插销座(20)呈圆管状,该插销座(20)内部设置有限位块(22),所述拉杆(18)周向延伸有凸块(21),所述弹簧(23)设置在限位块(22)和凸块(21)之间,所述切换装置(7)包括安装板(33),该安装板(33)侧面下方开有轴孔(19),该安装板(33)通过轴承连接轴孔(19)转动连接于支撑架(9)的侧板(35),该安装板(33)包括上底面(37)、下底面(38)、前斜面(39)和后斜面(40),所述前斜面(39)对应鞋底(5)的鞋前掌位置,所述后斜面(40)对应鞋底(5)的鞋后跟位置,所述安装板(33)上底面(37)延伸有摇臂(12),该摇臂(12)在与插销座(20)相对应的位置开有圆槽(13),所述摇臂(12)两侧边设有前卡槽(14)和后卡槽(15),当所述安装板(33)保持平衡在容纳槽(42)内时所述圆槽(13)与插销座(20)位置对齐,该圆槽(13)套接拉杆(18),当安装板(33)旋转向后下方倾斜使得后斜面(40)在鞋底(5)的鞋后跟位置伸出时所述前卡槽(14)对齐插销座(20)位置与拉杆(18)相抵,当安装板(33)旋转向前下方倾斜使得前斜面(39)在鞋底(5)的鞋前掌位置伸出时所述后卡槽(15)对齐插销座(20)位置与拉杆(18)相抵,所述支撑架(9)的底板(36)设有向上的抵柱,该抵柱包括第一抵柱(16)和第二抵柱(17),该第一抵柱(16)对应设置在安装板(33)前斜面(39)下方,该第二抵柱(17)设置在安装板(33)后斜面(40)下方,所述助力装置(6)包括第一助力装置(31)和第二助力装置(32),该前斜面(39)固定连接第一助力装置(31),该后斜面(40)固定连接第二助力装置(32),所述助力装置(6)包括弹力单元(11)和承压板(10),该弹力单元(11)分别连接安装板(33)和承压板(10)。

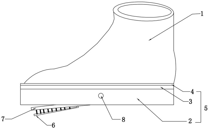
2.根据权利要求1所述的一种新型省力登山鞋,其特征在于:所述鞋底(5)由透气层(4)、缓冲层(3)和安装层(2)组成,该透气层(4)、缓冲层(3)和安装层(2)通过粘胶固定连接,所述容纳槽(42)设置在安装层(2),所述缓冲层(3)为弹性橡胶材质闭合成的中空腔,该缓冲层(3)下底面向内凹陷有若干个缓冲槽(43),该缓冲槽(43)隆起部位在中空腔内形成若干个缓冲支撑条(44),该缓冲支撑条(44)在对应在鞋前掌的位置呈圆盘辐射状排列,该缓冲支撑条(44)在对应脚弓的位置呈向前折线状,该缓冲支撑条(44)在对应在鞋后跟的位置呈圆盘辐射状排列,所述安装层(2)的材质为弹性材质。

3.根据权利要求1所述的一种新型省力登山鞋,其特征在于:所述拉杆(18)外侧端部设置有操作部(41),该操作部(41)为拉环或者盖状把手或者杆状把手。

4.根据权利要求1所述的一种新型省力登山鞋,其特征在于:所述承压板(10)底面粘合有防滑垫(25),该防滑垫(25)为橡胶防滑垫(25),该防滑垫(25)设置有网格状防滑纹或折线状防滑纹或防滑凸起。

5.根据权利要求1所述的一种新型省力登山鞋,其特征在于:所述弹力单元(11)为伸缩弹簧(26),该伸缩弹簧(26)的数量为至少两个,所述安装板(33)和承压板(10)上下对应设置有安装槽,该安装槽呈矩形排列。

6.根据权利要求1所述的一种新型省力登山鞋,其特征在于:所述弹力单元(11)为弧形的弹性板(27),该弹性板(27)的弧面顶端设置有连接块(30),所述弹性板(27)下端四角安装有滑块(29),所述安装板(33)在前斜面(39)中间位置设置有固定孔,所述连接块(30)与固定孔固定连接,所述承压板(10)上设置有滑道(28),所述滑道(28)的数量为4条,该滑道(28)以承压板(10)的中心对称呈十字排列,所述滑块(29)与滑道(28)滑动连接。

我要求购
我不想找了,帮我找吧
您有专利需要变现?
我要出售
智能匹配需求,快速出售