欢迎来到知嘟嘟! 联系电话:13336804447 卖家免费入驻,海量在线求购! 卖家免费入驻,海量在线求购!
知嘟嘟
我要发布
联系电话:13336804447
知嘟嘟经纪人
收藏
专利号: 2017102847938
申请人: 浙江工贸职业技术学院
专利类型:发明专利
专利状态:已下证
专利领域: 鞋类
更新日期:2023-08-24
缴费截止日期: 暂无
价格&联系人
年费信息
委托购买

摘要:

权利要求书:

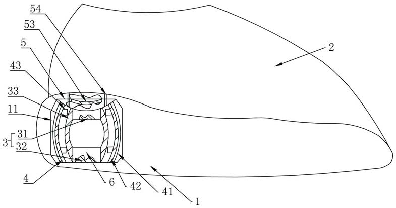
1.一种磁力减震鞋,其特征在于:包括鞋底(1)和鞋面(2),所述鞋底(1)的鞋跟部开设有空槽(11),所述空槽(11)内设置有减震装置(3),所述减震装置(3)包括对称设置的第一磁块(31)和第二磁块(32),所述第一磁块(31)和第二磁块(32)的同极相向设置,所述第一磁块(31)与第二磁块(32)相对的另一侧面与空槽(11)的上槽壁相连接,所述第二磁块(32)相对第一磁块(31)的另一侧面与空槽(11)的下槽壁连接;所述第一磁块(31)和第二磁块(32)之间设有若干个连接两者的第一弹性片(33),所述第一弹性片(33)由弹性材料制成;

所述第一弹性片(33)的两端分别与第一磁块(31)和第二磁块(32)的侧壁连接;所述空槽(11)内设有屏蔽装置(4),所述屏蔽装置(4)的包括若干个由铅纤维制成的第一屏蔽片(41),所述第一屏蔽片(41)的一端与空槽(11)的槽底固定连接,另一端与空槽(11)的上槽壁相贴合,若干个所述第一屏蔽片(41)环绕住第一磁块(31)和第二磁块(32),所述第一屏蔽片(41)相对第一磁块(31)的一侧贴设有第二弹性片(42),所述第二弹性片(42)由弹性材料制成;所述第一屏蔽片(41)弯曲设置且呈弧状,所述第一屏蔽片(41)相对第一磁块(31)的一侧背向其弯曲,所有所述第一屏蔽片(41)组合后整体呈灯笼状;所述空槽(11)的上槽壁设有截面呈向下拱的弧形的挤压块(5),所述第一磁块(31)与挤压块(5)相抵,所述第一屏蔽片(41)相对下槽壁的一端与挤压块(5)的弧形面相抵,当鞋底(1)的鞋跟部受到压力时,所述挤压块(5)挤压第一磁块(31)和第一屏蔽片(41),所述挤压块(5)向空槽(11)的槽底的一侧移动且迅速回位。

2.根据权利要求1所述的磁力减震鞋,其特征在于:所述第二弹性片(42)背向第一屏蔽片(41)的一侧设有两个第三磁块(43),两个第三磁块(43)分别设置在第一屏蔽片(41)的上下两端且相对设置,两个所述第三磁块(43)的同极相向设置。

3.根据权利要求1或2所述的磁力减震鞋,其特征在于:所述第一磁块(31)和第二磁块(32)外均包裹有橡胶套(6),所述橡胶套(6)内开设有形状与第一磁块(31)和第二磁块(32)相匹配的凹槽(61),两个相对的所述橡胶套(6)上均开设有与凹槽(61)连通的通槽(62),所述第一磁块(31)和第二磁块(32)通过通槽(62)分别进入到凹槽(61)内,所述第一弹性片(33)的两端分别与包裹住第一磁块(31)和第二磁块(32)的橡胶套(6)连接;包裹住所述第二磁块(32)的橡胶套(6)的一侧与空槽(11)的下槽底连接。

4.根据权利要求3所述的磁力减震鞋,其特征在于:所述挤压块(5)上开设有嵌槽(51),所述第一磁块(31)与嵌槽(51)相对设置且部分嵌入到凹槽(61)内;所述挤压块(5)上还开设有若干个数量与第一屏蔽片(41)数量相同的固定槽(52),所述第一屏蔽片(41)的上端与固定槽(52)相对设置且嵌入到固定槽(52)内。

5.根据权利要求4所述的磁力减震鞋,其特征在于:所述挤压块(5)内设有铅纤维制成的第二屏蔽片(53),所述第二屏蔽片(53)与第一磁块(31)相对设置。

6.根据权利要求5所述的磁力减震鞋,其特征在于:所述挤压块(5)上开设有若干个细小的通气孔(54),所述通气孔(54)连通空槽(11)和鞋底(1)外部,当鞋跟部受力时,所述挤压块(5)和第一磁块(31)被压向第二磁块(32),所述空槽(11)内的空气通过通气孔(54)排出到鞋底(1)外部。

7.根据权利要求1或2所述的磁力减震鞋,其特征在于:所述第一弹性片(33)和第二弹性片(42)均由弹力橡胶制成。

8.根据权利要求5所述的磁力减震鞋,其特征在于:所述第一屏蔽片和第二屏蔽片均由屏蔽弹性体制成,所述屏蔽弹性体包括下述重量份组成:聚氨酯弹性体:100份

铅粉:5份

3-异氰酸丙基三甲氧基硅烷:10份

3-(异丁烯酰氧)丙基三(三甲基硅氧烷)硅烷:2份

烯丙胺基三甲基硅烷:3份;

制备方法为:将铅粉和3-异氰酸丙基三甲氧基硅烷、3-(异丁烯酰氧)丙基三(三甲基硅氧烷)硅烷、烯丙胺基三甲基硅烷进行混合,混合之后与聚氨酯弹性体加入到双螺杆挤出机中,进行挤出造粒得到屏蔽弹性体。

我要求购
我不想找了,帮我找吧
您有专利需要变现?
我要出售
智能匹配需求,快速出售