欢迎来到知嘟嘟! 联系电话:13336804447 卖家免费入驻,海量在线求购! 卖家免费入驻,海量在线求购!
知嘟嘟
我要发布
联系电话:13336804447
知嘟嘟经纪人
收藏
专利号: 2017102646322
申请人: 青岛理工大学
专利类型:发明专利
专利状态:已下证
专利领域: 测量;测试
更新日期:2026-04-13
缴费截止日期: 暂无
价格&联系人
年费信息
委托购买

摘要:

权利要求书:

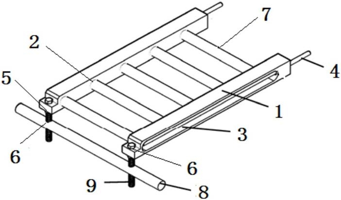
1.一种钢筋锈蚀光纤传感监测装置,其特征在于主体结构包括连接件、连接孔、U形槽、电缆管、连接台、螺栓孔、阶段元、固定棒和螺栓;矩形结构的连接件的内侧面等间距开设5个连接孔,连接件的外侧面开设U形槽,连接件的一端设置有电缆管,连接孔和电缆管分别与U形槽连通,连接件的另一端设置有连接台,连接台开设有贯穿连接台的螺栓孔,5根圆柱形结构的阶段元的两端分别插入2根连接件的连接孔中,连接孔的直径比阶段元的外壁直径大1mm,以使阶段元与连接件紧密接触并固定连接,阶段元伸入连接孔的水平距离为3‑

5mm,5根阶段元与2根连接件构成梯子形状的框架,独立设置的管状结构的固定棒上开设2个圆形结构的螺栓孔,螺栓通过螺栓孔将连接件与固定棒连接;所述阶段元的结构包括筒底、外圆周、内圆台、筒底孔、圆周孔、大钢管、小钢管、应变测量光栅、温度补偿光栅、传输电缆和保护层;圆台形结构的筒底的外围设置有圆形结构的外圆周,筒底的中心处设置有内圆台,筒底开设有贯穿筒底的圆形结构的筒底孔,外圆周开设有贯穿外圆周的圆形结构的圆周孔,大钢管的外壁上粘贴应变测量光栅,在小钢管的外壁上粘贴温度补偿光栅,应变测量光栅和温度补偿光栅分别与传输电缆连接;大钢管嵌套在2个外圆周之间,小钢管套设在

2个内圆台之间,应变测量光栅的传输电缆穿过并伸出圆周孔,温度补偿光栅的传输电缆穿过并伸出筒底孔,2个筒底孔和2个圆周孔用环氧树脂胶密封,外圆周和大钢管的外侧包覆有保护层;大钢管和小钢管的长度相同,均为100‑200mm,大钢管的直径大于小钢管的直径,大钢管和小钢管的外壁经过打磨没有任何锈蚀确保钢筋锈蚀监测的准确性,大钢管和小钢管的外壁打磨处经过脱脂棉球蘸无水酒精擦洗干净,防止打磨的碎屑污染大钢管和小钢管的外壁而影响监测结果,大钢管和小钢管均为薄壁钢管,薄壁钢管厚度较薄,对锈蚀敏感,在混凝土结构中发生锈蚀时,薄壁钢管体积膨胀,薄壁钢管与其接触的应变测量光栅或温度补偿光栅之间产生挤压应力, 应变测量光栅或温度补偿光栅的波长在挤压应力的作用下产生漂移,传感器通过传输电缆将波长的漂移量传输至外部信号解调单元,外部信号解调单元根据波长的漂移量判断锈蚀界面与被测钢筋的距离和锈蚀情况,工作人员据此作出对应的补救措施。

2.根据权利要求1所述的钢筋锈蚀光纤传感监测装置,其特征在于外圆周的高度大于内圆台的高度,外圆周的厚度小于内圆台的厚度,筒底孔与圆周孔之间的水平夹角为180°,筒底孔的直径与圆周孔的直径相同;大钢管和小钢管均为内空式结构;大钢管的外壁直径比外圆周的内壁直径小1mm,小钢管的内壁直径比内圆台的外壁直径大1mm,外圆周的内壁和内圆台的外壁均涂覆有胶水,以使大钢管的外壁紧贴外圆周的内壁,小钢管的内壁紧贴内圆台的外壁,达到固定和密封的效果。

3.根据权利要求1所述的钢筋锈蚀光纤传感监测装置,其特征在于所述连接件和固定棒的材质均为AISI316型不锈钢;U形槽封闭后能够防止其中的传输电缆在浇筑混凝土时受到损坏;套筒的材质为塑料;应变测量光栅用于测量由于应力变化和环境温度变化引起的应变,温度补偿光栅用于测量由于环境温度引起的应变,应变测量光栅的波长漂移量减去温度补偿光栅的波长漂移量就是待测钢筋由于应力变化引发的波长漂移量,根据待测钢筋的波长漂移量能够分析和判断待测钢筋的锈蚀状况;应变测量光栅的波长λB与应变测量光栅的有效折射率neff和光纤周期 正相关: ;温度补偿光栅的波长ΔλB与应变灵敏度系数aε、应变ε、温度灵敏度系数aT和温度变化量ΔT正相关: 。

4.根据权利要求1所述的钢筋锈蚀光纤传感监测装置,其特征在于使用时,首先将传输电缆集合在U形槽中穿过并伸出电缆管,传输电缆与外部信号解调单元连接,用环氧树脂胶密封U形槽,U形槽封闭后能够防止其中的传输电缆在浇筑混凝土时受到损坏,然后将固定棒与待测钢筋捆绑连接,最后浇筑混凝土;根据混凝土结构的厚度选取连接件与阶段元构成的框架的倾斜度,其倾斜度能够通过螺栓深入固定棒的长度调节。