欢迎来到知嘟嘟! 联系电话:13336804447 卖家免费入驻,海量在线求购! 卖家免费入驻,海量在线求购!
知嘟嘟
我要发布
联系电话:13336804447
知嘟嘟经纪人
收藏
专利号: 2017102631401
申请人: 燕山大学
专利类型:发明专利
专利状态:已下证
专利领域: 测量;测试
更新日期:2024-02-23
缴费截止日期: 暂无
价格&联系人
年费信息
委托购买

摘要:

权利要求书:

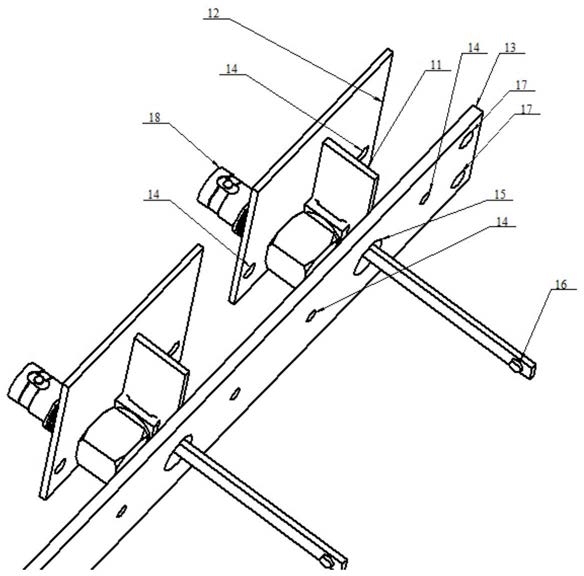
1.一种磁探针阵列装置,其特征在于,包括:按照顺序依次排列的多个磁探针,所述多个磁探针至少包括二组磁探针,每组磁探针中的各磁探针均不与下一个磁探针相邻,所述磁探针包括同轴电缆连接器,与每个磁探针固定连接的底板,骨架固定条,其中:所述底板和所述骨架固定条上具有探针定位孔,通过螺丝连接所述底板和所述骨架固定条;

所述骨架固定条具有与每个磁探针对应的探针位置孔,所述底板与所述骨架固定条连接后,所述磁探针的感应线圈从所述探针位置孔中穿过;

所述骨架固定条具有固定条定位孔,用于通过螺丝将所述骨架固定条固定安装在电磁推射装置上;

所述多个磁探针中的全部或部分磁探针的所述同轴电缆连接器依次通过高频同轴电缆跳线相连,其中,每组磁探针中各磁探针的所述同轴电缆连接器依次通过高频同轴电缆跳线相连。

2.如权利要求1所述的磁探针阵列装置,其特征在于,所述底板为信号电路调理底板,所述信号电路调理底板上的电路包括依次连接的保护电路、滤波电路和信号调理电路,其中:所述保护电路接收所述磁探针的所述感应线圈产生的电压信号,所述信号调理电路输出调理后的信号;

所述信号电路调理底板还包括:电源,用于向所述保护电路、所述滤波电路和所述信号调理电路供电。

3.如权利要求2所述的磁探针阵列装置,其特征在于,所述电源为纽扣电池;

所述信号电路调理底板上安装有纽扣电池底座,用于安装所述纽扣电池。

4.如权利要求2所述的磁探针阵列装置,其特征在于,所述滤波电路为有源滤波电路;

所述保护电路为包括气体放电管与瞬态抑制二极管TVS的二级防护电路;

所述信号调理电路为比例放大电路。

5.如权利要求1所述的磁探针阵列装置,其特征在于,所述磁探针包括印制电路板PCB,所述感应线圈位于所述PCB上。

6.如权利要求5所述的磁探针阵列装置,其特征在于,所述感应线圈包括顶层感应线圈和底层感应线圈,所述顶层感应线圈与所述底层感应线圈通过金属化过孔相连。

7.一种基于磁探针阵列装置的电磁推射速度测量装置,其特征在于,包括:电磁推射装置,如权利要求1-6任一所述磁探针阵列装置;

所述磁探针阵列装置通过所述骨架固定条的所述固定条定位孔安装在所述电磁推射装置上;

所述电磁推射装置的外部布置有多个钻孔,所述钻孔用于插入所述磁探针,以便所述磁探针的所述感应线圈放在所述电磁推射装置内。

8.一种基于权利要求7所述的电磁推射速度测量装置的速度测量方法,其特征在于,所述电磁推射速度测量装置,还包括:依次连接的信号接收模块、中央处理器;

所述磁探针阵列装置中通过高频同轴电缆跳线相连的各磁探针中最后一个磁探针与所述信号接收模块相连;

所述电磁推射装置发射的弹丸在经过所述各磁探针时,所述各磁探针产生感应电压,所述信号接收模块采集所述感应电压,生成感应电压信号,并传输给所述中央处理器;

所述方法,包括:

所述中央处理器基于所述感应电压信号,确定出所述弹丸经过所述各磁探针中每相邻两个磁探针的中间位置的时间点,并基于每相邻两个中间位置之间的距离以及时间点差值,确定出所述弹丸经过每相邻两个中间位置中的磁探针时的速度。

9.如权利要求8所述的方法,其特征在于,所述中央处理器基于所述感应电压信号,确定出所述弹丸经过所述各磁探针中每相邻两个磁探针的中间位置的时间点,具体包括:所述中央处理器对所述感应电压信号进行比例调节,得到信号中幅值一致的调节后感应电压信号;

对所述调节后感应电压信号进行数字平均值滤波处理,得到滤波后感应电压信号;

对所述滤波后感应电压信号进行信号拟合处理,得到数据连续的感应电压信号曲线;

确定所述数据连续的感应电压信号曲线中与零轴相交的数值,得到所述弹丸经过所述各磁探针中每相邻两个磁探针的中间位置的时间点。

10.如权利要求8或9所述的方法,其特征在于,所述电磁推射速度测量装置,还包括:与所述中央处理器相连的显示单元;

所述方法,还包括:

所述中央处理器根据确定的所述弹丸经过每相邻两个中间位置中的磁探针时的速度,生成所述弹丸经过所述各磁探针的速度曲线,并在所述显示单元显示所述速度曲线。