欢迎来到知嘟嘟! 联系电话:13095918853 卖家免费入驻,海量在线求购! 卖家免费入驻,海量在线求购!
知嘟嘟
我要发布
联系电话:13095918853
知嘟嘟经纪人
收藏
专利号: 2017102476961
申请人: 吉林大学
专利类型:发明专利
专利状态:已下证
专利领域: 测量;测试
更新日期:2025-02-11
缴费截止日期: 暂无
价格&联系人
年费信息
委托购买

摘要:

权利要求书:

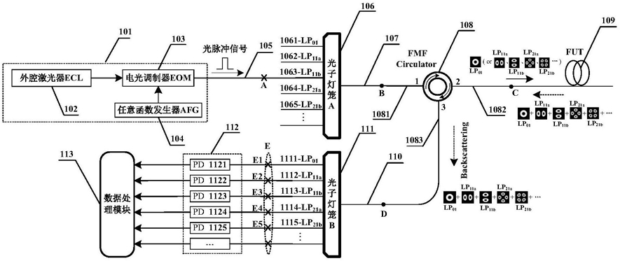
1.一种基于双光子灯笼和少模光纤环形器的少模光纤模式耦合测量装置,其特征在于:该装置由光源(101)、光子灯笼A(106)、3端口少模光纤环形器(108)、被测光纤(109)、光子灯笼B(111)、光电探测模块(112)和信号处理模块(113)组成;光源(101)输出的光脉冲信号经光子灯笼A(106)的LP01、LP11a、LP11b、LP21a、LP21b……不同输入端口进入光子灯笼A(106)进行空间模式转换,转换为相应的LP01、LP11a、LP11b、LP21a、LP21b……单一受激模式,单一受激模式通过端口1进入3端口少模光纤环形器(108)中,然后经端口2输出进入被测光纤(109);

在被测光纤(109)中,单一受激模式中传输的光脉冲信号会耦合到不包括该单一受激模式在内的其它模式中,这种被耦合模式称之为非激发模式,单一受激模式和非受激模式在被测光纤(109)中分别产生的背向瑞利散射信号通过端口2返回少模光纤环形器(108),并由端口3输出后进入到光子灯笼B(111),光子灯笼B(111)对背向瑞利散射信号进行空间模式解复用,将各模式分别转换为LP01后经相应的LP01、LP11a、LP11b、LP21a、LP21b……输出端口进入到光电探测模块(112)的光电探测器(1121、1122、1123、1124、1125……)进行光电探测,光电探测模块(112)输出的多路电信号进入数据处理模块(113)进行数据处理,对受激模式及非受激模式LP01、LP11a、LP11b、LP21a、LP21b……的背向瑞利散射功率比值处理得到不同模式LP01、LP11a、LP11b、LP21a、LP21b……间的耦合系数。

2.如权利要求1所述的一种基于双光子灯笼和少模光纤环形器的少模光纤模式耦合测量装置,其特征在于:光源(101)由外腔激光器(102)、电光调制器(103)和任意波形发生器(104)组成;外腔激光器(102)输出连续光被送到电光调制器(103),由任意波形发生器(104)输出的特定重复频率、脉宽的脉冲信号通过电光调制器(103)加载到连续光波上,经电光调制器(103)输出相应参数的光脉冲信号后经光源(101)的尾纤(105)输出。

3.如权利要求2所述的一种基于双光子灯笼和少模光纤环形器的少模光纤模式耦合测量装置,其特征在于:外腔激光器(102)用于发出中心波长λ为1550.16nm的连续光波,电光调制器(103)在任意函数发生器(104)的驱动下将所述外腔激光器(102)发出的连续光调制成重复频率F为1~100K、脉冲宽度T为10~1200ns、峰值功率P为10~40mw的光脉冲信号;光源(101)的尾纤(105)为单模光纤,仅支持基模一个模式,即LP01模。

4.如权利要求2所述的一种基于双光子灯笼和少模光纤环形器的少模光纤模式耦合测量装置,其特征在于:光源(101)的尾纤(105)通过与光子灯笼A(106)的第一尾纤(1061、

1062、1063、1064、1065……)连接,经LP01、LP11a、LP11b、LP21a、LP21b……输入端口进入光子灯笼A(106)进行空间模式转换,分别转换为相应的LP01、LP11a、LP11b、LP21a、LP21b……受激模式作为光脉冲信号的传输模式,再经光子灯笼A(106)的第二尾纤(107)输出,然后通过3端口少模光纤环形器(108)端口1的尾纤(1081)进入少模光纤环形器(108),经少模光纤环形器(108)端口2的尾纤(1082)输出进入被测光纤(109),在被测光纤(109)中,受激模式中传输的光脉冲信号耦合到不包括该受激模式在内的其它模式中,这种被耦合模式称之为非激发模式,受激模式和非受激模式在被测光纤(109)中分别产生的背向瑞利散射信号通过少模光纤环形器(108)端口2尾纤(1082)返回少模光纤环形器(108)并由端口3尾纤(1083)输出,然后通过光子灯笼B(111)的第二尾纤(110)进入光子灯笼B(111),光子灯笼B(111)对背向瑞利散射信号进行空间模式解复用,将各模式转换为LP01模后经与LP01、LP11a、LP11b、LP21a、LP21b……输出端口分别连接光子灯笼B(111)的第一尾纤(1111、1112、1113、1114、

1115……)进入到光电探测模块(112)的光电探测器(1121、1122、1123、1124、1125……)进行光电探测,光电探测模块(112)输出的多路电信号进入数据处理模块(113)进行数据处理,对受激模式及非受激模式LP01、LP11a、LP11b、LP21a、LP21b……的背向瑞利散射功率比值处理得到不同模式LP01、LP11a、LP11b、LP21a、LP21b……间的耦合系数。

5.如权利要求4所述的一种基于双光子灯笼和少模光纤环形器的少模光纤模式耦合测量装置,其特征在于:光子灯笼A(106)的第一尾纤(1061、1062、1063、1064、1065……)为单模光纤,仅支持基模一种模式,即LP01模;光子灯笼B(111)的第一尾纤(1111、1112、1113、

1114、1115……)为单模光纤,仅支持基模一种模式,即LP01模;光子灯笼A(106)的第二尾纤(107)为少模光纤,可支持多种模式;光子灯笼B(111)的第二尾纤(110)为少模光纤,可支持多种模式;少模光纤环形器(108)的尾纤(1081、1082、1083)为少模尾纤,可支持多种模式;

被测光纤(109)为少模光纤,可支持多种模式。

6.如权利要求4所述的一种基于双光子灯笼和少模光纤环形器的少模光纤模式耦合测量装置,其特征在于:3端口少模光纤环形器(108)尾纤(1081、1082、1083)、光子灯笼A(106)第二尾纤(107)、光子灯笼B(111)第二尾纤(110)之间相匹配,即纤芯直径、包层直径及所支持的模式数量一致,确保连接处产生的模式串扰值可忽略不计。

7.如权利要求4所述的一种基于双光子灯笼和少模光纤环形器的少模光纤模式耦合测量装置,其特征在于:光源(101)的尾纤(105)与光子灯笼A(106)的第一尾纤(1061、1062、

1063、1064、1065……)之间,光电探测器模块(112)尾纤与光子灯笼B(111)的第一尾纤(1111、1112、1113、1114、1115……)之间,均为FC-APC接头,其中连接点通过法兰盘进行连接,其连接损耗小于0.25dB;光子灯笼A(106)第二尾纤(107)、光子灯笼B(111)第二尾纤(110)、被测光纤(109)分别与3端口少模光纤环形器(108)尾纤(1081、1082、1083)进行熔接,其中连接点熔接方式采用中芯熔接,端面角度在±0.4°以内,熔接损耗应小于0.01dB,以确保熔接点处模式间串扰尽可能小。

8.如权利要求1所述的一种基于双光子灯笼和少模光纤环形器的少模光纤模式耦合测量装置,其特征在于:通过改变模式转换器光子灯笼A(106)、模式解复用器光子灯笼B(111)及3端口少模光纤环形器(108)所支持的模式数量,可以对支持任意模式的被测光纤(109)进行模式耦合测量。

9.如权利要求4所述的一种基于双光子灯笼和少模光纤环形器的少模光纤模式耦合测量装置,其特征在于:对于任一受激模式LPi的少模光纤模式耦合系数的测量,其模式耦合比为,

光电探测模块(112)输出的受激模式LPi和非受激模式LPj的背向瑞利散射功率分别为Pbs_i和Pbs_j,根据上式得到模式LPi与模式LPj之间的模式耦合系数hj,i;L为被测光纤(109)长度,K为常数,其值为模式耦合比线性拟合直线的截距;i,j代表光纤的模式标号,为01、

11a、11b、21a、21b……。