欢迎来到知嘟嘟! 联系电话:13336804447 卖家免费入驻,海量在线求购! 卖家免费入驻,海量在线求购!
知嘟嘟
我要发布
联系电话:13336804447
知嘟嘟经纪人
收藏
专利号: 2017102301030
申请人: 重庆丰之农农业开发有限公司
专利类型:发明专利
专利状态:已下证
专利领域: 农业;林业;畜牧业;狩猎;诱捕;捕鱼
更新日期:2024-06-11
缴费截止日期: 暂无
价格&联系人
年费信息
委托购买

摘要:

权利要求书:

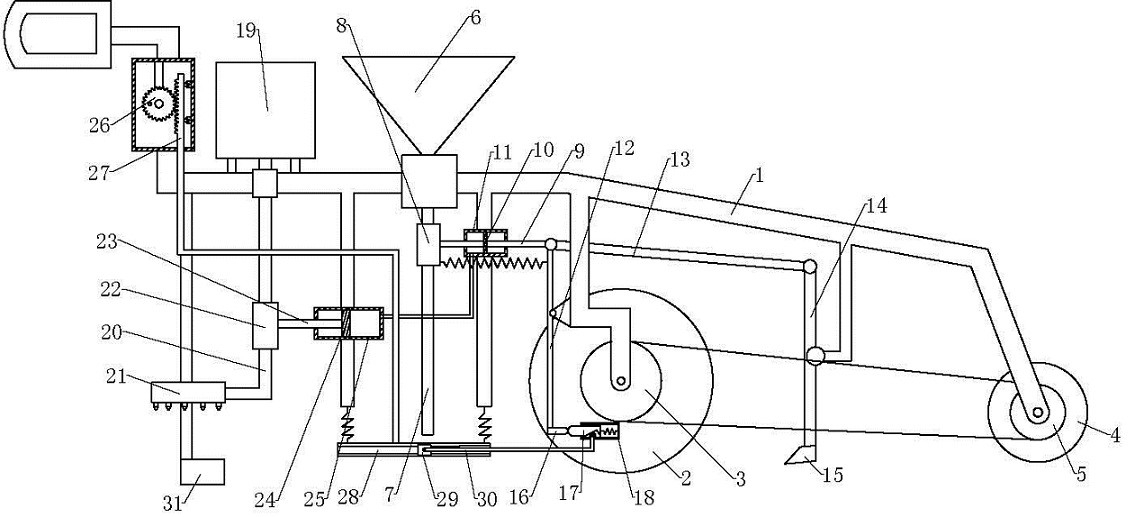
1.西瓜籽播种机,包括机架,所述机架上设有第一滚轮、螺旋滚筒、挖坑机构、埋土机构、水箱和进料漏斗,其特征在于,第一滚轮上同轴相连有第一滚轴,螺旋滚筒上同轴相连有第二滚轴,第一滚轴与第二滚轴之间张紧有皮带,进料漏斗上连有播种管,播种管上设有第一阀门,第一阀门内滑动连接有第一阀杆,第一阀杆中部连有第一活塞,机架上设有第一腔体和第三腔体,第一活塞滑动连接在第一腔体内,机架上铰接有摆杆,摆杆与第一阀门之间连有第一弹簧,摆杆的一侧与第一阀杆相连,摆杆的另一侧上连有抵杆,摆杆与第一阀杆相连的一侧铰接有第一连杆,第一连杆铰接有中部铰接在机架上的活动杆,活动杆上连有挖坑机构,第一滚轮上设有第二腔体,第二腔体内滑动设有抵块,抵块与腔体之间连有第二弹簧,抵块上设有楔面,所述抵块用于与抵杆相抵,所述机架上连有第三弹簧,第三弹簧上连有滑轨,滑轨内滑动相连有滑块,滑块上铰接有第二连杆,第二连杆上转动设有第二滚轮,第二滚轮与抵块的楔面相抵,所述机架上滑动设有齿条,齿条啮合有连接在机架上的齿轮,齿条与滑轨相连,水箱上连有洒水管,洒水管上设有第二阀门,第二阀门内滑动连有第二阀杆,第二阀杆上连有第二活塞,第二活塞滑动连接在第三腔体内,第三腔体远离第二阀杆的一侧与第一腔体靠近第一阀门的一侧连通。

2.根据权利要求1所述的西瓜籽播种机,其特征在于:所述抵杆的相抵面呈弧形,抵块为圆形块。

3.根据权利要求2所述的西瓜籽播种机,其特征在于:所述挖坑机构前端呈锥形。

4.根据权利要求3所述的西瓜籽播种机,其特征在于:所述埋土机构的前端为V型开口。

5.根据权利要求4所述的西瓜籽播种机,其特征在于:所述洒水管上连接有环形管,环形管周向上装有若干喷头。

6.根据权利要求5所述的西瓜籽播种机,其特征在于:所述机架上设有手柄。