欢迎来到知嘟嘟! 联系电话:13336804447 卖家免费入驻,海量在线求购! 卖家免费入驻,海量在线求购!
知嘟嘟
我要发布
联系电话:13336804447
知嘟嘟经纪人
收藏
专利号: 2017101866611
申请人: 中国矿业大学
专利类型:发明专利
专利状态:已下证
专利领域: 测量;测试
更新日期:2024-01-05
缴费截止日期: 暂无
价格&联系人
年费信息
委托购买

摘要:

权利要求书:

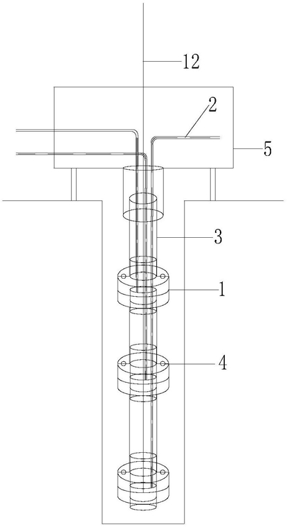
1.一种采动覆岩内部岩移监测系统,其特征在于:它包括设置在被测采动覆岩内部岩移区域地面钻孔中的多测点监测装置和设在地面上钻孔口处的监测箱(5);

所述多测点监测装置包括多段套管(3),套管(3)两端设有活动卡盘(1),套管(3)与套管(3)之间通过活动卡盘(1)相互连接,套管(3)内设有吊绳(14)和多根内通钢丝绳的多根PVC管(2),所述的多根PVC管(2)一端分别通过设在活动卡盘(1)上的中间通孔固定在两个活动卡盘(1)中间,构成测点,两个活动卡盘(1)之间通过紧固螺栓(4)连接紧固,多根PVC管(2)的另一端与监测箱(5)内部相连接;

所述监测箱(5)包括固定在采动覆岩内部岩移区域地面钻孔处的壳体,壳体内设有多个位移数据采集处理装置、基于GPRS传输网络短信发送单元(9)和蓄电池(11),其中位移数据采集处理装置包括顺序连接的位移数据采集单元(6)、位移传感器(7)和数据处理和分析单元(8),蓄电池(11)与位移数据采集处理装置和基于GPRS传输网络短信发送单元(9)相连接并为其供电,多根PVC管(2)中的钢丝绳的分别与位移数据采集单元(6)相连接。

2.如权利要求1所述的采动覆岩内部岩移监测系统,其特征在于:所述活动卡盘(1)为不锈钢材质,包括卡盘体,卡盘体中央设有通孔,背部为圆柱形,卡盘体上有螺纹孔,活动卡盘直径要比钻孔直径小8-9cm,中间通孔直径根据测点个数来确定。

3.如权利要求1或2所述的采动覆岩内部岩移监测系统,其特征在于:套管(3)选用PVC塑料管,抗拉强度低,易于随岩层移动而发生破坏,从而不影响内部岩移数据的测量,其内部直径要稍大于活动卡盘(1)中央通孔直径,布置在上下两个测点之间,实现与活动卡盘(1)间的密封,防止当全孔注浆时注浆浆液进入活动卡盘(1),影响各测点的准确测量。

4.如权利要求1所述的采动覆岩内部岩移监测系统,其特征在于:所述基于GPRS传输网络短信发送单元和收集单元为GSM模块,具体为西门子TC35I模块。

5.一种使用权利要求1所述采动覆岩内部岩移监测系统的检测方法,其特征在于步骤如下:

a. 在被测区域地面向采动覆岩垂直钻孔直至采场上方直接顶埋深所在位置,利用吊绳(12)将多测点监测装置放入钻孔,随着下放过程将内通钢丝绳的PVC管(2)固定在上下两个套管(3)的活动卡盘(1)之间,直至采场顶板覆岩主,亚关键层所在位置;

b. 利用注浆设备从钻孔底部由下至上进行注浆封孔,使各个测点与采动覆岩固结为一体,选用内径8mm、外径12mm、注浆压力为0.5-0.8Mpa的一次性注浆管,根据压力来调节注浆速度,并且应调整浆液浓度,加快浆液凝固时间;

c. 当采动覆岩内部岩层出现移动时,套管(3)随岩层移动而发生剪断和拉断,设置在套管(3)内与采动覆岩固结为一体的各个测点随岩层一起发生垂直运动或者水平运动,随即带动PVC管(2)中的钢丝绳发生相应的位移;

d. 利用位移数据经位移传感器(7)采集与其相连接的各个钢丝绳的位移信息,位移信息通过数据处理和分析单元(8)将计算出单位时间内岩层移动速度和准确位移值,再通过GPRS传输网络短信发送单元发送到具有短信接收单元的计算机数据处理中心(10),便可检测出采动覆岩内部岩移结果,并反馈到预警装置提醒工作人员,同时计算机数据处理中心也会将实时岩移数据传送到计算机云端,实现数据共享,方便远程管理中心对现场实施指导。

6.如权利要求5所述的检测方法,其特征在于:具有短信接收单元的计算机数据处理中心(10),分析和处理数据后反馈到预警装置,对实时采集的内部岩移数据监测和分析,在计算机中预先设置内部岩移范围参数,当具有短信接收单元的计算机数据处理中心(10)传来的内部岩移数据超过这个范围时,计算机便会发出报警提示。