欢迎来到知嘟嘟! 联系电话:13336804447 卖家免费入驻,海量在线求购! 卖家免费入驻,海量在线求购!
知嘟嘟
我要发布
联系电话:13336804447
知嘟嘟经纪人
收藏
专利号: 2017100739163
申请人: 大连交通大学
专利类型:发明专利
专利状态:已下证
专利领域: 测量;测试
更新日期:2024-01-05
缴费截止日期: 暂无
价格&联系人
年费信息
委托购买

摘要:

权利要求书:

1.一种测量系统,包括叶片待测点厚度检测装置;

所述的叶片待测点厚度检测装置为螺旋桨叶片厚度测量装置;

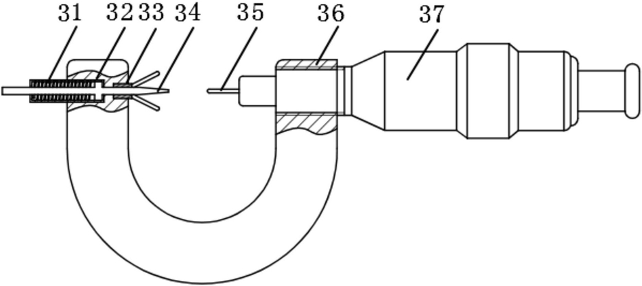
所述的螺旋桨叶片厚度测量装置包括U型附件(36);

所述U型附件(36)的两端分别为固定端和测量端;

U型附件(36)的固定端内侧设置有支脚(33),外侧设置有弹簧顶尖壳体(32);

所述的支脚(33)为三支腿支架,支脚(33)的三个支腿底部位于同一水平面A上,并且使三个支腿底部的连线为正三角形;

所述的弹簧顶尖壳体(32)内设置有弹簧顶尖(34),所述的弹簧顶尖(34)和弹簧顶尖壳体(32)内壁间设置有弹簧(31),使弹簧顶尖(34)前端能够穿过U型附件(36)的固定端,并伸出至支脚(33)的支腿底部;

所述弹簧顶尖(34)所在的轴线同支脚(33)支腿底部所在的水平面A垂直;

所述U型附件(36)的测量端可拆卸连接有螺旋测微器(37),螺旋测微器(37)的前端设置有下顶尖(35);

所述的弹簧顶尖(34)和下顶尖(35)同轴设置,并且尖部相对设置;

其特征在于:

还包括叶片待测点定位装置;

所述的叶片待测点定位装置包括对心立柱(1)、半导体激光发射器(2)、三爪卡盘(4)和旋转臂(5);

所述的三爪卡盘(4)中间夹设有螺旋桨(6),所述的三爪卡盘(4)上表面具有分度盘;

所述对心立柱(1)设置于三爪卡盘(4)外侧,所述的对心立柱(1)包括竖直设置的支撑部和水平设置的固定部;

所述对心立柱(1)固定部上设置有旋转臂(5),旋转臂(5)的中心同固定部转动连接,并且使旋转臂(5)的中心与螺旋桨(6)的叶片轴线同轴;

所述旋转臂(5)的端部设置有用于实时指示待测点位置的半导体激光发射器(2);

所述的叶片待测点厚度检测装置能够对半导体激光发射器(2)指示的待测点进行厚度测量;

所述弹簧顶尖(34)上靠近支脚(33)一侧设置有用于限位的环形突起,使弹簧(31)一端压靠于环形突起,另一端压靠于弹簧顶尖壳体(32)内壁;

螺旋测微器(37)的安装段外壁同U型附件(36)的测量端螺纹连接。

2.根据权利要求1所述的测量系统,其特征在于:所述对心立柱(1)的固定部同支撑部顶端垂直连接。

3.根据权利要求1所述的测量系统,其特征在于:当旋转臂(5)相对旋转臂(5)中心转动,半导体激光发射器(2)能够以R190圆周转动。

4.一种使用上述权利要求1‑3任意一项所述测量系统的测量方法,其特征在于包括以下步骤:S1、将螺旋桨(6)装夹于叶片待测点定位装置的三爪卡盘(4)上;

S2、旋转旋转臂(5),使半导体激光发射器(2)的光点落于螺旋桨(6)的叶片边缘,并在激光点处做标记,即待测点,C1点;

S3、将带分度盘的三爪卡盘(4),依次旋转16°,同理,在螺旋桨(6)的叶片表面标记待测点,C2点、C3点;

S4、使用叶片待测点厚度检测装置依次测量待测点,C1点、C2点、C3点的厚度值。

5.根据权利要求4所述的测量方法,其特征在于:S4的测量具体包括以下步骤:

S41、将弹簧顶尖(34)与待测点重合;

S42、调整支脚(33),使其稳定的支承于螺旋桨(6)的叶片曲面上;

S43、旋动螺旋测微器(37),使下顶尖(35)与叶片下表面紧密接触,读出读数;

S44、重复测量三次,记录数据,求平均值,作为该点的螺旋桨(6)叶片厚度。