欢迎来到知嘟嘟! 联系电话:13336804447 卖家免费入驻,海量在线求购! 卖家免费入驻,海量在线求购!
知嘟嘟
我要发布
联系电话:13336804447
知嘟嘟经纪人
收藏
专利号: 2017100605239
申请人: 浙江工业大学
专利类型:发明专利
专利状态:已下证
专利领域: 测量;测试
更新日期:2023-12-11
缴费截止日期: 暂无
价格&联系人
年费信息
委托购买

摘要:

权利要求书:

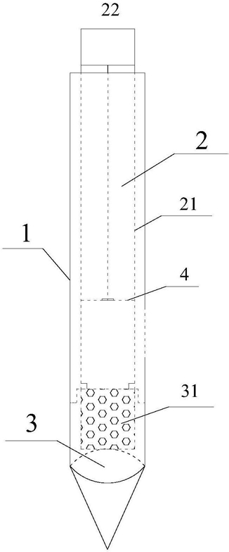
1.一种便携式土壤含水率测定仪,其特征在于:所述测定仪包括中空本体(1)、仪表装置(2)及锥形插件(3),所述的锥形插件(3)与中空本体(1)的下端成水密封固定连接,所述的仪表装置(2)可脱卸地固定在中空本体(1)远离锥形插件(3)的一方,所述的仪表装置(2)包括移动管套(21)、固定在移动管套上的位移传感器(22),所述的位移传感器(22)包括固定在移动管套上的位移传感器本体(221)、传感器数据连接线(222)、与传感器数据连接线连接的应变片(223),所述位移传感器本体(221)设有位移显示器和内置电源,所述的应变片固定在滑块(4)上,所述的滑块(4)与所述的移动管套(21)紧密配合;所述的中空本体(1)与锥形插件(3)连接的一端开设有样品通口(5),所述的移动管套(21)的底端超过所述的样品通口(5)最低处,所述的滑块设在所述的样品通口(5)最高处的上方;所述的锥形插件的上端部开设有膨润土贮存槽(31),所述锥形插件的底端成锥形,所述的膨润土贮存槽上端口与所述的中空本体成水密封紧密连接。

2.如权利要求1所述的便携式土壤含水率测定仪,其特征在于:所述位移传感器为小型激光测距传感器。

3.如权利要求1所述的便携式土壤含水率测定仪,其特征在于:所述内置电源为蓄电池。

4.如权利要求1所述的便携式土壤含水率测定仪,其特征在于:所述的膨润土贮存槽上端口设有固定移动管套的挡块(6)。