欢迎来到知嘟嘟! 联系电话:13336804447 卖家免费入驻,海量在线求购! 卖家免费入驻,海量在线求购!
知嘟嘟
我要发布
联系电话:13336804447
知嘟嘟经纪人
收藏
专利号: 2017100254849
申请人: 长安大学
专利类型:发明专利
专利状态:已下证
专利领域: 测量;测试
更新日期:2024-01-05
缴费截止日期: 暂无
价格&联系人
年费信息
委托购买

摘要:

权利要求书:

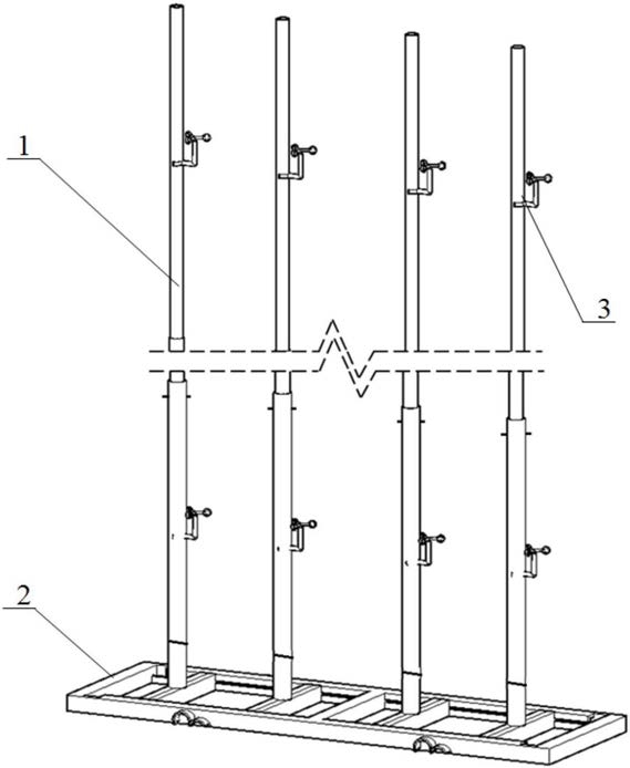
1.一种隧道断面风速测量装置,其特征在于,包括竖向测量杆(1),底座(2)和风速测量风杯(3),所述底座(2)包括框架(201),所述框架(201)的内侧面开设有滑槽,所述竖向测量杆(1)通过其底部设置的棱柱底座(101)滑动连接在底座(2)的滑槽中,所述风速测量风杯(3)固定设置在竖向测量杆(1)上。

2.根据权利要求1所述的一种隧道断面风速测量装置,其特征在于,所述竖向测量杆(1)为可伸缩杆。

3.根据权利要求2所述的一种隧道断面风速测量装置,其特征在于,所述竖向测量杆(1)为多节可抽出式,包括多级母管(103)和子管(104),母管上端设有固定孔(1032),子管下部固定设置有位置固定柱(1041),既作为母管又作为子管的管子上端设有固定孔(1032),下部固定设置有位置固定柱(1041),所述位置固定柱包括固定在子管内壁的卡位台(1031),卡位台(1031)下端固定连接有伸长柱(10412),所述伸长柱(10412)左右两侧对称设置有球顶可压缩柱(10413),所述球顶可压缩柱(10413)与固定孔(1032)配合实现子管位置的固定,所述球顶可压缩柱(10413)伸出时可固定子管位置,压回后可实现子管的收缩。

4.根据权利要求3所述的一种隧道断面风速测量装置,其特征在于,所述每个竖向测量杆(1)的其中一个母管上每间隔0.05m-0.1m设置一对固定孔(1032)。

5.根据权利要求1所述的一种隧道断面风速测量装置,其特征在于,所述竖向测量杆(1)与棱柱底座(101)之间设置有千斤顶(102)。

6.根据权利要求1所述的一种隧道断面风速测量装置,其特征在于,所述底座(2)包括框架(201)、车轮固定装置(202)和轮轴系统(203),所述轮轴系统(203)通过车轮固定装置(202)固定设置在框架(201)底部,所述轮轴系统(203)用于带动风速风量测量装置移动,其包括车轴和车轴两端的车轮(5)。

7.根据权利要求6所述的一种隧道断面风速测量装置,其特征在于,所述车轮固定装置(202)包括约束部和设置在约束部中的轴承(2024),所述约束部包括上约束部(2021)和下约束部(2022),所述上约束部(2021)和下约束部(2022)两端分别通过销钉(2025)铰接,所述上约束部(2021)固定在框架(201)上,当一端的交接点解除铰接时,下约束部(2022)可向侧上方旋转,并固定在框架(201)上,且下约束部(2022)的最低位置处不低于框架(201)的底端位置。

8.根据权利要求1所述的一种隧道断面风速测量装置,其特征在于,所述框架(201)的长轴(205)与短轴相接处的长轴内侧面设置有棱柱底座安装通道(204),所述棱柱底座(101)的两端设置有防止棱柱底座(101)滑出滑槽的约束头(106)。

9.根据权利要求1所述的一种隧道断面风速测量装置,其特征在于,所述风速测量风杯(3)通过卡扣(302)固定在竖向测量杆(1)上。

10.一种隧道断面风速测量点位置计算方法,其特征在于,采用切贝且夫法计算测量点的位置,测量点位置由下述公式计算所得:对隧道中风的流速采用切贝且夫多项式Tn(x)逼近其真实函数f(x),Tn+1(x)=cos((n+1)arccosx)

x∈C[-1,1],令x=cosθ,则有θ∈C[0,π],则n+1阶切贝且夫多项式:Tn+1(x)=cos((n+1)θ)

代入cosθ=x得:

Tn+1(x)=cos((n+1)arccosx)

即切贝且夫结点:

通过下式将x∈[-1,1]转换到一般的t∈[a,b]上:式中:x,t—变量,

则差值节点为:

差值节点即为测点的横坐标,

式中:xi—测线的横坐标;

a—测量范围的初始值,本次测试中为0;

b—测量范围的终止值,本次测量中为隧道宽度l;

i—测点序号;

n—测点总数减1,

测点的纵坐标计算方法和横坐标计算方法相同:

式中:yi—测线的纵坐标;

a—测量范围的初始值,本次测试中为0;

b—测量范围的终止值,本次测量中为测线高度h;

i—测点序号;n—测点总数减1。