欢迎来到知嘟嘟! 联系电话:13336804447 卖家免费入驻,海量在线求购! 卖家免费入驻,海量在线求购!
知嘟嘟
我要发布
联系电话:13336804447
知嘟嘟经纪人
收藏
专利号: 2017100025089
申请人: 西南交通大学
专利类型:发明专利
专利状态:已下证
专利领域: 测量;测试
更新日期:2024-01-05
缴费截止日期: 暂无
价格&联系人
年费信息
委托购买

摘要:

权利要求书:

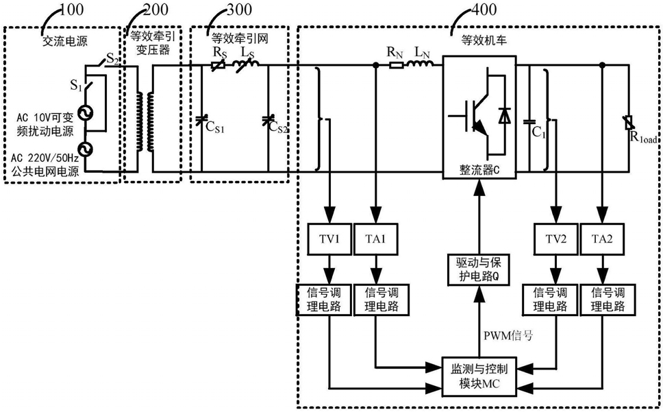
1.一种车-网耦合的实验平台,其特征在于,由交流电源(100)、等效牵引变压器(200)、等效牵引网(300)和等效机车(400)构成;其中,交流电源(100)通过开关一S1、开关二S2向等效牵引变压器(200)的输入端选择性提供包含或者不包含10V/可变频扰动电源的220V/

50Hz公共电网电源,220V/50Hz公共电网电源与10V/可变频的扰动电源串联,开关一S1控制扰动电源的投切,开关二S2控制整个交流电源(100)的投切,10V/可变频的扰动电源作为激励源在测量机车阻抗频率特性以及牵引网阻抗频率特性时使用;所述的等效牵引变压器(200)是变比可调的单相隔离变压器,其输出端接入到等效牵引网(300);等效牵引网(300)由可调电阻RS、可调电感LS、可调电容CS1,CS2组成,可调电阻RS与可调电感LS串联,该串联结构两端分别并联可调电容器CS1和CS2,可调电阻和可调电容器共同构成一个谐振频率、谐振峰值、谐振点数目均可调的双峰谐振电路;

等效机车(400)由整流器C、连接电感LN、连接电阻RN、支撑电容C1、可调负载电阻Rload、电压传感器TV1、TV2、电流传感器TA1、TA2、信号调理电路、监测与控制模块MC和驱动与保护电路Q构成;其中,连接电感LN和电阻RN串接于等效牵引网(300)与整流器C交流输入端之间;支撑电容C1并联于整流器C直流输出端;可调负载电阻Rload与支撑电容C1并联;电压传感器TV1并联于整流器C交流输入端,用于测量输入等效机车(400)的交流电压;电流传感器TA1串联于等效牵引网(300)与整流器C之间,用于测量流入整流器C的交流电流;电压传感器TV2并联于整流器C直流输出端,用于测量整流器C输出的直流电压;电流传感器TA2串联于整流器C与可调负载电阻Rload之间,用于测量整流器C输出的直流电流;监测与控制模块MC通过信号调理电路测量来自电压传感器TV1、TV2和电流传感器TA1、TA2的电压、电流信号。

2.根据权利要求1所述的一种车-网耦合的实验平台,所述的监测与控制模块MC由微处理器实现,微处理器根据电压传感器TV1、TV2和电流传感器TA1、TA2的电压、电流信号,采用瞬态电流控制算法,通过调制产生PWM信号并输入驱动与保护电路Q,完成对整流器C的闭环控制。

3.一种车-网耦合的实验平台的试验方法,采用权利要求1或2所述的实验平台实现谐波谐振、谐波不稳定、低频网压振荡等牵引供电电能质量问题的重现,包含如下的主要步骤:

a、调参:调节等效牵引网(300)参数(如电阻RS、电感LS、电容CS1,CS2)与等效机车(400)整流器C控制参数(如:PI控制器、电流环、电压环、锁相环、时间延迟等)于发生谐波谐振(或者谐波不稳定、或者低频网压振荡)现象的理论值附近;

b、试验:闭合开关二S2,启动系统,同时通过测试设备同步显示和储存牵引网电压、电流信号,观察是否发生谐波谐振(或者谐波不稳定、或者低频网压振荡)现象。若未出现这些现象,则微调等效牵引网(300)参数和整流器C控制参数,重复试验,直到出现这些现象;

c、机车/牵引网阻抗频率特性测试:闭合开关二S2,启动系统,当等效牵引网(300)电压、电流信号稳定后闭合开关一S1,为系统注入幅值为10V,频率可变的扰动源,采集开关一S1闭合前后的电压、电流波形,通过波动量法计算机车/牵引网阻抗频率特性。

4.根据权利要求3所述的车-网耦合的实验平台的试验方法,其特征在于,所述调参步骤中等效机车(400)整流器C控制参数包含PI控制器、电流环、电压环、锁相环、时间延迟等参数;所述的牵引供电电能质量问题包括谐波谐振、谐波不稳定、低频网压振荡等问题。