欢迎来到知嘟嘟! 联系电话:13336804447 卖家免费入驻,海量在线求购! 卖家免费入驻,海量在线求购!
知嘟嘟
我要发布
联系电话:13336804447
知嘟嘟经纪人
收藏
专利号: 2017100017504
申请人: 安徽工业大学
专利类型:发明专利
专利状态:已下证
专利领域: 铁的冶金
更新日期:2024-01-05
缴费截止日期: 暂无
价格&联系人
年费信息
委托购买

摘要:

权利要求书:

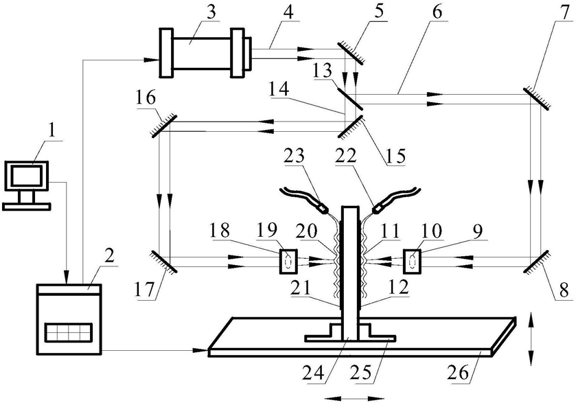
1.一种基于激光冲击波技术改变裂纹扩展路径的方法,其特征在于该方法的具体步骤如下:

(1)微裂纹在薄板类的金属构件(24)上形成以后,在循环疲劳载荷的作用下,裂纹容易在应力较大或疲劳强度较低的区域扩展,通过计算分析,确定裂纹扩展方向;

(2)根据裂纹扩展方向,在裂纹的前端和应力较大的一侧,确定激光冲击强化的位置,并对所述金属构件(24)两侧待强化处理区域表面进行脱脂、去污、打磨、清洗并干燥;

(3)在所述金属构件(24)两侧待强化处理区域上分别涂覆黑漆作为激光的第一能量吸收层(12)及第二能量吸收层(21),然后将带有能量吸收层的所述金属构件(24)装夹在夹具(25)上,所述夹具(25)固定在工作台(26)上;

(4)通过控制器(2)调整所述工作台(26)的位置,使所述金属构件(24)两侧待强化区域分别对着第一激光冲击头(9)和第二激光冲击头(18);然后打开第一喷水头(22)和第二喷水头(23),流水在所述金属构件(24)的两侧形成第一约束层(11)和第二约束层(20);

(5)受控的激光发生器(3)发出脉宽为ns量级、单脉冲能量为2-100J、功率密度为GW/cm2量级的主激光脉冲束(4),所述主激光脉冲束(4)被第一全反镜(5)反射及经过分光镜(13)后被分成两束光学特征完全相同的分激光脉冲束:第一分激光脉冲束(6)和第二分激光脉冲束(14),所述第一分激光脉冲束(6)依次被第二全反镜(7)、第三全反镜(8)反射后到达所述第一激光冲击头(9),经过第一聚焦透镜(10)会聚后,透过所述第一约束层(11)辐照在所述第一能量吸收层(12)上;所述第二分激光脉冲束(14)依次被第四全反镜(15)、第五全反镜(16)和第六全反镜(17)反射后到达所述第二激光冲击头(18),经过第二聚焦透镜(19)会聚后,透过所述第二约束层(20)辐照在所述第二能量吸收层(21)上;所述第一能量吸收层(12)和所述第二能量吸收层(21)分别吸收所述第一分激光脉冲束(6)和所述第二分激光脉冲束(14)能量后形成GPa量级的高压冲击波,高压冲击波作用在所述金属构件(24)两侧表面,使所述金属构件(24)两侧受冲击区域的表层产生塑性强化,完成对所述金属构件(24)两侧的单次强化处理;

(6)所述单次强化处理后,控制器(2)使所述工作台(26)上下或前后移动位置,改变所述金属构件(24)的位置,以控制下一个相邻光斑的强化位置,所述金属构件(24)新的位置确定后,所述激光发生器(3)再发出所述主激光脉冲束(4)以进行下次的冲击强化,所述主激光脉冲束(4)的参数及频率受所述控制器(2)控制;依次完成多个位置的多次强化,以完成所述金属构件(24)待冲击处理表面的强化;

(7)冲击强化完毕后,先关闭所述激光发生器(3),随后关闭所述控制器(2),关闭所述第一喷水头(22)和所述第二喷水头(23),将所述金属构件(24)从所述夹具(25)上取下来。

2.一种基于激光冲击波技术改变裂纹扩展路径的装置,其特征在于该装置包括激光发生器(3)、导光分光系统、喷水系统、工件夹具系统及控制系统;所述导光分光系统包括主激光脉冲束(4)、第一分激光脉冲束(6)、第二分激光脉冲束(14)、第一全反镜(5)、分光镜(13)、第二全反镜(7)、第三全反镜(8)、第四全反镜(15)、第五全反镜(16)、第六全反镜(17)、第一激光冲击头(9)、第二激光冲击头(18)、第一聚焦透镜(10)和第二聚焦透镜(19),所述主激光脉冲束(4)经过所述第一全反镜(5)及所述分光镜(13)后被分成两束完全相同的所述第一分激光脉冲束(6)和所述第二分激光脉冲束(14),所述第一分激光脉冲束(6)和第二分激光脉冲束(14)的能量分别为所述主激光脉冲束(4)的二分之一,所述第一分激光脉冲束(6)和所述第二分激光脉冲束(14)的波长、频率与所述主激光脉冲束(4)的波长、频率相同,所述第一激光冲击头(9)与所述第二激光冲击头(18)对称设置在金属构件(24)的两侧,所述第一聚焦透镜(10)位于所述第一激光冲击头(9)内,所述第二聚焦透镜(19)位于所述第二激光冲击头(18)内;所述喷水系统包括第一喷水头(22)及第二喷水头(23),提供流水作为激光冲击强化所述金属构件(24)的第一约束层(11)、第二约束层(20),所述第一喷水头(22)和所述第二喷水头(23)的水流速度相同,分别在所述金属构件(24)的两侧形成厚度为2mm的流动的水帘,且流水完全覆盖所述金属构件(24)待强化区域;所述工件夹具系统包括工作台(26)、金属构件(24)、夹具(25)、第一能量吸收层(12)及第二能量吸收层(21),所述金属构件(24)固定在夹具(25)上,所述夹具(25)固定在工作台(26)上,所述工作台(26)能够上下、前后移动,所述第一能量吸收层(12)及第二能量吸收层(21)分别涂覆在所述金属构件(24)的两侧,所述第一能量吸收层(12)及第二能量吸收层(21)的厚度为

0.05mm;所述控制系统包括计算机(1)及控制器(2),控制信息由所述计算机(1)输入并传递给所述控制器(2),所述控制器(2)通过数据线分别连接所述激光发生器(3)和所述工作台(26),所述控制器(2)用于控制所述激光发生器(3)发出的所述主激光脉冲束(4)的参数及控制所述工作台(26)的移动速度和位置。