欢迎来到知嘟嘟! 联系电话:13336804447 卖家免费入驻,海量在线求购! 卖家免费入驻,海量在线求购!
知嘟嘟
我要发布
联系电话:13336804447
知嘟嘟经纪人
收藏
专利号: 2016212206122
申请人: 绍兴职业技术学院
专利类型:实用新型
专利状态:已下证
专利领域: 建筑物
更新日期:2023-08-24
缴费截止日期: 暂无
价格&联系人
年费信息
委托购买

摘要:

权利要求书:

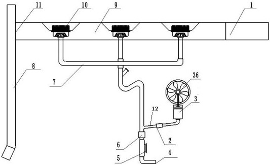
1.一种海绵城市虹吸排水的屋顶,其特征在于:包括天沟,所述天沟的侧壁设有溢流口,所述溢流口安装有溢流管,所述的天沟内安装有若干个虹吸雨水斗,所述的虹吸雨水斗连接有带排水口的管道,所述的管道上设有第二单向阀和支管,所述的支管位于第二单向阀的上方,支管上安装有第一单向阀和负压装置,所述的负压装置位于支管的端部。

2.如权利要求1所述海绵城市虹吸排水的屋顶,其特征在于:所述的负压装置包括带有活塞的负压腔,所述的活塞上连接有拉杆,所述的拉杆连接有曲轴,所述曲轴上安装有风机,所述的风机设有叶片,所述拉杆与曲轴的连接处安装有连接套。

3.如权利要求2所述海绵城市虹吸排水的屋顶,其特征在于:所述的负压腔经螺栓固定在房屋外墙支架上。

4.如权利要求1所述海绵城市虹吸排水的屋顶,其特征在于:所述溢流管的出水口的高度距离地面0.2-0.3m。

5.如权利要求1所述海绵城市虹吸排水的屋顶,其特征在于:所述管道上设有检修口,所述的检修口位于第二单向阀和排水口之间。

6.如权利要求1所述海绵城市虹吸排水的屋顶,其特征在于:所述的排水口伸入外部的排水管道内。

7.如权利要求1所述海绵城市虹吸排水的屋顶,其特征在于:所述的溢流管通过螺栓固定连接在房屋的外墙上。