欢迎来到知嘟嘟! 联系电话:13336804447 卖家免费入驻,海量在线求购! 卖家免费入驻,海量在线求购!
知嘟嘟
我要发布
联系电话:13336804447
知嘟嘟经纪人
收藏
专利号: 2016207018640
申请人: 浙江亚厦装饰股份有限公司
专利类型:实用新型
专利状态:已下证
专利领域: 建筑物
更新日期:2023-08-24
缴费截止日期: 暂无
价格&联系人
年费信息
委托购买

摘要:

权利要求书:

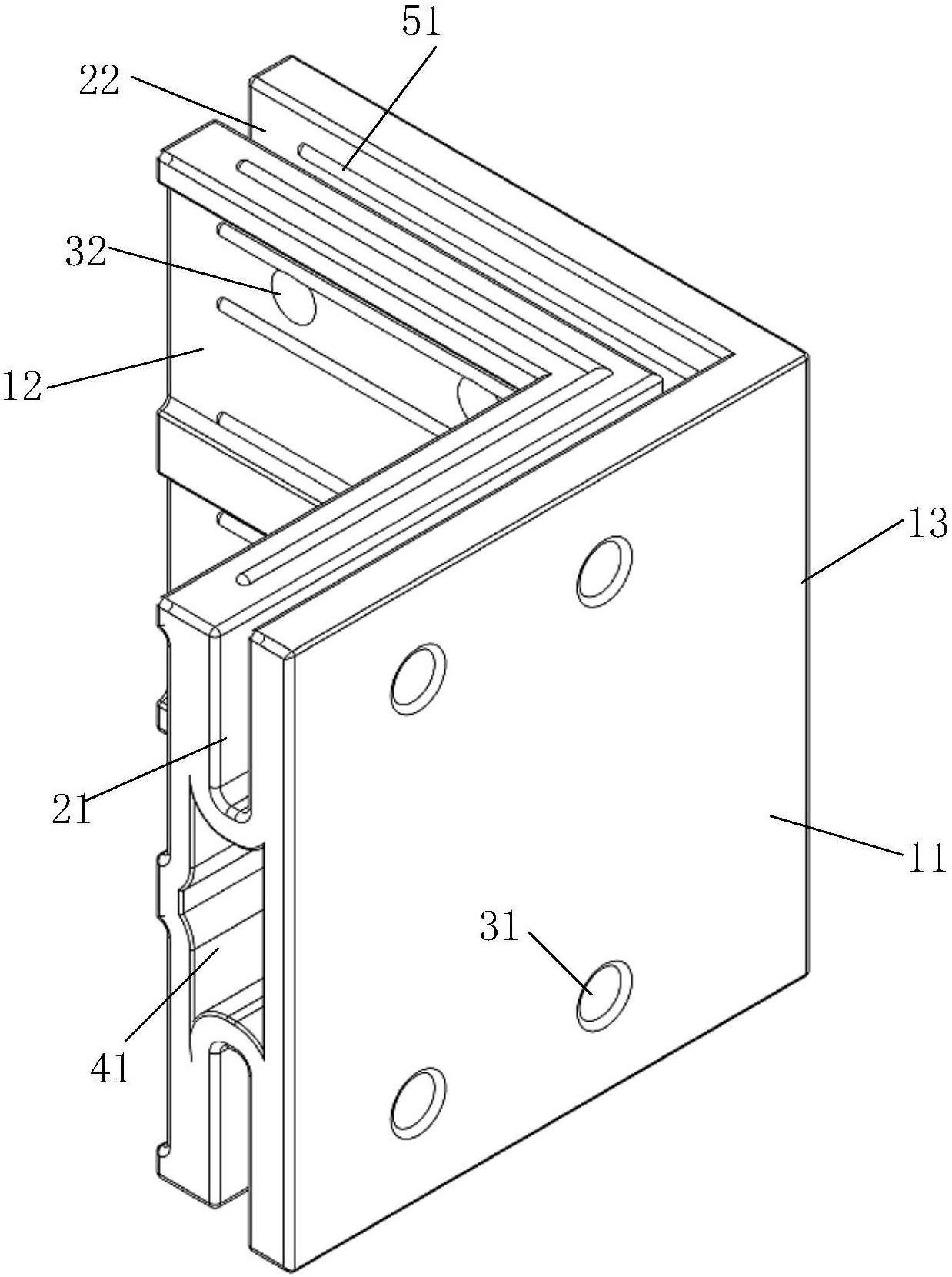
1.一种转角连接装置,其特征在于,所述转角连接装置包括第一连接板和第二连接板,所述第一连接板与所述第二连接板拼接,并在拼接处形成交界线;所述第一连接板上垂直于所述交界线的两个侧面上均开设有贯通所述第一连接板的第一条形槽,所述第一条形槽沿平行于所述第一连接板的方向延伸设置;所述第二连接板上垂直于所述交界线的两个侧面上均开设有贯通所述第二连接板的第二条形槽,所述第二条形槽沿平行于所述第二连接板的方向延伸设置;所述第一连接板上设置有一个或多个第一螺钉孔,所述第一螺钉孔的轴向垂直于所述第一连接板;所述第二连接板上设置有一个或多个第二螺钉孔,所述第二螺钉孔的轴向垂直于所述第二连接板。

2.根据权利要求1所述的转角连接装置,其特征在于,所述第一连接板和所述第二连接板垂直。

3.根据权利要求2所述的转角连接装置,其特征在于,所述第一条形槽和所述第二条形槽相通。

4.根据权利要求3所述的转角连接装置,其特征在于,所述第一连接板上设置有第一减重孔,所述第一减重孔沿平行于所述第一连接板的方向延伸设置,并且所述第一减重孔位于两个所述第一条形槽之间;所述第二连接板上设置有第二减重孔,所述第二减重孔沿平行于所述第二连接板的方向延伸设置,并且所述第二减重孔位于两个所述第二条形槽之间。

5.根据权利要求4所述的转角连接装置,其特征在于,所述第一条形槽和所述第二条形槽的内壁上均设置有凸筋。

6.根据权利要求5所述的转角连接装置,其特征在于,位于所述第一条形槽中的所述凸筋沿所述第一条形槽的长度方向延伸设置,位于所述第二条形槽中的所述凸筋沿所述第二条形槽的长度方向延伸设置。

7.根据权利要求1-6中任意一项所述的转角连接装置,其特征在于,所述第一螺钉孔贯通所述第一条形槽上相对设置的两个槽壁;所述第二螺钉孔贯通所述第二条形槽上相对设置的两个槽壁。

8.根据权利要求1-6中任意一项所述的转角连接装置,其特征在于,所述第一条形槽上相对设置的两个槽壁的厚度相等,所述第二条形槽上相对设置的两个槽壁的厚度相等。

9.一种阳角组件,其特征在于,所述阳角组件包括第一饰板、第二饰板、第一龙骨和第二龙骨,还包括如权利要求1-8中任意一项所述的转角连接装置;所述第一龙骨上设置有两个第一卡接边,所述第二龙骨上设置有两个第二卡接边,两个所述第一卡接边分别卡接在两个所述第一条形槽中,两个所述第二卡接边分别卡接在两个所述第二条形槽中;所述第一饰板贴合连接在所述第一龙骨上背向所述第一连接板的表面上,所述第二饰板贴合连接在所述第二龙骨上背向所述第二连接板的表面上;所述第一饰板的一边与所述第二饰板的一边抵接,所述交界线位于所述第一饰板与所述第二饰板形成的夹角内。

10.一种阴角组件,其特征在于,所述阴角组件包括第一饰板、第二饰板、第一龙骨和第二龙骨,还包括如权利要求1-8中任意一项所述的转角连接装置;所述第一龙骨上设置有两个第一卡接边,所述第二龙骨上设置有两个第二卡接边,两个所述第一卡接边分别卡接在两个所述第一条形槽中,两个所述第二卡接边分别卡接在两个所述第二条形槽中;所述第一饰板贴合连接在所述第一龙骨上背向所述第一连接板的表面上,所述第二饰板贴合连接在所述第二龙骨上背向所述第二连接板的表面上;所述第一饰板的一边与所述第二饰板的一边抵接,所述交界线位于所述第一饰板与所述第二饰板形成的夹角外。