欢迎来到知嘟嘟! 联系电话:13336804447 卖家免费入驻,海量在线求购! 卖家免费入驻,海量在线求购!
知嘟嘟
我要发布
联系电话:13336804447
知嘟嘟经纪人
收藏
专利号: 2016205037596
申请人: 衢州职业技术学院
专利类型:实用新型
专利状态:无效专利
专利领域: 一般门、窗、百叶窗或卷辊遮帘;梯子
更新日期:2023-08-24
缴费截止日期: 暂无
价格&联系人
年费信息
委托购买

摘要:

权利要求书:

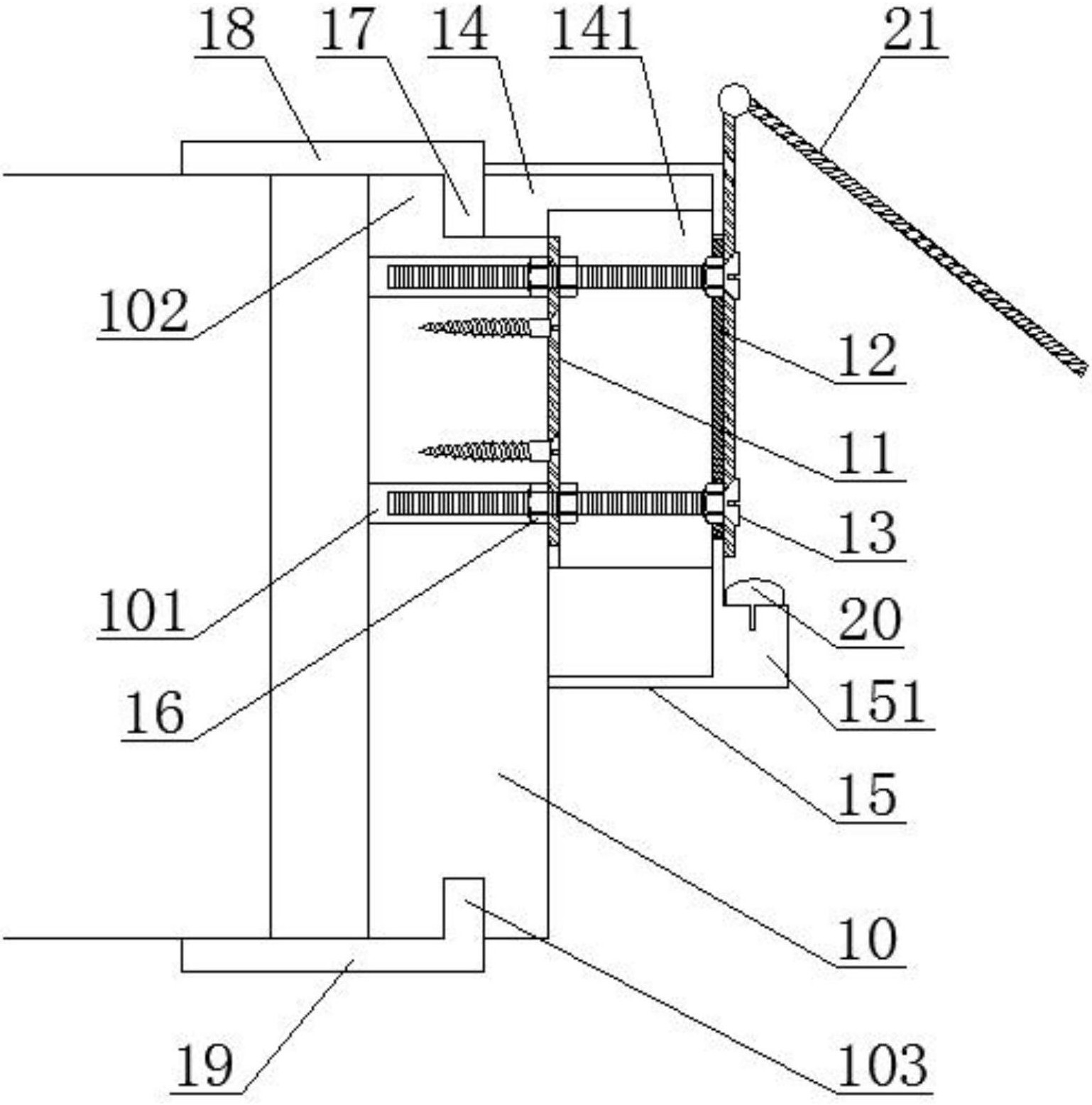
1.间距可调的门框套,其特征在于:包括基板(10)、第一连接板(11)、第二连接板(12)、螺杆(13),基板(10)上设有固定块(14),固定块(14)与基板(10)固定连接,固定块(14)内设有腔体(141),第一连接板(11)穿过腔体(141)固定在基板(10)上,螺杆(13)一端穿过第一连接板(11)与基板(10)固定连接,螺杆(13)另一端与第二连接板(12)固定连接,固定块(14)外包裹有固定套(15)。

2.根据权利要求1所述的间距可调的门框套,其特征在于:螺杆(13)穿过第一连接板(11)后,第一连接板(11)两侧均连接有螺帽(16),基板(10)上设有第一通孔(101),第一通孔(101)的直径大于螺帽(16)的外径。

3.根据权利要求1所述的间距可调的门框套,其特征在于:第一连接板(11)和第二连接板(12)均为金属板。

4.根据权利要求1所述的间距可调的门框套,其特征在于:基板(10)外侧壁上设有第一凸台(102),基板(10)内侧壁上设有第一凹槽(103),固定块(14)一端内侧壁与基板(10)外侧壁固定连接,固定块(14)与第一凸台(102)形成第二凹槽(17),固定块(14)另一端底面与基板(10)上端面固定连接。

5.根据权利要求4所述的间距可调的门框套,其特征在于:包括第一门框线(18)和第二门框线(19),第一门框线(18)与第一凹槽(103)卡合连接,第二门框线(19)与第二凹槽(17)卡合连接。

6.根据权利要求1所述的间距可调的门框套,其特征在于:固定套(15)一端部设有第二凸台(151),第二凸台(151)外侧设有密封条(20)。

7.根据权利要求1所述的间距可调的门框套,其特征在于:第二连接板(12)上设有合页(21),第二连接板(12)与合页(21)通过螺杆(13)固定连接。