欢迎来到知嘟嘟! 联系电话:13336804447 卖家免费入驻,海量在线求购! 卖家免费入驻,海量在线求购!
知嘟嘟
我要发布
联系电话:13336804447
知嘟嘟经纪人
收藏
专利号: 2016112668982
申请人: 陕西师范大学
专利类型:发明专利
专利状态:已下证
专利领域: 水、废水、污水或污泥的处理
更新日期:2024-01-05
缴费截止日期: 暂无
价格&联系人
年费信息
委托购买

摘要:

权利要求书:

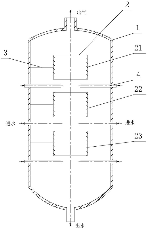
1.一种多级撞击流式环流反应器,包括环流器(1),环流器(1)的顶部开有出气口、底部开有出水口,其特征在于:在环流器1外部设置有2~6个末端延伸至环流器(1)内中心位置的多级Y型喷嘴(4),在多级Y型喷嘴(4)的出口端上方设置有导流筒组(2),使分布在同一圆周上的多级Y型喷嘴(4)所出射的流体可在对应导流筒组(2)的中心轴上形成撞击流;

所述多级Y型喷嘴(4)包括主喷管(41)以及串接在主喷管(41)出口端的n级支管组,n=

1,2,3;每级支管组包括并列设置的2~4个呈扩散型分布的支管,最末端的一级支管延伸至导流筒底部。

2.根据权利要求1所述的多级撞击流式环流反应器,其特征在于:所述多级Y型喷嘴(4)出口端与对应导流筒的中心轴之间的水平距离是20~40mm。

3.根据权利要求2所述的多级撞击流式环流反应器,其特征在于所述多级Y型喷嘴(4)第n级的支管横截面S与第n+1级的支管横截面s之间满足:S=9~12s。

4.根据权利要求1所述的多级撞击流式环流反应器,其特征在于:第n级的支管中心线与第n-1级的支管中心线之间形成5~30°的夹角。

5.根据权利要求1所述的多级撞击流式环流反应器,其特征在于:所述第m级的支管所在平面与第m+1级的支管所在平面是在同一个平面上,n≥m≥1。

6.根据权利要求1所述的多级撞击流式环流反应器,其特征在于:所述第m级的支管所在平面与第m+1级的支管所在平面分布在两个交叉的平面上且夹角小于90°,n≥m≥1。

7.根据权利要求1~6任一项所述的多级撞击流式环流反应器,其特征在于:所述导流筒组(2)是由自上而下沿着环流器(1)的中心轴分布的多个导流筒组成,且一个导流筒与相邻一个导流筒之间的高度差为100~200mm。

8.根据权利要求7所述的多级撞击流式环流反应器,其特征在于:所述多级Y型喷嘴(4)是相对设置的偶数个,每个多级Y型喷嘴(4)的第n级支管组包括x个支管,分布在环流器(1)两侧的x个支管的出口端两两相对并分别延伸至对应导流筒的底部,并在导流筒的中心轴上产生碰撞。

9.根据权利要求1所述的多级撞击流式环流反应器,其特征在于:所述导流筒组(2)是由1~4个阵列分布的导流筒组成,每个导流筒的中心轴与环流器(1)的中心轴平行。