欢迎来到知嘟嘟! 联系电话:13336804447 卖家免费入驻,海量在线求购! 卖家免费入驻,海量在线求购!
知嘟嘟
我要发布
联系电话:13336804447
知嘟嘟经纪人
收藏
专利号: 2016111837983
申请人: 嘉善弘欣化工厂(普通合伙)
专利类型:发明专利
专利状态:已下证
专利领域: 测量;测试
更新日期:2025-07-02
缴费截止日期: 暂无
价格&联系人
年费信息
委托购买

摘要:

权利要求书:

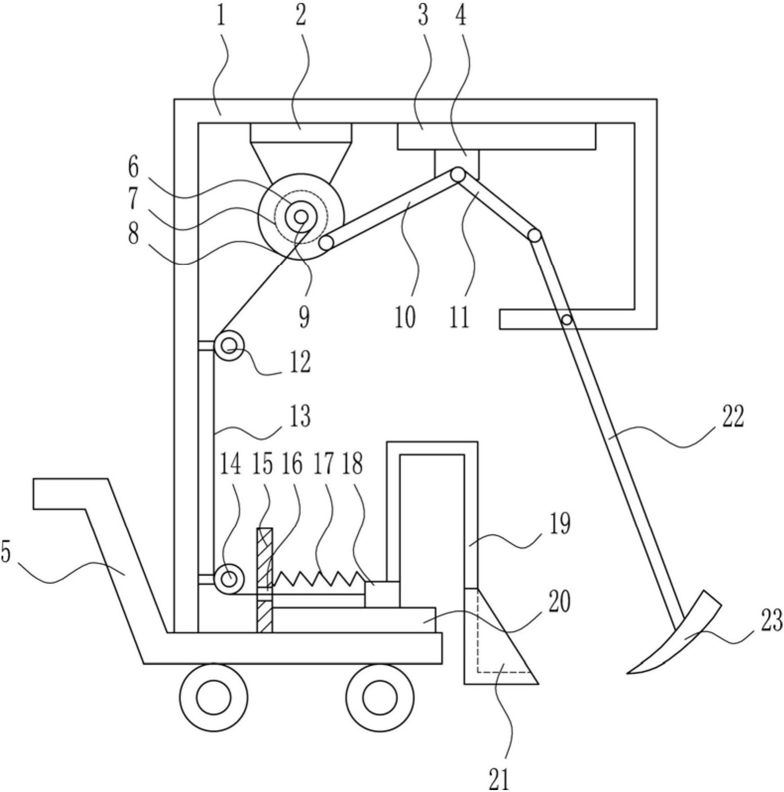
1.一种资源化技术矿石勘测用取样装置,其特征在于,包括有支架(1)、连接座(2)、第一滑轨(3)、第一滑块(4)、推车(5)、绕线轮(6)、旋转电机(7)、圆盘(8)、转轴(9)、第一摆动杆(10)、第二摆动杆(11)、第一定滑轮(12)、拉线(13)、第二定滑轮(14)、导向板(15)、弹簧(17)、第二滑块(18)、连杆(19)、第二滑轨(20)、取样斗(21)、第三摆动杆(22)和铲子(23);

推车(5)顶部从左至右依次设有支架(1)、导向板(15)和第二滑轨(20),导向板(15)位于第二滑轨(20)左侧,导向板(15)上开有导向孔(16),第二滑轨(20)上设有第二滑块(18),第二滑块(18)顶部右侧设有连杆(19),连杆(19)下端设有取样斗(21),第二滑块(18)左侧与导向板(15)右侧之间连接有弹簧(17),支架(1)内左壁设有第一定滑轮(12)和第二定滑轮(14),第一定滑轮(12)位于第二定滑轮(14)上方,支架(1)内顶部设有连接座(2)和第一滑轨(3),连接座(2)上设有旋转电机(7),旋转电机(7)前端设有转轴(9),转轴(9)上设有圆盘(8)和绕线轮(6),圆盘(8)位于绕线轮(6)后方,绕线轮(6)上绕有拉线(13),拉线(13)依次绕过第一定滑轮(12)和第二定滑轮(14),拉线(13)穿过导向孔(16),拉线(13)末端与第二滑块(18)左侧连接,拉线(13)位于弹簧(17)下方,圆盘(8)上铰接连接有第一摆动杆(10),第一滑轨(3)上设有第一滑块(4),第一摆动杆(10)右端与第一滑块(4)铰接连接,第一滑块(4)上铰接连接有第二摆动杆(11),第一摆动杆(10)和第二摆动杆(11)复合铰接连接,第二摆动杆(11)右端铰接连接有第三摆动杆(22),第三摆动杆(22)与支架(1)铰接连接,第三摆动杆(22)下端设有铲子(23),铲子(23)位于取样斗(21)右方;还包括有第一限位块(24),第一滑轨(3)底部右侧设有第一限位块(24),第一限位块(24)位于第一滑块(4)右方;还包括有挂钩(25),挂钩(25)的正面形状为V形;

还包括有气缸(26)和压块(27),推车(5)底部中间设有气缸(26),气缸(26)下端连接有压块(27);还包括有第二限位块(28),第二滑轨(20)顶部右侧设有第二限位块(28),第二限位块(28)位于第二滑块(18)右方;

还包括有第一加强筋(29),连杆(19)内顶部右侧设有第一加强筋(29),第一加强筋(29)左端与连杆(19)内左壁连接;

还包括有第二加强筋(30),支架(1)上设有第二加强筋(30),第二加强筋(30)上端与支架(1)内右壁连接。

2.根据权利要求1所述的一种资源化技术矿石勘测用取样装置,其特征在于,所述的第

一限位块(24)的立体形状为长方体形,第一限位块(24)的长度为5cm,第一限位块(24)的宽度为3cm,第一限位块(24)的高度为4cm。

3.根据权利要求1所述的一种资源化技术矿石勘测用取样装置,其特征在于,所述的挂

钩(25)的侧面形状为长方形,挂钩(25)的长度为10cm,挂钩(25)的宽度为5cm,挂钩(25)的高度为10cm,挂钩(25)的材质为Q235钢。

4.根据权利要求1所述的一种资源化技术矿石勘测用取样装置,其特征在于,所述的气

缸(26)的形状为圆柱体型,压块(27)的形状为四棱台,压块(27)底面的长度为20cm,压块(27)底面的宽度为15cm,压块(27)的高度为10cm。

5.根据权利要求1所述的一种资源化技术矿石勘测用取样装置,其特征在于,所述的第

二限位块(28)的立体形状为长方体形,第二限位块(28)的长度为5cm,第二限位块(28)的宽度为3cm,第二限位块(28)的高度为4cm。

6.根据权利要求1所述的一种资源化技术矿石勘测用取样装置,其特征在于,所述的第

一加强筋(29)的立体形状为长方体形,第一加强筋(29)与连杆(19)左壁之间的夹角为45°。

7.根据权利要求1所述的一种资源化技术矿石勘测用取样装置,其特征在于,所述的第

二加强筋(30)的立体形状为长方体形,第二加强筋(30)与支架(1)内右壁之间的夹角为

60°。

8.根据权利要求1所述的一种资源化技术矿石勘测用取样装置,其特征在于,所述弹簧

(17)的形状为圆柱体形,弹簧(17)的材质为碳素弹簧(17)钢丝,弹簧(17)的直径为0.20mm,弹簧(17)的自由长度为8.80mm,弹簧(17)的刚度、外径和自由长度的精度为2级。

9.根据权利要求1所述的一种资源化技术矿石勘测用取样装置,其特征在于,所述第一

滑轨(3)和所述第二滑轨(20)的材质相同,第一滑轨(3)的长度大于第二滑轨(20)的长度,第一滑轨(3)的长度为60cm,第二滑轨(20)的长度为50cm,第一滑轨(3)和第二滑轨(20)的宽度相同,第一滑轨(3)和第二滑轨(20)的宽度均为10cm。