欢迎来到知嘟嘟! 联系电话:13336804447 卖家免费入驻,海量在线求购! 卖家免费入驻,海量在线求购!
知嘟嘟
我要发布
联系电话:13336804447
知嘟嘟经纪人
收藏
专利号: 2016111655082
申请人: 东阳市天杨建筑工程设计有限公司
专利类型:发明专利
专利状态:已下证
专利领域: 卷扬;提升;牵引
更新日期:2024-02-28
缴费截止日期: 暂无
价格&联系人
年费信息
委托购买

摘要:

权利要求书:

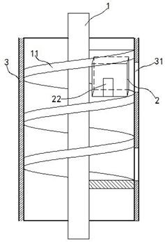
1.一种螺旋升降电梯,本螺旋升降电梯包括有驱动轴(1)、轿厢(2)和电梯井(3),在电梯井(3)的侧壁开设有出口(31);所述驱动轴(1)由驱动电机带动转动;其特征在于:驱动轴(1)设置在电梯井(3)的中央,在驱动轴(1)上同轴的套设有螺旋片(11),螺旋片(11)沿驱动轴(1)的径向延伸;螺旋片(11)之间的螺距大于轿厢(2)的高度;在电梯井(3)的侧壁设置有两条竖直的滑轨(4),所述滑轨(4)对称的分布在所述出口(31)的两侧;所述轿厢(2)滑动安装在所述滑轨(4)上,轿厢(2)的电动门(21)与出口(31)的电动门正对贴近;在所述轿厢(2)的顶面和底面均设置有垫板(5),所述垫板(5)与螺旋片(11)紧密接触;所述轿厢(2)仅可沿滑轨(4)上下滑动;所述电动门和驱动电机均电性连接控制器。

2.根据权利要求1所述的螺旋升降电梯,其特征在于:所述驱动轴(1)与螺旋片(11)之间通过离合元件连接;所述离合元件电性连接控制器;离合元件接合时螺旋片(11)与驱动轴(1)同步转动,离合元件分离时驱动轴(1)空转,螺旋片(11)不转动。

3.根据权利要求2所述的螺旋升降电梯,其特征在于:在所述驱动轴(1)上套设有2个以上的螺旋片(11),每个螺旋片(11)上匹配的设置有一个轿厢(2),各螺旋片(11)首尾之间不接触。

4.根据权利要求1或2或3所述的螺旋升降电梯,其特征在于:在所述轿厢(2)的侧壁开设有隐藏的应急门(22)。

5.根据权利要求1所述的螺旋升降电梯,其特征在于:所述螺旋片(11)由硬质网材做成。

我要求购
我不想找了,帮我找吧
您有专利需要变现?
我要出售
智能匹配需求,快速出售