欢迎来到知嘟嘟! 联系电话:13336804447 卖家免费入驻,海量在线求购! 卖家免费入驻,海量在线求购!
知嘟嘟
我要发布
联系电话:13336804447
知嘟嘟经纪人
收藏
专利号: 2016110930059
申请人: 浙江海洋大学
专利类型:发明专利
专利状态:已下证
专利领域: 液力机械或液力发动机;风力、弹力或重力发动机;其他类目中不包括的产生机械动力或反推力的发动机
更新日期:2024-01-05
缴费截止日期: 暂无
价格&联系人
年费信息
委托购买

摘要:

权利要求书:

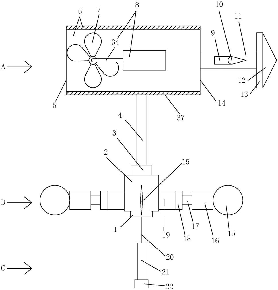
1.海洋波浪发电装置,包括悬浮在水中的旋转发电部分(B)和固定在海底面(22)的浮力发电部分(C);其特征在于,还包括能漂浮在水面上的水流发电部分(A)、连杆(4)和绳索(20),所述水流发电部分的水流发电机(8)由水平面流动的水流驱动发电;连杆的两端分别固定连接在水流发电部分的外壳上和旋转发电部分的旋转发电机的发电转轴(3)上,并且连杆驱动旋转发电部分的旋转发电机(2)发电;绳索的两端分别固定连接在旋转发电部分上和浮力发电部分上,并且绳索驱动浮力发电部分的浮力发电机(21)发电;在旋转发电机的外壳上向外固定设有若干一级防转动片(19);海洋波浪发电装置还包括微处理器(38),水流发电部分的外壳包括水平漂浮管(6),在水平漂浮管内的前端口(5)处设置有发电螺旋桨(7),发电螺旋桨驱动水流发电机的发电转轴(34)转动;在水平漂浮管的后端(14)向后固定连接有导向杆(11),在导向杆的后端固定设有垂直尾翼(13),在垂直尾翼上竖直设有方向舵(12),连杆的上端固定连接在水平漂浮管的下表面(37)上,方向舵的控制端与微处理器相连接;一根升降板(9)水平固定连接在导向杆上,且导向杆的中心线垂直平分升降板的中心线,在导向杆两侧方的升降板的后端面上均设有升降舵(10),升降舵的控制端与微处理器相连接。

2.根据权利要求1所述的海洋波浪发电装置,其特征在于,海洋波浪发电装置还包括倾角传感器(39),在水平漂浮管外表面后端的左侧面(23)上和右侧面(24)上均设有防远离机构(33),倾角传感器固定在连杆上,倾角传感器和防远离机构的控制端分别与微处理器相连接。

3.根据权利要求2所述的海洋波浪发电装置,其特征在于,防远离机构包括由一台左电机(26)驱动转动的左螺旋桨(27)和由一台右电机(31)驱动转动的右螺旋桨(30);所述左螺旋桨的转轴、右螺旋桨的转轴和发电螺旋桨的转轴均与水平漂浮管的管心线平行,左电机的控制端和右电机的控制端分别与微处理器相连接。

4.根据权利要求3所述的海洋波浪发电装置,其特征在于,防远离机构还包括左管(25)和右管(32),所述左管和右管分别固定连接在水平漂浮管的左右侧外表面上,并且左管的管心线和右管的管心线均与水平漂浮管的管心线平行,所述左螺旋桨设置在左管内,所述右螺旋桨设置在右管内。

5.根据权利要求1所述的海洋波浪发电装置,其特征在于,在每块一级防转动片的外端分别向外设有伸缩机构(18),在每个伸缩机构的伸缩杆(17)上分别朝外设有二级防转动片(16),伸缩机构的控制端与微处理器相连接。

6.根据权利要求5所述的海洋波浪发电装置,其特征在于,在每块二级防转动片的外端连接有弧形防转片(15)。