欢迎来到知嘟嘟! 联系电话:13336804447 卖家免费入驻,海量在线求购! 卖家免费入驻,海量在线求购!
知嘟嘟
我要发布
联系电话:13336804447
知嘟嘟经纪人
收藏
专利号: 2016110593163
申请人: 东北电力大学
专利类型:发明专利
专利状态:已下证
专利领域: 电通信技术
更新日期:2023-12-11
缴费截止日期: 暂无
价格&联系人
年费信息
委托购买

摘要:

权利要求书:

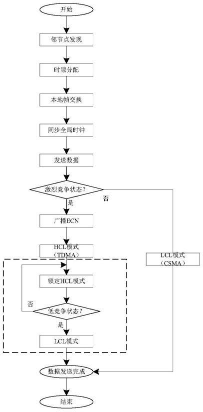
1.一种基于能量优化的无线传感器网络混合Z-MAC协议优化方法,其特征是:它包括基于单轮竞争窗口固定的退避机制、基于节点剩余能量的随机退避时间选取、流量自适应机制和数据发送控制机制。

2.根据权利要求1所述的基于能量优化的无线传感器网络混合Z-MAC协议优化方法,其特征是:对于所述基于单轮竞争窗口固定的退避机制,节点采用多轮循环,单轮固定竞争窗口的方法,即当数据发生冲突时,竞争窗口不加倍,而节点从固定的退避间隔CW中重新计算在不同时隙中选择不同发送数据的概率,直到数据发送成功,结束计算过程,退避方式表示为:

其中,Pr是节点选取CW的概率,CWmin是系统设定的最小CW长度,式(1)表明,当数据发生冲突时,节点从单轮固定的(1,CW)中选取概率最大的CW值,一旦数据发送成功,CW值立即回落到CWmin。

3.根据权利要求1所述的基于能量优化的无线传感器网络混合Z-MAC协议优化方法,其特征是:对于所述基于节点剩余能量的随机退避时间选取,其选取依据是Z-MAC协议的sift概率公式,确定节点的退避时间,概率公式表示为:

其中,r∈(1,CW),α为分布参数(0<α<1),

其中,η为权重参数,Ere节点的剩余能量,Emax为初始能量;

通过式(2)和式(3)非均匀概率分布将优胜节点从整个竞争节点中筛选出来。

4.根据权利要求1所述的基于能量优化的无线传感器网络混合Z-MAC协议优化方法,其特征是:对于所述流量自适应机制是通过对节点采取一定的对策来延长网络生命周期,若一个占用节点在属于自己的时隙内处于激烈竞争状态,这个占用节点将会广播一个ECN给它的邻节点,节点将传输模式锁定为HCL进行接入信道,当节点符合低竞争模式水平时,采用广播一个新的清除竞争通知RECN给邻节点,以此来解除HCL模式,在Z-MAC协议的基础上通过锁定HCL模式,来有效避免在一段时间内不断发送ECN消息,减少能量消耗,有效延长网络生命周期。

5.根据权利要求1所述的基于能量优化的无线传感器网络混合Z-MAC协议优化方法,其特征是:对于所述数据发送控制机制是针对隐终端问题采用在数据帧中加入一个信道标志位对信道进行预约来有效避免能量消耗,节点的数据帧前加了一个信道标志位,对信道进行预约,预约成功后非目的节点进入休眠状态,以减少空闲侦听产生的能量消耗。