欢迎来到知嘟嘟! 联系电话:13336804447 卖家免费入驻,海量在线求购! 卖家免费入驻,海量在线求购!
知嘟嘟
我要发布
联系电话:13336804447
知嘟嘟经纪人
收藏
专利号: 2016110401661
申请人: 中国矿业大学
专利类型:发明专利
专利状态:已下证
专利领域: 土层或岩石的钻进;采矿
更新日期:2024-01-05
缴费截止日期: 暂无
价格&联系人
年费信息
委托购买

摘要:

权利要求书:

1.一种坚硬煤层顶板耦合致裂方法,其特征在于包括如下步骤:

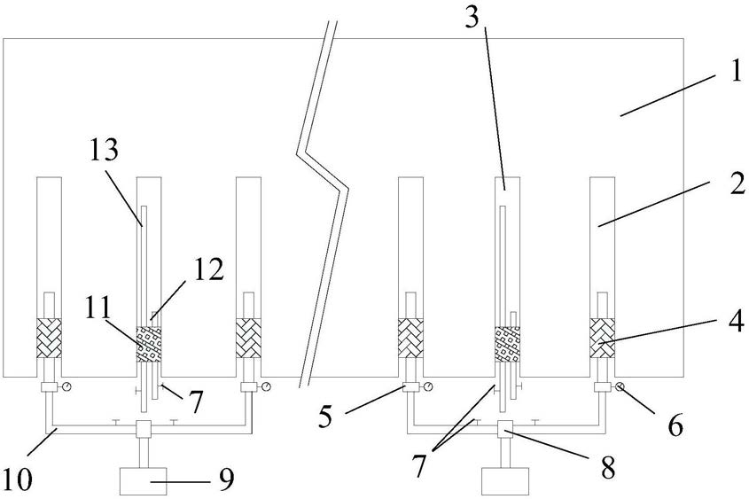
a. 钻孔:利用钻机向坚硬顶板(1)内施工多个钻孔至设计深度,多个钻孔包括静态致裂钻孔(3)和脉动水力压裂钻孔(2),静态致裂钻孔(3)两侧的钻孔为脉动水力压裂钻孔(2),每两个脉动水力压裂钻孔(2)和一个静态致裂钻孔(3)组合成一个致裂体系;

b.封孔注浆:利用双孔封孔器(11)对静态致裂钻孔(3)进行封堵,将混合均匀的静态破碎剂浆液通过注浆管(13)注入到静态致裂钻孔(3)内部,持续注浆至回浆管(12)出现浆液回流现象,分别关闭连接在注浆管(13)入口处和回浆管(12)出口处的截止阀(7);

c.注水管路连接:在脉动水力压裂钻孔(2)内安装连通管,利用耐高压封孔器(4)分别对一个静态致裂钻孔(3)两侧的两个脉动水力压裂钻孔(2)进行封孔,并在孔口连通管上安装单向截止阀(5)和压力表(6),然后将连通管的外露端口与注水管路(10)相连接,注水管路(10)经频率可调节的等量分流器(8)与脉动注水泵(9)相连;

d.注水:当注入到静态致裂钻孔(3)内部的静态破碎剂浆液反应超过2h后,启动脉动注水泵(9),打开连接在分流器(8)两侧出口处的截止阀(7)向两个脉动水力压裂钻孔(2)进行注水;

e.当压力表(6)监测到的注水压力P<1–1.5MPa时,分别打开连接在注浆管(13)入口处和回浆管(12)出口处的截止阀(7),持续向注浆管(13)内注水,直至回浆管(12)出现浑浊流体流出时,关闭分流器、注浆管和回浆管的截止阀(7),关闭脉动注水泵(9),停止注水。

2.根据权利要求1所述的一种坚硬煤层顶板耦合致裂方法,其特征在于:所述的致裂体系内的钻孔间距为4.5–5m。

3.根据权利要求1所述的一种坚硬煤层顶板耦合致裂方法,其特征在于:所述的压裂钻孔(2)深度为10–13m,静态致裂钻孔(3)深度为12–15m。

4.根据权利要求1所述的一种坚硬煤层顶板耦合致裂方法,其特征在于:所述向两个脉动水力压裂钻孔(2)内进行注水的频率,通过频率可调节的等量分流器(8)进行改变,实现疲劳加载的非线性特性。

5.根据权利要求1或4所述的一种坚硬煤层顶板耦合致裂方法,其特征在于:所述频率可调节的等量分流器(8)为能够实现两管路同时进行不同的压裂方式的等量分流器,即其中一管路进行脉动压裂,而另一管路进行恒压压裂,两管路按照0.2-0.3h为一个调节周期的矩形周期进行调节。

6.根据权利要求1所述的一种坚硬煤层顶板耦合致裂方法,其特征在于:所述的静态致裂钻孔(3)方向为顶板法向方向,两个脉动水力压裂钻孔(2)和静态致裂钻孔(3)的夹角分别为5–10°和-5 – -10°。