欢迎来到知嘟嘟! 联系电话:13336804447 卖家免费入驻,海量在线求购! 卖家免费入驻,海量在线求购!
知嘟嘟
我要发布
联系电话:13336804447
知嘟嘟经纪人
收藏
专利号: 2016110094589
申请人: 安徽师范大学
专利类型:发明专利
专利状态:已下证
专利领域: 手动切割工具;切割;切断
更新日期:2023-12-08
缴费截止日期: 暂无
价格&联系人
年费信息
委托购买

摘要:

权利要求书:

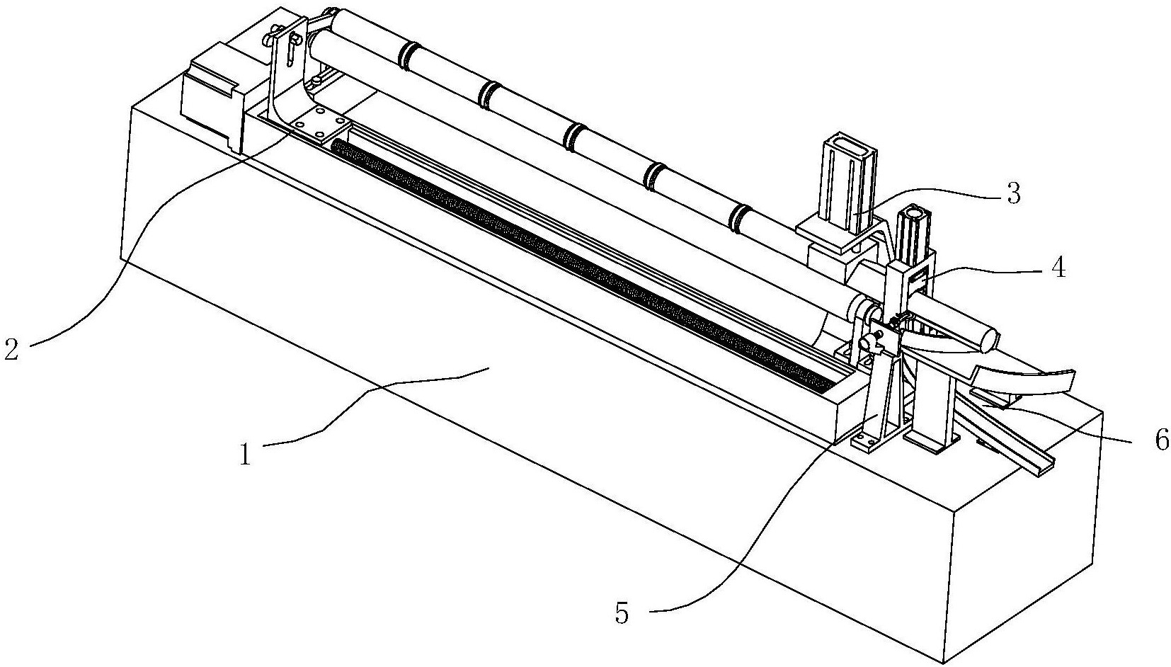
1.一种甘蔗自动切断去节装置,其特征在于:包括工作台(1)和设置在工作台(1)上的第一固定座(11)和第二固定座(12),所述第一固定座(11)和第二固定座(12)之间设有彼此平行设置的第一滚轴(13)和第二滚轴(14),所述第一滚轴(13)的旁侧与其平行设置有用于推动甘蔗前后移动的推动装置(2),第二滚轴(14)的旁侧接近第二固定座(12)的位置设有用于固定甘蔗的抵紧装置(3),所述第二固定座(12)的后方设有切断装置(4),所述切断装置(4)包括龙门架、第一气缸(48)和铡刀(45),所述第一气缸(48)安装在龙门架的顶部,铡刀(45)滑动配合在龙门架内并与第一气缸(48)的输出端连接,所述龙门架包括上架体(41)、左架体(42)、右架体(43)和下架体(44)组成的龙门结构,所述下架体(44)上设有用于固定龙门架的安装孔,所述左架体(42)和右架体(43)的内侧垂直设置有导向槽,所述铡刀(45)安装在左架体(42)和右架体(43)之间,铡刀(45)的左右两侧分别与导向槽滑动配合,第一气缸(48)固定安装在上架体(41)的顶部,第一气缸(48)的输出端穿过上架体(41)与铡刀(45)固定连接,所述铡刀(45)为双刀结构,该铡刀(45)包括有截面为U型的第一面板(46)以及固定在该第一面板(46)下方并且间隔设置的第一刀片和第二刀片,所述第一气缸(48)的输出端与第一面板(46)固定连接,第一面板(46)的底部设有抵板(47),抵板(47)与第一面板(46)之间设有弹簧,弹簧的一端与第二面板(46)焊接固定,其另一端与抵板(47)焊接固定;所述龙门架的左侧设有检测甘蔗节点位置的检测装置(5),所述检测装置(5)包括第二支架(51)、圆刀(54)、伸缩杆(55)和套筒(56),所述第二支架(51)上设有竖直的第三面板(52),第三面板(52)上设有圆筒状的安装部(521),所述安装部(521)设有内螺纹,所述套筒(56)的后部设有与安装部(521)的内螺纹配合的外螺纹段,所述圆刀(54)可拆卸的安装在伸缩杆(55)的顶端,所述伸缩杆(55)安装在套筒(56)内,套筒(56)内设有弹簧,套筒(56)内的弹簧将伸缩杆(55)向前顶出,与放置在第一滚轴(13)和第二滚轴(14)上的甘蔗抵接,所述套筒(56)的外部设有感应器(57),所述伸缩杆(55)的尾端设有电磁吸盘(53),所述电磁吸盘(53)的吸盘正对伸缩杆(55)的尾端。

2.根据权利要求1所述的一种甘蔗自动切断去节装置,其特征在于:所述第一滚轴(13)和第二滚轴(14)的前后两端均设有一个支撑架(15),支撑架(15)与第一固定座(11)和第二固定座(12)滑动配合,第一固定座(11)和第二固定座(12)的上端设有与支撑架(15)的底部滑动配合的调整槽,该调整槽的横截面为倒T字型结构,调整槽上缘的左右两侧均设有通孔。

3.根据权利要求1所述的一种甘蔗自动切断去节装置,其特征在于:所述推动装置(2)包括与第一滚轴(13)平行分布的丝杆滑台(21)、截面为L型的第二面板(22)和连杆(23),所述丝杆滑台(21)的丝杆自第一滚轴(13)的顶端一直延伸至第一滚轴(13)的末端,所述第二面板(22)固定连接在丝杆滑台(21)的滑台上,所述连杆(23)的一端固定连接在第二面板(22)上,连杆(23)的另一端端延伸至第一滚轴(13)与第二滚轴(14)之间的上方,并且固定连接有圆形的推板(231),丝杆的顶端设有驱动电机。

4.根据权利要求3所述的一种甘蔗自动切断去节装置,其特征在于:所述第二面板(22)上设有安装连杆(23)的长条形的通孔,通孔的左右两边分别设有相互配合的螺栓和螺帽。

5.根据权利要求4所述的一种甘蔗自动切断去节装置,其特征在于:所述抵紧装置(3)包括第一支架(31)和设置在第一支架(31)顶部的第二气缸(32),所述第二气缸(32)的输出端穿过第一支架(31)向下延伸并安装有抵接块(33)。

6.根据权利要求5所述的一种甘蔗自动切断去节装置,其特征在于:还包括有传感器组,所述传感器组包括设置在推板(231)上的第一传感器和设置在抵接块(33)上的检测块。

7.根据权利要求1所述的一种甘蔗自动切断去节装置,其特征在于:还包括有收集装置(6),所述收集装置(6)包括第一弧形板(61)和第二弧形板(62),所述第一弧形板(61)设置在切断装置(4)的后方,所述第二弧形板(62)设置第一弧形板(61)的下方。

8.根据权利要求7所述的一种甘蔗自动切断去节装置,其特征在于:所述第一弧形板(61)和第二弧形板(62)的左右两端均设置有竖直的限位挡板。

9.根据权利要求1所述的一种甘蔗自动切断去节装置,其特征在于:所述工作台(1)内设有压缩机。

我要求购
我不想找了,帮我找吧
您有专利需要变现?
我要出售
智能匹配需求,快速出售