欢迎来到知嘟嘟! 联系电话:13095918853 卖家免费入驻,海量在线求购! 卖家免费入驻,海量在线求购!
知嘟嘟
我要发布
联系电话:13095918853
知嘟嘟经纪人
收藏
专利号: 2016109485577
申请人: 温州国好机电科技有限公司
专利类型:发明专利
专利状态:已下证
专利领域: 基本电气元件
更新日期:2024-02-23
缴费截止日期: 暂无
价格&联系人
年费信息
委托购买

摘要:

权利要求书:

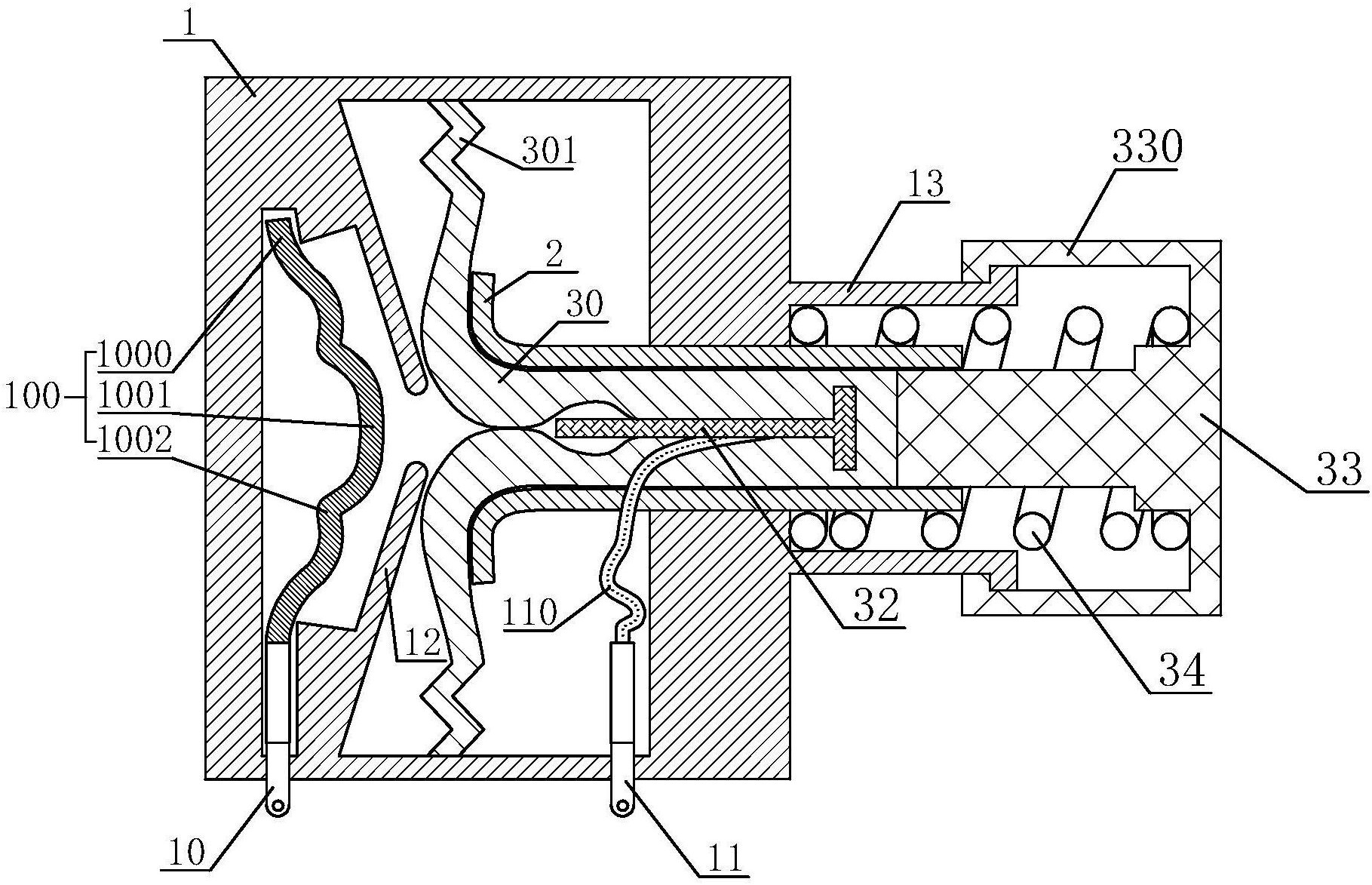
1.摁压式弹性安全开关组件,其特征在于:包括壳体和开关按钮;

-所述开关按钮包括活动触头(32)、摁压部(33)和可活动伸缩复位的硅胶皮碗(30),摁压部(33)位于壳体外,摁压部(33)相对壳体往复移动,摁压部(33)和壳体之间设有使摁压部(33)复位的弹性件(34),所述硅胶皮碗(30)位于同摁压部(33)相对的活动触头(32)末端;

-所述壳体设有第一容腔和第二容腔,壳体内设有平行安装的第一接线端子(10)和第二接线端子(11),第一接线端子(10)末端设有第一接触部(100),第一接触部(100)位于第一容腔内;第二接线端子(11)末端设有与活动触头(32)电连接第二连接部(110),第二连接部(110)位于第二容腔内,活动触头(32)和硅胶皮碗(30)均位于第二容腔内;

-硅胶皮碗(30)包括盘状的底盘部(30a)和管状的斗口部(30b),所述底盘部(30a)的外周与壳体内壁相固定,所述斗口部(30b)中部设有容纳活动触头(32)的容纳腔(302),斗口部(30b)与摁压部(33)相连接且同步移动,所述底盘部(30a)和斗口部(30b)的连接处设有随硅胶皮碗(30)活动启闭容纳腔(302)的息口部(300),所述底盘部(30a)、斗口部(30b)和息口部(300)一体成型设置;

-所述壳体内还设有用于增加息口部(300)密闭性的保持套(2),所述保持套(2)固定于壳体内部,所述保持套(2)为环形套件,保持套(2)纵截面呈“L”型,保持套(2)包括套筒(21)和保持底板(20),所述斗口部(30b)滑动套设于套筒(21)内;当开关按钮不受外力恢复原状时,所述息口部(300)于套筒(21)和保持底板(20)交界处挤压并封闭容纳腔(302),所述息口部(300)的厚度大于斗口部(30b)的壁厚;

当下压摁压部(33)推压活动触头(32)向内移时,弹性件(34)被压缩,摁压部(33)向内挤压硅胶皮碗(30),斗口部(30b)向内移动并挤压底盘部(30a)向外侧变形,息口部(300)随底盘部(30a)向外侧移动张开,容纳腔(302)与第一容腔之间连通并使活动触头(32)穿过,活动触头(32)前端抵压在第一接触部(100),第二连接部(110)、活动触头(32)和第一接触部(100)依次电连通,开关处于连通状态;

当摁压部(33)不受到外力时,在弹性件(34)的回弹作用下,摁压部(33)回弹并拉扯斗口部(30b)向外侧移动,斗口部(30b)带动活动触头(32)一同向外移动,活动触头(32)与第一接触部(100)分离;并且息口部(300)由外侧恢复至原位,当息口部(300)进入套筒(21)内时由于受到摁压部(33)的拉扯,息口部(33)的挤压封闭的密闭力更大,息口部(300)挤压并封闭容纳腔(302)与第一容腔之间的通道,开关处于断开状态;所述容纳腔(302)呈椭球形;

所述活动触头(32)由铝或铜制成。

2.根据权利要求1所述的摁压式弹性安全开关组件,其特征在于:所述壳体内还设有用于底盘部(30a)向外侧移动变形的导向锥板(12),所述导向锥板(12)呈锥形,导向锥板(12)位于第一容腔和第二容腔之间,导向锥板(12)中部设有供活动触头(32)通过的通孔,所述通孔连通第一容腔和第二容腔。

3.根据权利要求2所述的摁压式弹性安全开关组件,其特征在于:所述导向锥板(12)的锥角的角度为130°-160°。

4.根据权利要求1所述的摁压式弹性安全开关组件,其特征在于:所述底盘部(30a)与壳体内壁的连接处设有供底盘部(30a)发生更大形变量的褶皱环(301),所述褶皱环(301)呈环形的波浪状,所述褶皱环(301)与底盘部(30a)一体成型设置。

5.根据权利要求1所述的摁压式弹性安全开关组件,其特征在于:所述活动触头(32)包括触头端部(321)和导电的触头杆部(320),所述硅胶皮碗(30)内开设有杆部固定腔(310)和端部固定腔(311),所述端部固定腔(311)位于摁压部(33)所在的硅胶皮碗(30)一侧,触头杆部(320)固定于杆部固定腔(310)内,触头端部(321)固定于端部固定腔(311)内。

6.根据权利要求1所述的摁压式弹性安全开关组件,其特征在于:所述第一接线端子(10)的第一接触部(100)采用记忆合金材料,第一接触部(100)包括端部(1000)、用于同活动触头接触的弧形触部(1001)和加热使弧形触部(1001)与活动触头(32)分离的弯折部(1002);所述端部(1000)位于第一接触部(100)的两端且与壳体内部固定,所述弯折部(1002)位于弧形触部(1001)与端部(1000)之间。

7.根据权利要求1所述的摁压式弹性安全开关组件,其特征在于:所述套筒(21)和保持底板(20)相垂直设置;底盘部(30a)和斗口部(30b)相垂直设置。