欢迎来到知嘟嘟! 联系电话:13336804447 卖家免费入驻,海量在线求购! 卖家免费入驻,海量在线求购!
知嘟嘟
我要发布
联系电话:13336804447
知嘟嘟经纪人
收藏
专利号: 201610933187X
申请人: 无锡艾科瑞思产品设计与研究有限公司
专利类型:发明专利
专利状态:已下证
专利领域: 手携物品或旅行品
更新日期:2025-12-10
缴费截止日期: 暂无
价格&联系人
年费信息
委托购买

摘要:

权利要求书:

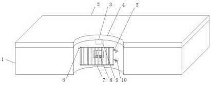
1.一种具有指纹识别和照明功能的智能文具盒,包括盒体(1),其特征在于,所述盒体(1)的顶端铰接有顶盖(2),所述盒体(1)和顶盖(2)的一侧均设有凹槽(4),所述盒体(1)的顶端靠近凹槽(4)的一侧设有锁槽(9),所述锁槽(9)的内壁上嵌装有光照传感器,所述顶盖(2)靠近盒体(1)的一侧设有锁体(3),所述锁体(3)上设有黑板片(13),且黑板片(13)与光照传感器相对应,所述锁体(3)的两侧均设有两个竖直排列的开口(11),所述顶盖(2)上设有第一放置腔和第二放置腔(16),所述第一放置腔位于第二放置腔(16)和开口(11)之间,且第一放置腔与开口(11)相连通,所述第一放置腔远离开口(11)的一侧内壁上转动连接有转轴(15),所述转轴(15)靠近开口(11)的一侧固定连接有支撑板(12),所述支撑板(12)上安装有护眼灯(14),所述第二放置腔(16)内设有转动电机(17),且转动电机(17)的输出轴与转轴(15)连接,所述盒体(1)的一侧设有指纹图案采集装置(8),所述指纹图案采集装置(8)位于凹槽(4)的内壁上,所述凹槽(4)的一侧内壁上固定安装有连接杆(6),所述凹槽(4)的另一侧内壁上设有固定环(10),所述连接杆(6)的一侧转动连接有护栏板(7),所述护栏板(7)远离连接杆(6)的一侧设有卡钩(5),且卡钩(5)与固定环(10)相配合,所述盒体(1)内设有控制模块和主控板,所述主控板上设有指纹采集电路、指纹发送电路和指纹对比及配对电路,其中指纹采集电路的输入端与指纹图案采集装置(8)连接,指纹采集电路的输出端与指纹发送电路的输入端连接,指纹发送电路的输出端与指纹对比及配对电路的输入端连接,控制模块的输入端与光照传感器连接,控制模块的输出端分别与指纹对比及配对电路、锁体(3)、指纹图案采集装置(8)、护眼灯(14)和转动电机(17)电性连接。

2.根据权利要求1所述的一种具有指纹识别和照明功能的智能文具盒,其特征在于,所述护眼灯(14)为四到四十个,且等距离排列于支撑板(12)的两侧,其中护眼灯(14)与开口(11)相对应。

3.根据权利要求1所述的一种具有指纹识别和照明功能的智能文具盒,其特征在于,所述转轴(15)位于相邻两个开口(11)之间,且转轴(15)与相靠近一侧的顶盖(2)周边之间的距离大于支撑板(12)的中间位置与相靠近一侧的顶盖(2)周边之间的距离。

4.根据权利要求1所述的一种具有指纹识别和照明功能的智能文具盒,其特征在于,所述连接杆(6)靠近护栏板(7)的一侧设有卡槽,所述卡槽内设有转球,其中转球的一部分与卡槽的内壁滑动连接,转球的另一部分与护栏板(7)固定连接。

5.根据权利要求1所述的一种具有指纹识别和照明功能的智能文具盒,其特征在于,所述卡钩(5)为倒L形结构,所述卡钩(5)与固定环(10)的内壁滑动连接。

6.根据权利要求1所述的一种具有指纹识别和照明功能的智能文具盒,其特征在于,所述凹槽(4)为弧形结构。