欢迎来到知嘟嘟! 联系电话:13336804447 卖家免费入驻,海量在线求购! 卖家免费入驻,海量在线求购!
知嘟嘟
我要发布
联系电话:13336804447
知嘟嘟经纪人
收藏
专利号: 201610905523X
申请人: 浙江海洋大学
专利类型:发明专利
专利状态:已下证
专利领域: 土层或岩石的钻进;采矿
更新日期:2024-01-05
缴费截止日期: 暂无
价格&联系人
年费信息
委托购买

摘要:

权利要求书:

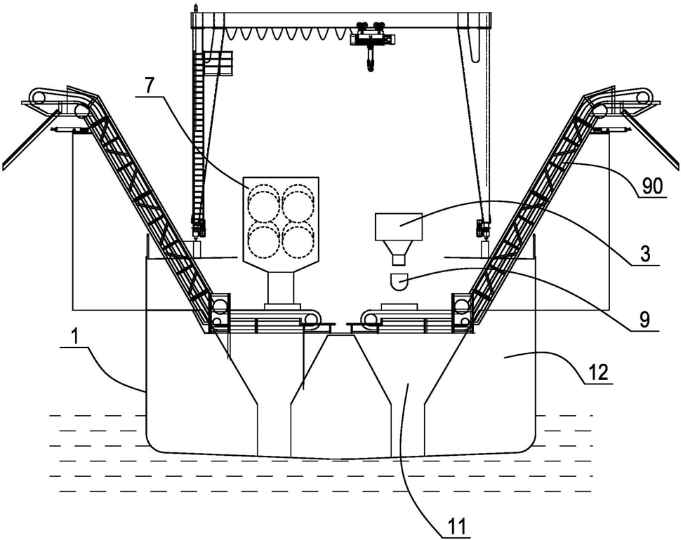
1.一种深海矿砂挖掘装置,包括具有原矿仓和尾砂仓的船体、以及用于抽取海底原矿砂的抽砂泵,其特征是,船体上还设有碾碎机、用于选矿的磁选机以及抽取尾矿砂的尾砂泵,所述碾碎机包括壳体、可转动地设置在壳体内的上下两组碾压对辊,壳体的上部设有矿砂进口,壳体的下部设有矿砂出口,每组碾压对辊包括二个并排设置的圆柱形的碾压辊,上面一组碾压对辊中的碾压辊的中心线与碾压辊的转动轴线之间具有一个偏心距,从而使上面一组碾压对辊中的二个碾压辊之间具有一个最小间隙和一个最大间隙,所述抽砂泵的出砂口通过管道与矿砂进口相连,所述矿砂出口通过管道与原矿仓相连,所述磁选机具有一个尾矿砂输出口以及一个精矿砂输出口,精矿砂输出口连接一精矿砂输送装置,尾矿砂输出口通过尾矿砂收集管道和尾砂仓相连,尾砂泵的吸砂口通过管道与尾砂仓的下部相连,尾砂泵的出砂口与悬浮在海面的尾矿回填管道的一端相连,尾矿回填管道的另一端延伸至远离开采区的海底。

2.根据权利要求1所述的一种深海矿砂挖掘装置,其特征是,所述碾压辊与水平方向的夹角在5度至15度之间,碾压辊的圆周面上设有螺旋状的突起,每组碾压对辊中的两个碾压辊的突起的螺旋方向相反。

3.根据权利要求1所述的一种深海矿砂挖掘装置,其特征是,两组碾压对辊的碾压辊平行布置,并且下面一组碾压对辊中二个碾压辊之间的间隙与上面一组碾压对辊中两个碾压辊之间的最小间隙相等。

4.根据权利要求1所述的一种深海矿砂挖掘装置,其特征是,所述磁选机包括一个选矿长槽,选矿长槽内横向地设有竖直的分隔板,分隔板将选矿长槽分隔成一侧开口向上的磁选机进料口以及另一侧的选矿区,分隔板与选矿长槽的底面之间设有过砂间隙,在选矿长槽的选矿区设有沿长度方向布置的回转式传送带,所述精矿砂输出口位于选矿区的底面远离分隔板一端,尾矿砂输出口则设置在选矿区底面精矿砂输出口和分隔板之间处,回转式传送带靠近选矿长槽底面一侧内设有磁铁,所述磁铁由靠近分隔板一端延伸排列至对应精矿砂输出口上靠近分隔板的一侧。

5.根据权利要求4所述的一种深海矿砂挖掘装置,其特征是,所述回转式传送带的表面间隔地设有若干排凸柱,相邻两排凸柱之间错位布置。

6.根据权利要求4所述的一种深海矿砂挖掘装置,其特征是,所述选矿长槽在磁选机进料口的底部设有朝向过砂间隙的喷水嘴。

7.根据权利要求1或2或3或4或5或6所述的一种深海矿砂挖掘装置,其特征是,所述精矿砂输送装置包括一个螺旋输送机,螺旋输送机包括料筒、设置在料筒内的转轴,转轴上设有螺旋叶片,转轴的一端通过传动机构与驱动电机相关联,料筒的一端设有物料输入口,另一端设有物料输出口,一皮带输送机的输入端位于物料输出口的下方,螺旋叶片的螺距由物料输入口一端至物料输出口一端逐步变小,螺旋输送机的料筒上设有出水槽孔。

8.根据权利要求7所述的一种深海矿砂挖掘装置,其特征是,所述螺旋输送机的转轴在远离驱动电机的一端同轴地设有支承孔,转轴的圆周面上设有若干贯通支承孔的喷气孔,支承孔的开口端适配有支承轴,支承轴上设有通气孔,通气孔一端与支承孔连通,另一端通过压缩气管与压缩空气源连通。

9.根据权利要求8所述的一种深海矿砂挖掘装置,其特征是,所述压缩气管上连接有一个间隙启闭阀,所述间隙启闭阀包括一个圆柱形的阀体、阀体内可转动的阀芯、以及设于阀体一端用于驱动阀芯的调速电机,阀体的侧壁上设有分别和压缩气管连通的进气口和出气口,阀芯内设有可分别连通进气口和出气口的压缩空气通道。