欢迎来到知嘟嘟! 联系电话:13336804447 卖家免费入驻,海量在线求购! 卖家免费入驻,海量在线求购!
知嘟嘟
我要发布
联系电话:13336804447
知嘟嘟经纪人
收藏
专利号: 2016108680479
申请人: 崔金芬
专利类型:发明专利
专利状态:已下证
专利领域: 信号装置
更新日期:2026-03-16
缴费截止日期: 暂无
价格&联系人
年费信息
委托购买

摘要:

权利要求书:

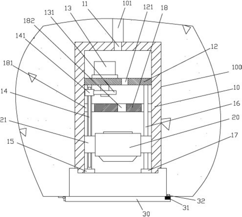
1.一种隐藏式安防烟雾探测器,包括外连接体(10),其特征在于:所述外连接体(10)插套并固定在房间的顶面上具有的安装孔(100)的上端孔中,外连接体(10)的顶板的中部具有电线通孔(11),电线通孔(11)与安装孔(100)的顶端具有的连接孔(101)上下对齐,外连接体(10)的上部内侧壁上固定有主连接板(12),主连接板(12)上固定有驱动电机(13),驱动电机(13)的输出轴向下穿过主连接板(12)并固定有驱动齿轮(131),传动螺杆(14)的上端铰接在主连接板(12)上,传动螺杆(14)的下端铰接在支撑板(15)上,支撑板(15)固定在外连接体(10)的下端内侧壁上,传动螺杆(14)的上端固定有传动齿轮(141),驱动齿轮(131)与传动齿轮(141)相啮合,导向杆(16)的上端固定在主连接板(12)上,导向杆(16)的下端固定在外连接体(10)的下端内侧壁上固定有的侧边块(17)上,烟雾传感器(20)的两侧固定有调节块(21),一侧的调节块(21)插套在导向杆(16)中,另一侧的调节块(21)螺接在调节螺杆(14)中。

2.根据权利要求1所述的一种隐藏式安防烟雾探测器,其特征在于:所述主连接板(12)上具有传感器穿线通孔(121)。

3.根据权利要求1所述的一种隐藏式安防烟雾探测器,其特征在于:所述外连接体(10)的中部内侧壁上固定有保护板(18),保护板(18)处于烟雾传感器(20)与主连接板(12)之间,保护板(18)的两侧具有通槽(181),传动螺杆(14)和导向杆(16)插套在对应的通槽(181)中,保护板(18)的中部具有穿线通孔(182)。

4.根据权利要求1所述的一种隐藏式安防烟雾探测器,其特征在于:所述安装孔(100)的下端覆盖有挡板(30),挡板(30)的一侧通过合页铰接在房屋的顶面上,挡板(30)的另一侧顶面嵌套并固定有铁质块(31),安装孔(100)的边部的底端固定有永磁铁(32),永磁铁(32)与铁质块(31)相吸附。