欢迎来到知嘟嘟! 联系电话:13336804447 卖家免费入驻,海量在线求购! 卖家免费入驻,海量在线求购!
知嘟嘟
我要发布
联系电话:13336804447
知嘟嘟经纪人
收藏
专利号: 2016108415346
申请人: 西南交通大学
专利类型:发明专利
专利状态:已下证
专利领域: 测量;测试
更新日期:2024-01-05
缴费截止日期: 暂无
价格&联系人
年费信息
委托购买

摘要:

权利要求书:

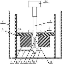
1.一种高温超导带材临界电流特性的测量装置的测量方法,测量装置包括低温杜瓦(1),在低温杜瓦(1)内部设有H型的支架(2),支架(2)的横板(15)底面固定有两个背景磁场磁体(6),其特征在于:所述的横板(15)中部的孔中插有旋转杆(3),且旋转杆(3)位于两个背景磁场磁体(6)之间;所述的旋转杆(3)的上端与支架(2)上方的电机(5)轴相连;旋转杆(3)的下端与带材上夹具(4)相连;

所述的支架(2)一侧的侧壁中下部固定有水平的下横板(14),旋转筒(8)间隙嵌合于下横板(14)的安装孔中,旋转筒(8)下端与带材下夹具(9)相连;且旋转筒(8)竖向的内腔位于旋转杆(3)的正下方;下横板(14)设有内端与旋转筒(8)接触的锁紧螺钉(10);

高温超导带材在不同扭曲角度和/或不同背景磁场下的临界电流的测量方法,其步骤是:

A、将待测的高温超导带材(7)的上端夹持于带材上夹具(4)上,下端穿过旋转筒(8)并夹持于带材下夹具(9)上;转动锁紧螺钉(10)使其内端抵紧旋转筒(8),以锁紧旋转筒(8)及高温超导带材(7)的下端;再将纳伏表(12)的两根引线分别连接于高温超导带材(7)的上部、下部,将恒流源(13)的两根引线分别与带材上夹具(4)、带材下夹具(9)电连接;

B、向低温杜瓦(1)中通入液氮,使液氮淹没至横板(15),启动电机(5)使旋转杆(3)旋转设定的旋转角度,而旋转筒(8)不转,高温超导带材(7)则随之扭曲旋转设定的角度;开启恒流源(13)向高温超导带材(7)通入逐渐增大的恒流,同步记录纳伏表(12)测出的电压,电压突然增高时,对应的恒流即为高温超导带材在设定的扭曲角度下的临界电流;

C、改变设定的旋转角度和/或更换不同的背景磁场磁体(6),随后重复B步的操作,即可得到高温超导带材在不同扭曲角度和/或不同背景磁场下的临界电流;

高温超导带材在无扭曲应变下的不同旋转角度和/或不同背景磁场下的临界电流的测量方法,其步骤是:

A、将待测的高温超导带材(7)和长度与其相同的环氧片(11)的上端一起夹持于带材上夹具(4)上,下端一起穿过旋转筒(8)并夹持于带材下夹具(9)上;再将纳伏表(12)的两根引线分别连接于高温超导带材(7)的上部、下部,将恒流源(13)的两根引线分别与带材上夹具(4)、带材下夹具(9)电连接;

B、向低温杜瓦(1)中通入液氮,使液氮淹没至横板(15),启动电机(5)使旋转杆(3)及旋转筒(8)旋转设定的旋转角度;高温超导带材(7)随之整体无扭曲的旋转设定的角度;开启恒流源(13)向高温超导带材通入逐渐增大的恒流,同步记录纳伏表(12)测出的电压,电压突然增高时,对应的恒流即为高温超导带材在无扭曲应变下的设定旋转角度下的临界电流;

C、改变设定的旋转角度和/或更换不同的背景磁场磁体(6),随后重复B步的操作,即可得到高温超导带材在无扭曲应变下的不同旋转角度和/或不同背景磁场下的临界电流。