欢迎来到知嘟嘟! 联系电话:13336804447 卖家免费入驻,海量在线求购! 卖家免费入驻,海量在线求购!
知嘟嘟
我要发布
联系电话:13336804447
知嘟嘟经纪人
收藏
专利号: 2016108194555
申请人: 肇庆胜尚知识产权服务有限公司
专利类型:发明专利
专利状态:已下证
专利领域: 干燥
更新日期:2024-02-23
缴费截止日期: 暂无
价格&联系人
年费信息
委托购买

摘要:

权利要求书:

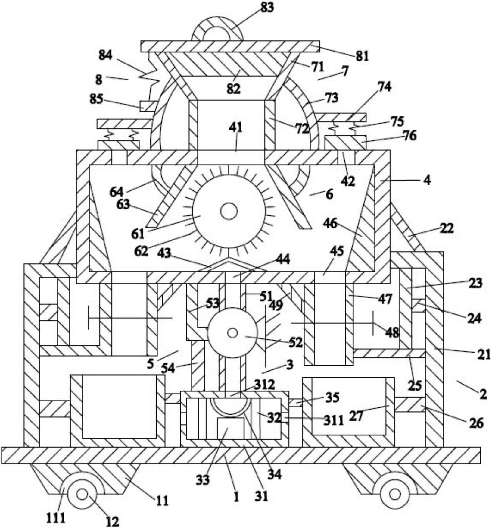
1.一种用于农产品的节能型循环干燥系统,其特征在于:所述用于农产品的节能型循环干燥系统包括底板、位于所述底板上方左右两侧的支架装置、位于所述支架装置之间的加热装置、位于所述加热装置上方的管道装置、位于所述管道装置上方的框体、收容于所述框体内的滚轮装置、位于所述框体上方的进料装置及设置于所述进料装置上的盖板装置,所述底板上设有位于其下方左右两侧的第一支撑块及位于所述第一支撑块下方的第一滚轮,所述支架装置包括第一支架、位于所述第一支架上方的第一斜杆、设置于所述第一支架上的第一竖杆、设置于所述第一竖杆上的第一横杆、位于所述第一竖杆下方的第二横杆、位于所述第二横杆下方的第三横杆及位于所述底板上方的回收箱,所述加热装置包括加热框、收容于所述加热框内左右两侧的第一过滤网、位于所述第一过滤网之间的加热棒、位于所述加热棒上方的第二过滤网及位于所述加热框左右两侧的第四横杆,所述框体上设有位于其上表面的第三通孔、位于所述第三通孔左右两侧第四通孔、位于其下表面的第五通孔、收容于其内部的第三过滤网、位于所述第五通孔左右两侧的第六通孔、收容于所述框体内左右两侧的集中块、位于所述框体下方左右两侧的出料管、设置于所述出料管上的阀门及设置于所述出料管上的第二斜杆,所述管道装置包括进气管、设置于所述进气管上的风机、位于所述风机左侧的第二支架、位于所述第二支架下方的第一支撑杆,所述滚轮装置包括第二滚轮、设置于所述第二滚轮上的第一刷毛、位于所述第二滚轮左右两侧的第一斜板及设置于所述第一斜板上的第一弯曲杆,所述进料装置包括进料斗、位于所述进料斗下方的进料管、位于所述进料斗左右两侧的第二弯曲杆、设置于所述第二弯曲杆上的第五横杆、位于所述第五横杆下方的第一弹簧、位于所述第一弹簧下方的海绵块,所述盖板装置包括盖板、位于所述盖板下方的堵塞块、位于所述盖板上方的握持环、位于所述盖板下方的第二弹簧及位于所述第二弹簧下方的第六横杆。

2.如权利要求1所述的用于农产品的节能型循环干燥系统,其特征在于:所述第一支撑块设有两个,所述第一支撑块的上表面与所述底板的下表面固定连接,所述第一支撑块的下表面设有第一凹槽,所述第一滚轮设有两个,所述第一滚轮呈圆柱体,所述第一滚轮收容于所述第一凹槽内且与所述第一支撑块轴转连接。

3.如权利要求2所述的用于农产品的节能型循环干燥系统,其特征在于:所述第一支架呈L型,所述第一支架的下端与所述底板的上表面固定连接,所述第一支架的上端呈水平状,所述第一斜杆呈倾斜状,所述第一斜杆的下端与所述第一支架的上表面固定连接,所述第一竖杆呈长方体且竖直放置,所述第一竖杆的上端与所述第一支架固定连接,所述第一横杆呈长方体且水平放置,所述第一横杆的一端与所述第一支架固定连接,所述第一横杆的另一端与所述第一竖杆的侧面固定连接,所述第二横杆呈长方体且水平放置,所述第二横杆的一端与所述第一支架固定连接,所述第一竖杆的下端与所述第二横杆的上表面固定连接,所述第三横杆呈长方体且水平放置,所述第三横杆的一端与所述第一支架固定连接,所述第三横杆的另一端顶靠在所述回收箱的侧面上所述回收箱呈空心的长方体,所述回收箱的下表面与所述底板的上表面滑动连接。

4.如权利要求3所述的用于农产品的节能型循环干燥系统,其特征在于:所述加热框呈空心的长方体,所述加热框水平放置,所述加热框的下表面与所述底板的上表面固定连接,所述加热框上设有位于其左右表面的第一通孔及位于其上表面的第二通孔,所述第一过滤网设有两个,所述第一过滤网呈长方体且竖直放置,所述过滤网与所述加热框的内表面固定连接,所述第二过滤网呈空心的半球状,所述第二过滤网的上表面与所述加热框的内表面固定连接,所述第二过滤网位于所述第二通孔的下方,所述第四横杆设有两个,所述第四横杆呈长方体且水平放置,所述第四横杆的一端与所述加热框的侧面固定连接,所述第四横杆的另一端顶靠在所述回收箱的侧面上。

5.如权利要求4所述的用于农产品的节能型循环干燥系统,其特征在于:所述第三过滤网的横截面呈倒置的V字形,所述第三过滤网的下表面与所述框体的内表面固定连接,所述第三过滤网位于所述第五通孔的上方,所述集中块设有两个,所述集中块的横截面呈直角梯形,所述集中块与所述框体的内表面固定连接,所述出料管设有两个,所述出料管呈竖直状,所述出料管的上端对准所述第六通孔且与所述框体的下表面固定连接,所述出料管位于所述回收箱的上方,所述第二横杆的一端与所述出料管的侧面固定连接,所述第二斜杆设有两个,所述第二斜杆呈倾斜状,所述第二斜杆的上端与所述框体的下表面固定连接,所述第二斜杆的下端与所述出料管的侧面固定连接。

6.如权利要求5所述的用于农产品的节能型循环干燥系统,其特征在于:所述进气管呈竖直状,所述进气管的上端对准所述第五通孔且与所述框体的下表面固定连接,所述进气管的下端对准所述第二通孔且与所述加热框的上表面固定连接,所述第二支架呈L型,所述第二支架的一端与所述框体的下表面固定连接,所述第二支架的另一端与所述风机固定连接,所述第一支撑杆呈长方体且竖直放置,所述第一支撑杆的上端与所述第二支架固定连接,所述第一支撑杆的下端与所述加热框的上表面固定连接。

7.如权利要求6所述的用于农产品的节能型循环干燥系统,其特征在于:所述第二滚轮呈圆柱体,所述第二滚轮与所述框体轴转连接,所述第一刷毛设有若干个,所述第一刷毛均匀分布在所述第二滚轮上且与其固定连接,所述第二滚轮位于所述第三通孔的下方,所述第一斜板设有两个,所述第一斜板呈倾斜状,所述第一斜板的上端与所述框体的内表面固定连接,所述第一弯曲杆设有两个,所述第一弯曲杆呈弯曲状,所述第一弯曲杆的上端与所述框体的内表面固定连接,所述第一弯曲杆的下端与所述第一斜板固定连接。

8.如权利要求7所述的用于农产品的节能型循环干燥系统,其特征在于:所述进料管呈竖直状,所述进料管的下端对准所述第三通孔且与所述框体的上表面固定连接,所述进料斗呈空心的圆台状,所述进料斗的下表面与所述进料管的上表面固定连接,所述第二弯曲杆设有两个,所述第二弯曲杆呈弯曲状,所述第二弯曲杆的上端与所述进料斗的外表面固定连接,所述第二弯曲杆的下端与所述框体的上表面固定连接,所述第五横杆设有两个,所述第五横杆呈水平状,所述第五横杆的一端与所述第二弯曲杆固定连接,所述第一弹簧呈竖直状,所述第一弹簧的上端与所述第五横杆的下表面固定连接,所述第一弹簧的下端与所述海绵块的上表面固定连接,所述海绵块呈长方体且水平放置,所述海绵块的下表面与所述框体的上表面固定连接,所述海绵块位于所述第四通孔的上方。

9.如权利要求8所述的用于农产品的节能型循环干燥系统,其特征在于:所述盖板呈圆柱体,所述盖板的下表面与所述进料斗的上表面滑动连接,所述堵塞块呈圆台状,所述堵塞块的上表面与所述盖板的下表面固定连接,所述堵塞块的侧面与所述进料斗的内表面滑动连接,所述握持环呈半圆环状,所述握持环的两端与所述盖板的上表面固定连接,所述第六横杆呈水平状,所述第六横杆的右端与所述第二弯曲杆固定连接,所述第二弹簧呈竖直状,所述第二弹簧的下端与所述第六横杆固定连接,所述第二弹簧的上端与所述盖板固定连接。