欢迎来到知嘟嘟! 联系电话:13336804447 卖家免费入驻,海量在线求购! 卖家免费入驻,海量在线求购!
知嘟嘟
我要发布
联系电话:13336804447
知嘟嘟经纪人
收藏
专利号: 2016106794757
申请人: 苏州朝霞生物科技有限公司
专利类型:发明专利
专利状态:已下证
专利领域: 农业;林业;畜牧业;狩猎;诱捕;捕鱼
更新日期:2025-09-29
缴费截止日期: 暂无
价格&联系人
年费信息
委托购买

摘要:

权利要求书:

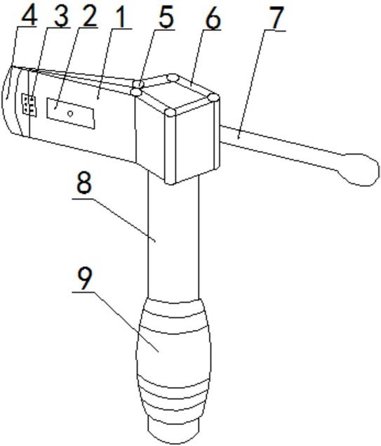
1.一种可开合的工业伐木刀,包括刀面(1)、收刀推扭(2)、刀面铰链(3)、刀刃(4)、活动轴承(5)、开合板(6)、开合手柄(7)、刀柄(8)、防滑握手(9)、可移动臂(10)、中枢轴(11)、螺钉(12)、弹簧(13)、连接器(14)、耳轴(15)、螺纹(16)、负载支承架(17)和固定板(18),其特征在于,所述刀面(1)的一端与所述刀面铰链(3)连接,所述刀面铰链(3)与所述刀刃(4)连接,所述刀面(1)的另一端与所述活动轴承(5)连接,所述活动轴承(5)与所述开合板(6)的一端连接,所述开合板(6)的另一端与第二个所述活动轴承(5)连接,所述第二个活动轴承(5)与第二块所述开合板(6)连接,四块所述开合板(6)围成的内部安装有所述固定板(18),所述固定板(18)与所述弹簧(13)的一端连接,所述弹簧(13)的另一端与所述可移动臂(10)连接,所述可移动臂(10)的一端与所述连接器(14)连接,所述连接器(14)通过所述螺钉(12)与所述中枢轴(11)连接,所述可移动臂(10)的另一端与所述耳轴(15)连接,所述耳轴(15)与所述负载支承架(17)连接;

所述固定板(18)的底部与所述刀柄(8)连接,所述刀柄(8)的表面安装有防滑握手(9);

所述中枢轴(11)与所述开合手柄(7)连接;

所述刀面(1)的表面安装有收刀推扭(2);

所述中枢轴(11)的表面设有螺纹(16)。

我要求购
我不想找了,帮我找吧
您有专利需要变现?
我要出售
智能匹配需求,快速出售