欢迎来到知嘟嘟! 联系电话:13336804447 卖家免费入驻,海量在线求购! 卖家免费入驻,海量在线求购!
知嘟嘟
我要发布
联系电话:13336804447
知嘟嘟经纪人
收藏
专利号: 2016106257850
申请人: 安徽泓森高科林业股份有限公司
专利类型:发明专利
专利状态:已下证
专利领域: 农业;林业;畜牧业;狩猎;诱捕;捕鱼
更新日期:2025-04-10
缴费截止日期: 暂无
价格&联系人
年费信息
委托购买

摘要:

权利要求书:

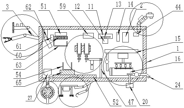
1.一种无线图像识别次苗多功能农用车,包括车体(1),其特征在于,所述车体(1)内部为空腔结构,所述车体(1)内设有蓄电池(2),所述车体(1)后表面设有一对四号机械臂(3),其中一个所述四号机械臂(3)上设有三号摄像头(4)和分光测色仪(5),其中一个所述四号机械臂(3)前端设有优次分隔板(6),所述优次分隔板(6)上设有一对对接孔(7),其中另一个所述四号机械臂(3)上设有可通过一对对接孔的U形架(8),所述U形架(8)内侧表面设有防滑胶垫(9),所述防滑胶垫(9)内设有多个凸起(10),所述车体(1)内设有次苗回收箱(11),所述次苗回收箱(11)内设有粉碎机构,所述粉碎机构是由设置在次苗回收箱(11)下方,且旋转端伸入次苗回收箱(11)内的三号旋转电机(12)、设置在三号旋转电机旋转端的一对粉碎刀片(13)共同构成的,所述车体(1)上设有可视数据记录植物生长监测单元、智能定量下种播种单元、机械助推农药配比喷洒单元、试剂定流土壤农药含量检测单元,所述车体(1)内设有控制盒(14),所述控制盒(14)分别与蓄电池(2)、一对四号机械臂(3)、三号摄像头(4)、分光测色仪(5)、三号旋转电机(12)、可视数据记录植物生长监测单元、智能定量下种播种单元、机械助推农药配比喷洒单元、试剂定流土壤农药含量检测单元电性连接。

2.根据权利要求1所述的无线图像识别次苗多功能农用车,所述机械助推农药配比喷洒单元是由设置在车体(1)内的水箱(15)和农药稀释箱(16)、设置在农药稀释箱(16)上表面,且注射端伸入农药稀释箱(16)内的多个农药注射器(17)、设置在车体(1)内,且与农药注射器(17)的推杆固定连接的气缸(18)、设置在农药注射器(17)针头处的流量传感器(19)、设置在车体(1)外下表面,且旋转端伸入农药稀释箱(16)内的二号旋转电机(20)、设置在二号旋转电机旋转端的螺旋搅拌叶片(21)、一端与水箱(15)内部相连通,且另一端与农药稀释箱(16)内部相连通的进液管(22)、一端与农药稀释箱(16)内部相连通,且另一端伸入车体(1)外的出液管(23)、与出液管(23)相对接的喷头(24)、分别设置在进液管(22)和出液管(23)上的水泵(25)共同构成的。

3.根据权利要求2所述的无线图像识别次苗多功能农用车,其特征在于,所述农药稀释箱(16)内设有液位传感器(26)。

4.根据权利要求1所述的无线图像识别次苗多功能农用车,所述智能定量下种播种单元是由设置在车体(1)内的种子储存箱(27)、设置在种子储存箱(27)下表面,且与车体(1)外部相连通的出种子通道(28)、设置在车体(1)下表面的一对三号机械臂(29)、设置在其中一个三号机械臂(29)上的挖勺(30)、设置在其中另一个三号机械臂(29)上的托板(31)、设置在托板(31)上的双向气缸(64)、分别设置在双向气缸的一对活塞杆上的竖杆(32)、设置在竖杆(32)上的半圆环压土板(33)、设置在半圆环压土板(33)下表面的多个梳齿(34)、设置在半圆环压土板(33)下表面的二号压力传感器(35)共同构成的。

5.根据权利要求4所述的无线图像识别次苗多功能农用车,下种机构是由设置在与出种子通道(28)螺纹连接的圆饼形壳体(36)、设置在圆饼形壳体(36)下端并与其内部相连通的下料管(37),设置在圆饼形壳体(36)前表面的圆形开口、设置在圆饼形壳体(36)内后表面上的一号旋转电机(38)、插装在一号旋转电机(38)旋转端的输送圆盘(39)和等角度设置在输送圆盘(39)侧表面上的多个置种子槽(40)共同构成的,所述梳齿(34)的长度为0.5-

1.5cm。

6.根据权利要求1所述的无线图像识别次苗多功能农用车,所述可视数据记录植物生长监测单元是由设置在车体(1)外表面上的开口、设置在车体(1)内,且夹取端伸出开口外的二号机械臂(41)、设置在二号机械臂(41)上的摄像头(42)、设置在摄像头(42)上,且与其电性连接的WIFI通讯模块(43)、设置在车体(1)内且与WIFI通讯模块(43)电性连接的数据存储器(44)、设置在二号机械臂(41)上的驱鸟机构共同构成的。

7.根据权利要求6所述的无线图像识别次苗多功能农用车,所述驱鸟机构是由设置在摄像头(42)上的一号压力传感器(45)和设置在二号机械臂上,且与一号压力传感器(45)电性连接的二号振动器(46)共同构成的。

8.根据权利要求1所述的无线图像识别次苗多功能农用车,所述试剂定流土壤农药含量检测单元是由设置在车体(1)内下表面的连杆(47)、与连杆(47)上端活动连接的水平杆(48)、设置在水平杆(48)上的一号直线电机(49)、设置在一号直线电机伸缩端的土壤收集器(50)、设置在车体(1)内的粉碎机(51)、设置在车体(1)内下表面的一号滑轨(52)、嵌装在一号滑轨(52)内,且可沿其长度方向运动的电动小车(53)、设置在电动小车(53)上的反应烧杯(54)、设置在车体(1)内的支架(55)、设置在支架(55)上多个试剂瓶(56)、设置在溶液试剂瓶(56)下表面的下液管(57)、设置在下液管(57)上的电磁阀(58)和流量传感器(19)、设置在车体(1)内的农药含量检测仪(59)共同构成的。

9.根据权利要求8所述的无线图像识别次苗多功能农用车,所述车体(1)上设有筛土机构,所述筛土机构是由设置在车体(1)内的筛网(60)、设置在筛网(60)上的一号振动器(61)、设置在车体(1)内的一号机械臂(62)、设置在筛网(60)下方的细土存储瓶(63)共同构成的。

10.根据权利要求9所述的无线图像识别次苗多功能农用车,所述筛网(60)的网眼直径为0.1-0.5mm。