欢迎来到知嘟嘟! 联系电话:13336804447 卖家免费入驻,海量在线求购! 卖家免费入驻,海量在线求购!
知嘟嘟
我要发布
联系电话:13336804447
知嘟嘟经纪人
收藏
专利号: 201610570673X
申请人: 浙江工业大学
专利类型:发明专利
专利状态:已下证
专利领域: 破碎、磨粉或粉碎;谷物碾磨的预处理
更新日期:2023-08-24
缴费截止日期: 暂无
价格&联系人
年费信息
委托购买

摘要:

权利要求书:

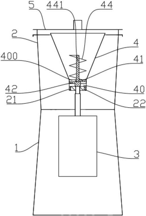
1.粉碎研磨机,包括机座、研磨杯以及杯盖,所述的研磨杯安装于机座的顶部,所述的杯盖盖合于研磨杯的上部开口,所述的机座内设有研磨电机,其特征在于:所述的研磨杯的内部设有进料斗,所述的进料斗的底部设有研磨组件,所述的研磨组件包括互相配合的静磨头和动磨头,所述的静磨头固设在所述的进料斗上,所述的动磨头布置在静磨头的中空腔内,并且与研磨电机的输出轴固接;所述的进料斗中位于研磨组件的上方设有固定挡板,所述的固定挡板的部分侧边与进料斗的侧壁连接,所述的固定挡板的另外部分侧边与进料斗的侧壁围合构成出料口,所述的出料口处设有可旋转的活动挡板,所述的活动挡板贴合于所述的固定挡板,所述的活动挡板旋转将所述的出料口间歇性打开或关闭;所述的活动挡板的下方与所述的动磨头之间形成有用于防止堵料的空腔;所述的进料斗中设有螺旋刀片,所述的螺旋刀片的刀轴穿过固定挡板后与活动挡板固定连接,所述的螺旋刀片与活动挡板同轴且同步旋转。

2.如权利要求1所述的粉碎研磨机,其特征在于:所述的研磨电机的输出轴伸入所述的研磨杯与动磨头连接。

3.如权利要求2所述的粉碎研磨机,其特征在于:所述的活动挡板连接在动磨头上。

4.如权利要求3所述的粉碎研磨机,其特征在于:所述的研磨电机的输出轴穿过动磨头与活动挡板固定连接。

5.如权利要求4所述的粉碎研磨机,其特征在于:所述的杯盖上设有可带动螺旋刀片旋转的驱动电机。

6.如权利要求5所述的粉碎研磨机,其特征在于:在所述的活动挡板上或沿所述的活动挡板的边缘设置密封橡胶。

7.如权利要求6所述的粉碎研磨机,其特征在于:所述的活动挡板贴合于固定挡板的底面,并且所述的固定挡板的顶面上位于出料口的边缘设有向上凸起的筋条。

8.如权利要求6或7所述的粉碎研磨机,其特征在于:所述的活动挡板贴合于固定挡板的底面,并且所述的固定挡板的顶面设有多个凸点。