欢迎来到知嘟嘟! 联系电话:13336804447 卖家免费入驻,海量在线求购! 卖家免费入驻,海量在线求购!
知嘟嘟
我要发布
联系电话:13336804447
知嘟嘟经纪人
收藏
专利号: 2016104301384
申请人: 辽宁科技大学
专利类型:发明专利
专利状态:已下证
专利领域: 建筑物
更新日期:2024-01-05
缴费截止日期: 暂无
价格&联系人
年费信息
委托购买

摘要:

权利要求书:

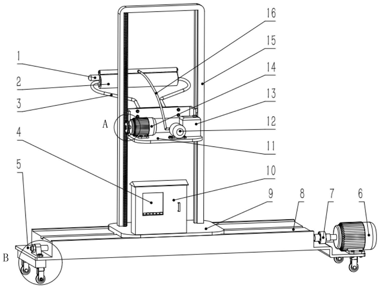
1.一种纵横向移动刷墙机,其特征在于包括横向移动机构,垂直设置在此横向移动机构上的纵向移动机构,设置在此纵向移动机构上的刷墙机构,设置在所述纵向移动机构上的反馈控制系统,所述的横向移动机构包括底座Ⅲ,与此底座Ⅲ相连接的丝杠遮挡箱,设置在所述底座Ⅲ底部的横向移动轮组,设置在所述底座Ⅲ上的丝杠支架,设置在所述底座Ⅲ上的电动机Ⅰ,与此电动机Ⅰ输出轴相连接的联轴器,与此联轴器相连接的丝杠,所述的丝杠设置在所述的丝杠遮挡箱内且支撑于所述的丝杠支架之上,所述的纵向移动机构包括与所述横向移动机构相连接的底座Ⅱ,设置在此底座Ⅱ底部的丝杠螺母,平行设置在所述底座Ⅱ上的两个纵向滑轨,设置在此两个纵向滑轨之间的且沿所述纵向滑轨上下移动的纵向移动平台,设置在所述两个纵向滑轨中任意一个纵向滑轨上的齿条,设置在每个纵向滑轨内侧的燕尾槽,所述的纵向移动平台包括底座Ⅰ,设置在此底座Ⅰ两侧边沿的燕尾槽导轨,设置在此底座Ⅰ上的电动机Ⅱ,与此电动机Ⅱ的输出轴相连接的齿轮,所述的齿轮与所述的齿条相啮合,所述的燕尾槽导轨与所述的燕尾槽滑动连接,所述的丝杠螺母与所述的丝杠相啮合。

2.根据权利要求1所述的纵横向移动刷墙机,其特征在于所述的刷墙机构包括设置在所述底座Ⅰ上漆料供给装置,与此漆料供给装置相连接的滚刷,所述的滚刷包括与所述底座Ⅰ固定连接的滚刷杆,设置在此滚刷杆上的滚刷头,所述的滚刷杆包括支干、横杆和与此横杆平行设置的漆料杆,所述的滚刷头设置在所述的横杆上,所述的漆料杆上还设有一组喷漆孔,此一组喷漆孔朝向所述的滚刷头,所述的漆料供给装置包括液压马达,与此液压马达相连接的漆料桶,与所述液压马达相连接的输料管,所述的输料管与所述的漆料杆相连接。

3.根据权利要求1所述的纵横向移动刷墙机,其特征在于所述的反馈控制系统包括设置在所述底座Ⅱ上的控制柜,设置在此控制柜上的显示屏,设置在权利要求2所述的滚刷上的压力传感器,所述的压力传感器与所述的控制柜相连接。

4.根据权利要求1所述的纵横向移动刷墙机,其特征在于所述的横向移动轮组包括一组万向轮组件,每个万向轮组件包括万向轮和与此万向轮相连接的万向轮卡件。