欢迎来到知嘟嘟! 联系电话:13336804447 卖家免费入驻,海量在线求购! 卖家免费入驻,海量在线求购!
知嘟嘟
我要发布
联系电话:13336804447
知嘟嘟经纪人
收藏
专利号: 2016102620328
申请人: 浙江工业大学
专利类型:发明专利
专利状态:已下证
专利领域: 流体压力执行机构;一般液压技术和气动技术
更新日期:2023-08-24
缴费截止日期: 暂无
价格&联系人
年费信息
委托购买

摘要:

权利要求书:

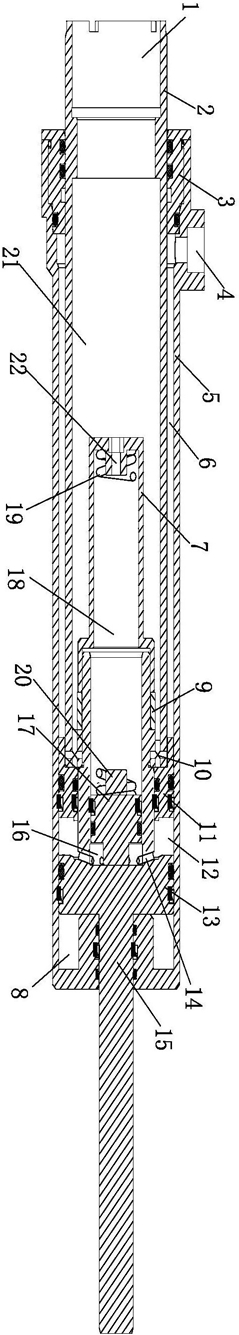
1.一种带有液体缓冲装置的气缸,其特征在于:包括缸体和可滑动地设置在缸体内的活塞杆组,所述活塞杆组包括粗细相套的粗活塞杆和细活塞杆,粗活塞杆的外端穿过缸体的左端盖,细活塞杆的外端穿过缸体的右端盖,中空的粗活塞杆具有气密的第一气腔,细活塞杆的内端穿过粗活塞杆的内端并向第一气腔内延伸,且细活塞杆与粗活塞杆相互固定;

所述粗活塞杆和细活塞杆之间设有用于减缓活塞杆组运行速度的缓冲装置;

所述缓冲装置包括第一活塞和第二活塞,所述第一活塞和第二活塞均套设在细活塞杆上,且第一活塞位于粗活塞杆内端头处,第二活塞位于第一活塞和右端盖之间,第一活塞与左端盖在缸体内围合成环绕粗活塞杆的第二气腔,第二气腔通过缸体上紧靠左端盖的第一通孔与外部连通,第二活塞与第一活塞在缸体内围合成环绕细活塞杆的第一液腔,所述第一液腔内储存有压缩液,且所述缸体的右端设有用于推动细活塞杆滑动的进气腔;

细活塞杆的内端具有中空内腔,所述中空内腔内沿轴向设有固定轴,第三活塞可滑动地套设在所述固定轴上,且第三活塞将中空内腔气密分隔成第二液腔和连接室,所述第二液腔通过开设在细活塞杆上的第三通孔与所述第一液腔连通;

所述细活塞杆的内端套设有同轴的套筒,细活塞杆的连接室通过细活塞杆内端口与套筒内腔连通构成气密的第三气腔,且第三气腔内沿轴向设有弹簧,弹簧的一端套设在套筒内端面上的定位轴上,另一端套设在所述短轴上。

2.如权利要求1所述的一种带有液体缓冲装置的气缸,其特征在于:所述第二气腔通过粗活塞杆上的第二通孔与第一气腔连通,第二通孔紧靠第一活塞面向左端盖的一侧,且第一活塞向第二通孔上延伸,并覆盖第二通孔。

3.如权利要求2所述的一种带有液体缓冲装置的气缸,其特征在于:所述粗活塞杆上沿周向设有一圈第二通孔。

4.如权利要求3所述的一种带有液体缓冲装置的气缸,其特征在于:所述细活塞杆上沿周向设有一圈第三通孔。

5.如权利要求4所述的一种带有液体缓冲装置的气缸,其特征在于:所述第三通孔沿细活塞杆倾斜设置,且第三通孔紧靠第二活塞。

6.如权利要求5所述的一种带有液体缓冲装置的气缸,其特征在于:所述细活塞杆和所述套筒之间设有同心环。

7.如权利要求6所述的一种带有液体缓冲装置的气缸,其特征在于:所述细活塞杆和所述粗活塞杆通过螺纹连接。