欢迎来到知嘟嘟! 联系电话:13336804447 卖家免费入驻,海量在线求购! 卖家免费入驻,海量在线求购!
知嘟嘟
我要发布
联系电话:13336804447
知嘟嘟经纪人
收藏
专利号: 2016102017754
申请人: 浙江工业大学
专利类型:发明专利
专利状态:已下证
专利领域: 测量;测试
更新日期:2023-08-24
缴费截止日期: 暂无
价格&联系人
年费信息
委托购买

摘要:

权利要求书:

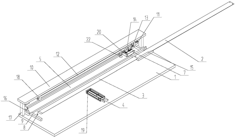
1.一种利用三通道对货架横梁安装孔进行检测的装置,其特征在于:包括底座(1)、输送带(3)、接近开关(8)、挡块(9)、推送气缸(4)、测量托架(5)、相机固定架(10)、图像拍摄模块、封闭壳体和压紧气缸(7),所述封闭壳体固定在底座(1)上,所述输送带(3)、接近开关(8)、挡块(9)、测量托架(5)、相机固定架(10)、图像拍摄模块和压紧气缸(7)均设置在封闭壳体内部;所述输送带(3)设置在底座(1)上,输送带(3)的进料口连接前置切断工序的出料口,所述输送带(3)的末端沿输送带(3)方向依次设置有接近开关(8)和挡块(9),所述接近开关(8)内嵌在底座(1)上并用于检测相应位置的底座(1)上是否有工件(2)经过,所述挡块(9)固定在底座(1)上方并用于对工件(2)进行限位;所述输送带(3)的一侧设置有垂直于输送带(3)运送方向设置的推送气缸(4),另一侧设置有测量托架(5),接近开关(8)触发后控制推送气缸(4)运动,推送气缸(4)将输送带(3)上的待测货架横梁推送到测量托架(5)上;

所述压紧气缸(7)设置在测量托架(5)上且靠近输送带(3)的进料口,所述压紧气缸(7)用于沿输送带(3)运动方向压紧工件(2);所述相机固定架(10)固定在测量托架(5)正上方,相机固定架(10)的左右两端通过两根支架(17)固定在底座(1)上;所述测量托架(5)的两端通过两根转动轴连接底座(1),所述翻转驱动模块分别连接底座(1)和测量托架(5),翻转驱动模块运动时驱动所述测量托架(5)沿两根转动轴旋转;

所述图像拍摄模块包括平行光源、工业相机(6)、反射镜组和半透半反镜组,所述平行光源设有三个,分别为红色平行光源(26)、绿色平行光源(27)和蓝色平行光源(28),所述反射镜组和半透半反镜组设置在测量托架(5)上方,所述反射镜组包括第一反射镜(31)、第二反射镜(32)、第三反射镜(33)和第四反射镜(34),所述半透半反镜组包括第一半透半反镜(29)和第二半透半反镜(30),所述工业相机(6)、红色平行光源(26)、绿色平行光源(27)和蓝色平行光源(28)均设置在所述测量托架(5)的底部,所述工业相机(6)、红色平行光源(26)、绿色平行光源(27)和蓝色平行光源(28)呈方形分布,所述第一反射镜(31)、第二反射镜(32)、第三反射镜(33)和第四反射镜(34)的高度相同,所述第一半透半反镜(29)和第二半透半反镜(30)的高度相同;所述工业相机(6)正上方从上至下依次设有第一反射镜(31)和第一半透半反镜(29),所述红色平行光源(26)正上方设有第二反射镜(32),所述蓝色平行光源(28)正上方设有第四反射镜(34),所述绿平行光源正上方从上至下依次设有第三反射镜(33)和第二半透半反镜(30);所述红色平行光源(26)射出的红色平行光线依次经过第二反射镜(32)、第一反射镜(31)和第一半透半反镜(29)后照射到工业相机(6)上,所述绿色平行光源(27)射出的绿色平行光线依次经过第二半透半反镜(30)和第一半透半反镜(29)后照射到工业相机(6)上,所述蓝色平行光源(28)射出的蓝色平行光线依次经过第四反射镜(34)、第三反射镜(33)、第二半透半反镜(30)和第一半透半反镜(29)后照射到工业相机(6)上。

2.根据权利要求1所述的一种利用三通道对货架横梁安装孔进行检测的装置,其特征在于:所述第一反射镜(31)、第二反射镜(32)和第一半透半反镜(29)均固定在第一镜组安装座上,所述第三反射镜(33)、第四反射镜(34)和第二半透半反镜(30)均固定在第二镜组安装座上。

3.根据权利要求2所述的一种利用三通道对货架横梁安装孔进行检测的装置,其特征在于:还包括丝杠驱动机构,所述丝杠驱动机构包括定位电机(11)、联轴器(13)和滚珠丝杠(12),所述滚珠丝杠(12)与输送带(3)平行设置,所述滚珠丝杠(12)通过轴承座(18)固定在相机固定架(10)上,所述滚珠丝杠(12)的一端通过联轴器(13)连接定位电机(11),所述滚珠丝杠(12)上套装有滑块(14),所述第二镜组安装座与滑块(14)固定连接,所述定位电机(11)驱动所述滚珠丝杠(12)转动时带动与滑块(14)连接的第二镜组安装座在所述测量托架(5)上方沿滚珠丝杠(12)直线运动。

4.根据权利要求1所述的一种利用三通道对货架横梁安装孔进行检测的装置,其特征在于:所述推送气缸(4)设置在所述输送带(3)的中部,推送气缸(4)的前端设置有第一推料板(19)。

5.根据权利要求1所述的一种利用三通道对货架横梁安装孔进行检测的装置,其特征在于:所述测量托架(5)靠近所述输送带(3)的一侧设置有斜坡面。

6.根据权利要求1所述的一种利用三通道对货架横梁安装孔进行检测的装置,其特征在于:所述输送带(3)的进料口的左右两侧均设置有限位挡板(15)。

7.根据权利要求1所述的一种利用三通道对货架横梁安装孔进行检测的装置,其特征在于:所述测量托架(5)上设置有L型挡边(16),所述L型挡边(16)的两条挡边相互垂直,L型挡边(16)的一条挡边用于推送气缸(4)压紧工件(2)时工件(2)另一端的限位,L型挡边(16)的另一条挡边用于压紧气缸(7)压紧工件(2)时工件(2)另一端的限位。

8.根据权利要求1所述的一种利用三通道对货架横梁安装孔进行检测的装置,其特征在于:所述滑块(14)上设有U型凹槽,相机固定架(10)底部设有条型滑块(14),所述滑块(14)通过U型凹槽套装在条形滑轨(21)上。

9.根据权利要求1所述的一种利用三通道对货架横梁安装孔进行检测的装置,其特征在于:所述测量托架(5)上设有磁栅尺,所述压紧气缸(7)的活塞杆端部连接第二推料板(20),第二推料板(20)上设置有与所述磁栅尺相配合的磁栅头。

10.根据权利要求1所述的一种利用三通道对货架横梁安装孔进行检测的装置,其特征在于:所述翻转驱动模块包括第一支座(23)、第二支座和翻转气缸(25),第一支座(23)固定在底座(1)上,第二支座固定在测量托架(5)上,翻转气缸(25)的两端分别与第一支座(23)和第二支座铰接。