欢迎来到知嘟嘟! 联系电话:13336804447 卖家免费入驻,海量在线求购! 卖家免费入驻,海量在线求购!
知嘟嘟
我要发布
联系电话:13336804447
知嘟嘟经纪人
收藏
专利号: 2016101919864
申请人: 湖州南浔石淙盛艳丝绸有限公司
专利类型:发明专利
专利状态:已下证
专利领域: 输送;包装;贮存;搬运薄的或细丝状材料
更新日期:2024-02-23
缴费截止日期: 暂无
价格&联系人
年费信息
委托购买

摘要:

权利要求书:

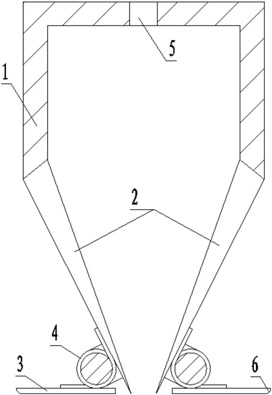
1.推平效果好的码布刀组件,其特征在于:刀架(1),刀架(1)的两侧均连接有码布刀(2);每个码布刀(2)外侧的底端部均铰接有压片(3),压片(3)和码布刀(2)之间连接有扭簧(4);所述两个码布刀(2)相互对称,且两个码布刀(2)均向中间倾斜设置。

2.根据权利要求1所述的推平效果好的码布刀组件,其特征在于:所述刀架(1)的中部设有穿布孔(5)。

3.根据权利要求1或2所述的推平效果好的码布刀组件,其特征在于:所述压片(3)的一端部设有圆角(6)。