欢迎来到知嘟嘟! 联系电话:13336804447 卖家免费入驻,海量在线求购! 卖家免费入驻,海量在线求购!
知嘟嘟
我要发布
联系电话:13336804447
知嘟嘟经纪人
收藏
专利号: 2016100603116
申请人: 常熟理工学院
专利类型:发明专利
专利状态:已下证
专利领域: 土层或岩石的钻进;采矿
更新日期:2024-02-23
缴费截止日期: 暂无
价格&联系人
年费信息
委托购买

摘要:

权利要求书:

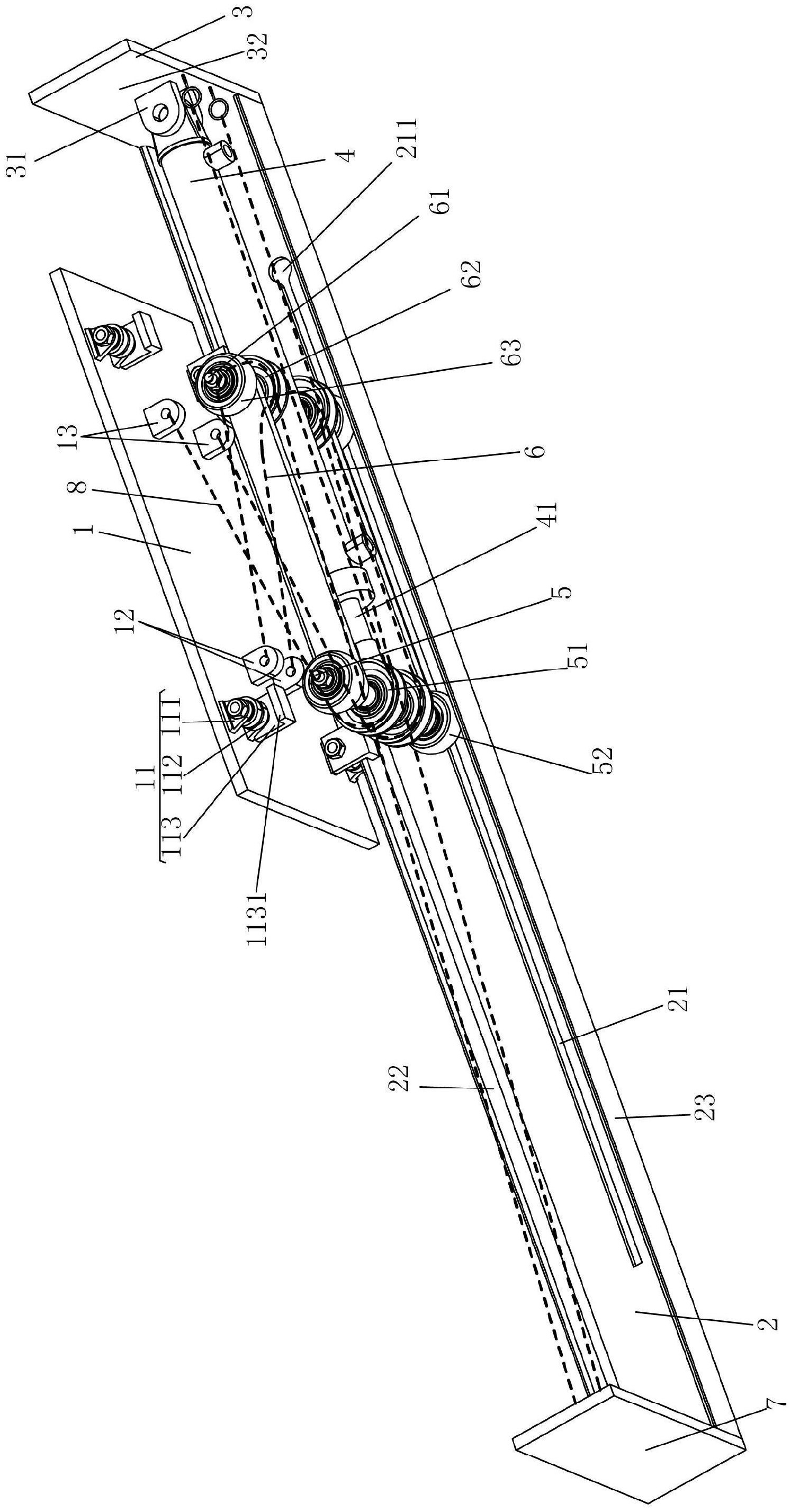
1.一种液压凿岩机推进机构,其特征在于:包括一托盘(1),用于放置并固定凿岩机机体,所述的托盘(1)在底部设有多组支撑座(11),多组支撑座(11)两两成对后沿托盘(1)的长度方向间隔设置,所述的每组支撑座(11)包括一对彼此面对面平行设置的支撑板(111),在该对支撑板(111)之间设有一组轴承(112),一对支撑板(111)中位于内侧的一支撑板(111)在远离轴承(112)的一侧设有导向块(113),托盘(1)在底部且对应长度方向左侧的位置设有一对第一钢丝绳吊耳(12),而在对应长度方向右侧的位置设有一对第二钢丝绳吊耳(13);一对槽钢(2),所述的一对槽钢(2)彼此面对面配合设置在托盘(1)的下方且由对应侧的导向块(113)进行限位,一对槽钢(2)分别与对应侧的轴承(112)构成滑配,槽钢(2)在内侧壁的中下部位置且沿长度方向开设滑槽(21);一右固定板(3),所述的右固定板(3)固定安装在一对槽钢(2)的长度方向的右端;一液压缸(4),所述的液压缸(4)设置在一对槽钢(2)之间,且长度方向的一端与所述的右固定板(3)铰接,液压缸(4)在内部型腔设有活塞杆(41),所述的活塞杆(41)的一端沿轴向从液压缸(4)的长度方向的另一端延伸至液压缸(4)的型腔外;一长轴(5),所述的长轴(5)设置在液压缸(4)的所述另一端且与活塞杆(41)垂直安装,长轴(5)在长度方向的中间位置且对应活塞杆(41)的两侧设有一对第一滑轮(51),长轴(5)在长度方向的两端分别设置一第一滚轮(52),长轴(5)的长度方向的两端端头分别卡入对应侧槽钢(2)上的滑槽(21)内,并使同侧的第一滚轮(52)与该侧的槽钢(2)构成滑配;

一对连接杆(6),所述的一对连接杆(6)与液压缸(4)平行设置且分别位于液压缸(4)的两侧,连接杆(6)的一端与长轴(5)连接,连接杆(6)的另一端朝着右固定板(3)的方向延伸,且在该端垂直设置一短轴(61),所述的短轴(61)在靠近液压缸(4)的一端设有第二滑轮(62),短轴(61)在靠近对应侧槽钢(2)的另一端设置第二滚轮(63),短轴(61)的该端端头卡入该侧槽钢(2)上的滑槽(21)内,并使第二滚轮(63)与槽钢(2)构成滑配;一左固定板(7),所述的左固定板(7)固定安装在一对槽钢(2)的长度方向的左端;钢丝绳(8),所述的钢丝绳(8)有两组,其中一组钢丝绳(8)的一端与左固定板(7)固定连接,另一端绕过一对第二滑轮(62)后与一对第一钢丝绳吊耳(12)连接;另一组钢丝绳(8)的一端与右固定板(3)固定连接,另一端绕过一对第一滑轮(51)后与一对第二钢丝绳吊耳(13)连接。

2.根据权利要求1所述的一种液压凿岩机推进机构,其特征在于所述的右固定板(3)上设有一对吊耳(31),所述的液压缸(4)通过一螺栓轴与该对吊耳(31)的配合,实现与右固定板(3)的铰接。

3.根据权利要求1所述的一种液压凿岩机推进机构,其特征在于所述的长轴(5)在中部同轴套设第一套筒(53),用于活塞杆(41)和一对第一滑轮(51)的定位,长轴(5)在对应所述第一套筒(53)两端的位置处分别同轴套设第二套筒(54),用于对应侧第一滑轮(51)与连接杆(6)的轴向定位,所述的第一滑轮(51)在滑轮孔内嵌套第一钢套(511),在所述的第一钢套(511)内孔中嵌套第一万向节轴承(512),所述的第一万向节轴承(512)与第一套筒(53)及第二套筒(54)适配;所述的短轴(61)在靠近液压缸(4)的一端同轴套设第三套筒(64),用于第二滑轮(62)与连接杆(6)的轴向定位,短轴(61)在靠近对应侧槽钢(2)的一端同轴套设第四套筒(65),用于第二滚轮(63)与连接杆(6)的轴向定位,所述的第二滑轮(62)在滑轮孔内嵌套第二钢套(621),在所述的第二钢套(621)内孔中嵌套第二万向节轴承(622),所述的第二万向节轴承(622)与第三套筒(64)适配。

4.根据权利要求1所述的一种液压凿岩机推进机构,其特征在于所述的一对槽钢(2)沿长度方向朝向液压缸(4)弯折构成彼此相对应的上、下折边(22、23),所述的上折边(22)的外壁分别与对应侧的所述轴承(112)构成滑配;所述的下折边(23)的内壁分别与对应侧的第一滚轮(52)及第二滚轮(63)构成滑配。

5.根据权利要求4所述的一种液压凿岩机推进机构,其特征在于所述的导向块(113)在靠近槽钢(2)的一端弯折构成限位脚(1131),所述的槽钢(2)的上折边(22)与对应侧的限位脚(1131)面对面配合并支承在该限位脚(1131)上。

6.根据权利要求1所述的一种液压凿岩机推进机构,其特征在于所述的滑槽(21)在长度方向的一端开设安装孔(211),所述的安装孔(211)与滑槽(21)连通,用于长轴(5)和短轴(61)的两端端头的插入安装。

7.根据权利要求1所述的一种液压凿岩机推进机构,其特征在于所述的左固定板(7)上设有用于连接一组钢丝绳(8)的左松紧螺栓(71),所述的右固定板(3)上设有用于连接另一组钢丝绳(8)的右松紧螺栓(32),左松紧螺栓(71)及右松紧螺栓(32)对钢丝绳(8)进行预紧。

8.一种如权利要求1所述的一种液压凿岩机推进机构的电液驱动系统,其特征在于:包括高速电磁开关阀T1、T2、电液比例减压阀K、溢流阀P、控制器U、液压泵Y、流量传感器S1以及压力传感器S2,所述的高速电磁开关阀T1、T2分别与所述的液压缸(4)的进、出油口连接,高速电磁开关阀T1、T2又共同与电液比例减压阀K连接,电液比例减压阀K分别与液压泵Y及溢流阀P连接,所述的控制器U分别与高速电磁开关阀T1、T2以及电液比例减压阀K连接,所述的流量传感器S1分别与液压缸(4)的进油口以及高速电磁开关阀T1、T2的出油口连接,所述的压力传感器S2与液压缸(4)的进油口连接,流量传感器S1和压力传感器S2还分别与控制器U电连接。