欢迎来到知嘟嘟! 联系电话:13336804447 卖家免费入驻,海量在线求购! 卖家免费入驻,海量在线求购!
知嘟嘟
我要发布
联系电话:13336804447
知嘟嘟经纪人
收藏
专利号: 2015202353794
申请人: 何春旺
专利类型:实用新型
专利状态:已下证
专利领域: 飞行器;航空;宇宙航行
更新日期:2024-04-09
缴费截止日期: 暂无
价格&联系人
年费信息
委托购买

摘要:

权利要求书:

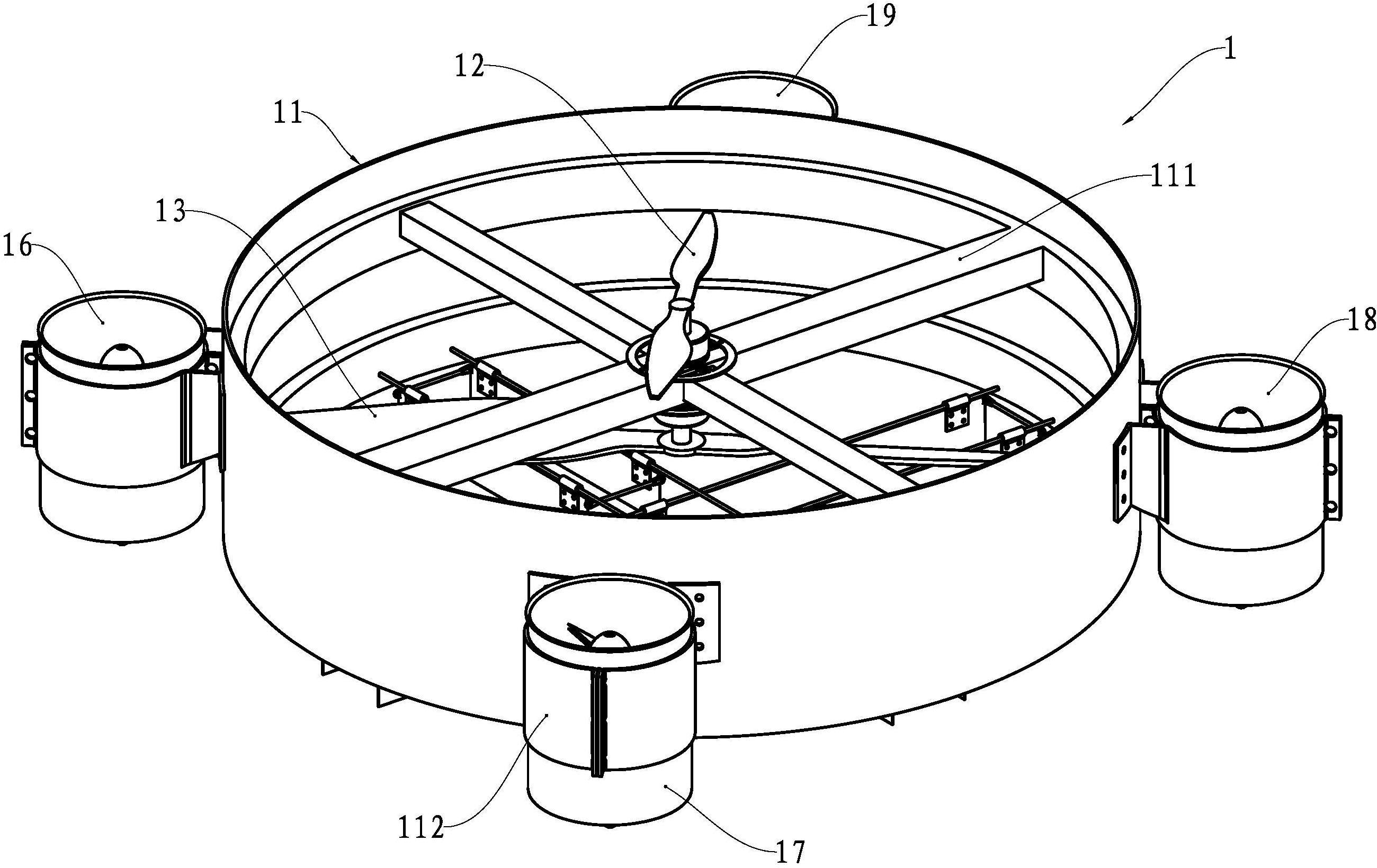
1.动力系统,包括涵道、第一旋翼单元及第二旋翼单元;

所述第一旋翼单元包括第一旋翼,所述第二旋翼单元包括第二旋翼;

所述第一旋翼与所述第二旋翼均置于所述涵道内;

所述第一旋翼的轴线与所述第二旋翼的轴线均与所述涵道的中线共线;

其特征在于:

所述第一旋翼与所述第二旋翼的至少一个旋翼参数不同;

所述旋翼参数为桨型、桨径、桨距角及桨叶数量。

2.根据权利要求1所述动力系统,其特征在于:所述第一旋翼的桨径与所述第二旋翼的桨径之比为0.3至0.6。

3.根据权利要求1所述动力系统,其特征在于:所述第一旋翼的桨距角比所述第二旋翼的桨距角小。

4.根据权利要求 3所述动力系统,其特征在于:所述第一旋翼的桨距角为35度,所述第二旋翼的桨距角为40度。

5.根据权利要求2至4任一项所述动力系统,其特征在于:所述第一旋翼位于所述第二旋翼的上方。

6.根据权利要求1所述动力系统,其特征在于:所述第一旋翼的桨叶数量大于所述第二旋翼的桨叶数量;

所述第一旋翼位于所述第二旋翼的上方。

7.根据权利要求1所述动力系统,其特征在于:所述第一旋翼的桨距角小于所述第二旋翼的桨距角;

所述第一旋翼位于所述第二旋翼的上方;

所述第一旋翼与所述第二旋翼的桨叶数量均为3片。

8.飞行器,包括机架及安装于所述机架上一套以上的动力系统;

所述动力系统包括涵道、第一旋翼单元及第二旋翼单元,所述第一旋翼单元包括第一旋翼,所述第二旋翼单元包括第二旋翼;

所述第一旋翼及所述第二旋翼均置于所述涵道内;

所述第一旋翼的轴线与所述第二旋翼的轴线均与所述涵道的中线共线;

其特征在于:

所述第一旋翼与所述第二旋翼的至少一个旋翼参数不同;

所述旋翼参数为桨型、桨径、桨距角及桨叶数量。

9.根据权利要求8所述飞行器,其特征在于:所述第一旋翼的桨径与所述第二旋翼的桨径之比为0.3至0.6;

所述第一旋翼的桨距角比所述第二旋翼的桨距角小;

所述第一旋翼的桨叶数量大于所述第二旋翼的桨叶数量;

所述第一旋翼与所述第二旋翼的桨距角为定值;

所述第一旋翼位于所述第二旋翼的上方。

10.根据权利要求8所述飞行器,其特征在于:所述第一旋翼的桨距角小于所述第二旋翼的桨距角;

所述第一旋翼位于所述第二旋翼的上方;

所述第一旋翼与所述第二旋翼的桨叶数量均为3片。