欢迎来到知嘟嘟! 联系电话:13336804447 卖家免费入驻,海量在线求购! 卖家免费入驻,海量在线求购!
知嘟嘟
我要发布
联系电话:13336804447
知嘟嘟经纪人
收藏
专利号: 2015109964295
申请人: 湖南师范大学
专利类型:发明专利
专利状态:已下证
专利领域: 测量;测试
更新日期:2024-01-05
缴费截止日期: 暂无
价格&联系人
年费信息
委托购买

摘要:

权利要求书:

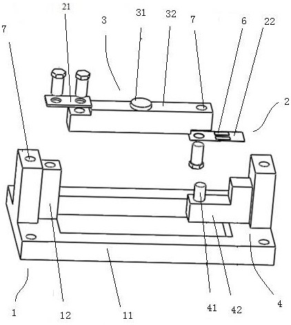
1.一种微力及微位移放大传感器,包括固定结构(1)、应变结构(2)、施力结构(3),其特征是,还包括设置在应变结构(2)下方的过载保护结构(4),过载保护结构由限位杆(41)与支撑刚性体(42)构成;

所述固定结构(1)包括刚性体基座(11),以及竖直刚性体(12);

所述应变结构(2)包括辅助弹性薄片(21),以及设置有应变片(6)的主弹性薄片(22),所述主弹性薄片(22)的一端与施力结构(3)通过安装孔(7)固定,另一端通过预紧力与过载保护结构(4)预接触,辅助弹性薄片(21)的两端分别与竖直刚性体(12)和施力结构(3)通过安装孔(7)固定;

所述施力结构(3)包括施力点(31),以及起位移放大作用的水平刚性体(32);

主弹性薄片(22)在施力点(31)施加微力时产生最大位移最下方,设置一根限位杆(41),限位杆(41)根据位移放大情况,调整两者间的间隙。

2.根据权利要求1所述的一种微力及微位移放大传感器,其特征是,水平刚性体(32)与主弹性薄片(22)构成悬臂梁结构,同时通过预紧力保持主弹性薄片(22)与支撑刚性体(42)预接触。

3.根据权利要求1所述的一种微力及微位移放大传感器,其特征是,所述的过载保护结构(4)固定在刚性体基座(11)上,调整过载保护结构(4)与主弹性薄片(22)间的间隙保持在

0.1mm至0.5mm。

4.根据权利要求1所述的一种微力及微位移放大传感器,其特征是,所述竖直刚性体(12)与施力结构(3),通过辅助弹性薄片(21)桥接。

5.根据权利要求1所述的一种微力及微位移放大传感器,其特征是,主弹性薄片(22)上贴有应变片(6),所述应变片(6)构成惠更斯桥式电路。

6.根据权利要求1所述的一种微力及微位移放大传感器,其特征是,主弹性薄片(22)的厚度为辅助弹性薄片(21)厚度的1/10至1/5倍,主弹性薄片(22)的长度是辅助弹性薄片(21)的5至10倍。

7.根据权利要求1至6任一项所述的一种微力及微位移放大传感器,其特征是,包括以下操作步骤:步骤A、将传感器固定在刚性基底上;

步骤B、在施力结构(3)处施加载荷;

步骤C、通过在主弹性薄片(22)上的四片应变片(6)的变化情况来检测微力、微位移;

步骤D、利用步骤B、C计算所施加的应力、位移的大小,通过四片应变片(6)电阻的变化来求电压变化值的大小:电桥四臂接入四片应变片(6),即两个受拉应变,两个受压应变,将两个应变符号相同的接入相对桥臂上;

其中,R1=R2=R3=R4=R,ΔR1=ΔR2=ΔR3=ΔR4=ΔR,U0为电压变化值,E0为与KU相关的系统系数,KU为电桥电压灵敏度;

设施力点(31)的中心距离竖直刚性体(12)的距离为L1,最大位移点距离竖直刚性体(12)的距离为L2,施力点力为F1,最大应变处力大小为F2,Δs为最大位移量,Δy为施力点位移量;

通过电阻变化可以计算出施力点的力F1的大小,可得施力点位移与最大位移量之间的关系为公式(a):设b为主弹性薄片(22)宽度,h为主弹性薄片(22)厚度,l为主弹性薄片(22)上应变片(6)中心至支撑刚性体(42)的长度,使产生微小位移的力等效为F2,E为弹性模量,则最大位移变化量为公式(b):在主弹性薄片靠近支撑刚性体(42)处的支撑力为F3,方向与最大应变处力F2大小相等方向相反,l′为应变片中心点到最大位移处距离,最大位移处的应变为公式(c):由公式(a)(b)(c)得公式(d):

当位移与主弹性薄片(22)厚度不变时,应变量与主弹性薄片(22)长度的平方成反比;

当位移与主弹性薄片(22)长度不变时,应变量与主弹性薄片(22)厚度成正比。

8.根据权利要求7所述的一种微力及微位移放大传感器,其特征是,所述微力为0.1至

5N。

9.根据权利要求8所述的一种微力及微位移放大传感器,其特征是,所述微位移为1至

30μm。