欢迎来到知嘟嘟! 联系电话:13336804447 卖家免费入驻,海量在线求购! 卖家免费入驻,海量在线求购!
知嘟嘟
我要发布
联系电话:13336804447
知嘟嘟经纪人
收藏
专利号: 2015109089937
申请人: 浙江工业大学
专利类型:发明专利
专利状态:已下证
专利领域: 磨削;抛光
更新日期:2024-02-23
缴费截止日期: 暂无
价格&联系人
年费信息
委托购买

摘要:

权利要求书:

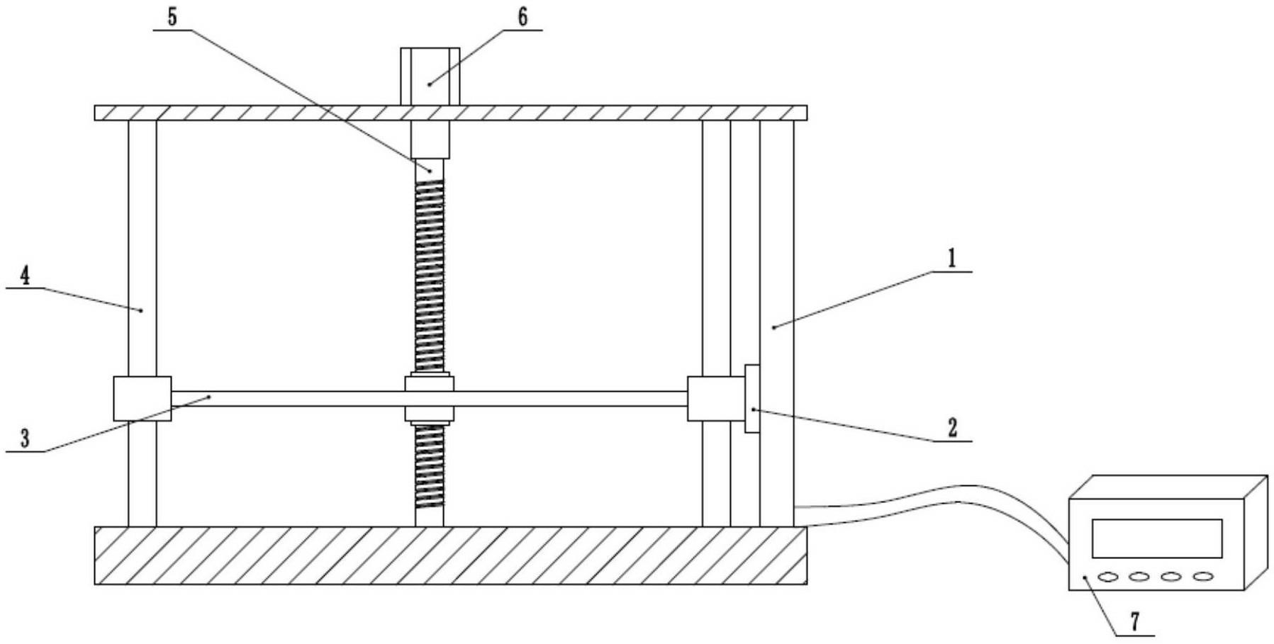
1.一种液动压力、浮力及上浮距离的检测方法,所采用的液动压抛光设备包括抛光盘、容器、滚珠花键轴、动板和侧板,抛光盘通过联轴器连接滚珠花键轴,滚珠花键轴固定在动板上,且动板在直线导轨、滚珠丝杠和步进电机的带动下能够沿竖直方向上下运动;抛光下端设有容器,其特征在于:所述检测方法包括如下步骤:将用于浮力测量的硅压阻式压力传感器固定在容器底部,切在容器底部的同一圆周上均布了四个,该圆周与抛光盘底部的工件贴片位置相对应;

将用于液动压力检测的压电式测力传感器安装在滚珠花键轴的上方,并且压电式测力传感器与千分尺旋钮连接,通过调节千分尺旋钮能够调节压电式测力传感器的上下位置从而实现压电式测力传感器与滚珠花键轴的接触与分离,压电式测力传感器与数显表连接;

将用于检测间隙距离的电感式传感器固定在容器底部,且沿容器底部同一圆周上均布三个电感式传感器;

将用于检测浮动距离的光栅读数头设置在动板上,并利用步进电机驱动滚珠丝杠,带动动板和光栅读数头做升降运动,直线导轨起支撑和传动作用,数显表与光栅读数头连接,通过数显表显示光栅读数头的运动。

2.根据权利要求1所述的一种液动压力、浮力及上浮距离的检测方法,其特征在于:所述硅压阻式压力传感器采用埋入式结构均布在容器的底部。

3.根据权利要求1所述的一种液动压力、浮力及上浮距离的检测方法,其特征在于:所述电感式传感器采用埋入式结构安装在所述容器的底部。

4.根据权利要求1所述的一种液动压力、浮力及上浮距离的检测方法,其特征在于:所述电感式传感器通过采集卡将数据采集到工控机。