欢迎来到知嘟嘟! 联系电话:13336804447 卖家免费入驻,海量在线求购! 卖家免费入驻,海量在线求购!
知嘟嘟
我要发布
联系电话:13336804447
知嘟嘟经纪人
收藏
专利号: 201510804389X
申请人: 浙江理工大学
专利类型:发明专利
专利状态:已下证
专利领域: 织造
更新日期:2024-10-26
缴费截止日期: 暂无
价格&联系人
年费信息
委托购买

摘要:

权利要求书:

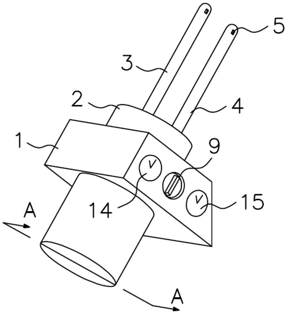
1.一种喷气织机用辅助喷嘴,包括带有气流室的喷嘴本体,以及安装在喷嘴本体上的喷头,其特征在于,所述喷头包括平行设置的第一喷头和第二喷头,所述第一喷头内设有与气流室相连通的第一气流通道,所述第二喷头内设有与气流室相连通的第二气流通道,第一喷头和第二喷头上均开设有矩形的喷气孔,且第一喷头和第二喷头上的喷气孔朝向一致。

2.如权利要求1所述的喷气织机用辅助喷嘴,其特征在于,所述喷气孔的开口呈长方形,其面积为2~2.5mm2。

3.如权利要求2所述的喷气织机用辅助喷嘴,其特征在于,第一喷头和第二喷头之间的距离为5~7mm。

4.如权利要求1所述的喷气织机用辅助喷嘴,其特征在于,所述喷嘴本体上还安装有用于调节第一气流通道和第二气流通道内气体流量的调流阀。

5.如权利要求4所述的喷气织机用辅助喷嘴,其特征在于,所述调流阀包括:安装在喷嘴本体外壁上的旋转开关;

一端固定在旋转开关上、另一端伸入气流室内的阀杆,所述阀杆与喷嘴本体密封配合;

固定在阀杆上、且用于全部或部分遮挡第一气流通道或第二气流通道入口处的扇形板。

6.如权利要求4所述的喷气织机用辅助喷嘴,其特征在于,所述喷嘴本体上还安装有用于监控第一气流通道和第二气流通道内气体流量的流量表。

7.一种喷气织机,包括设有纬纱通路的异形筘、正对所述纬纱通路起始端的主喷嘴以及沿纬纱通路延伸方向依次布置的辅助喷嘴,其特征在于,所述辅助喷嘴为权利要求1~6任一所述的喷气织机用辅助喷嘴。

8.如权利要求7所述的喷气织机,其特征在于,所述辅助喷嘴包括沿纬纱通路延伸方向依次布置的前段辅助喷嘴组和后段辅助喷嘴组,每一辅助喷嘴均采用独立的电磁阀控制。

9.如权利要求8所述的喷气织机,其特征在于,所述前段辅助喷嘴组包括等距布置的若干个第一辅助喷嘴,相邻两个第一辅助喷嘴之间的距离为70~80mm;第一个第一辅助喷嘴与主喷嘴之间的距离为40~50mm。

10.如权利要求8所述的喷气织机,其特征在于,所述后段辅助喷嘴组包括等距布置的3~4个第二辅助喷嘴,相邻两个第二辅助喷嘴之间的距离为50~55mm;第一个第二辅助喷嘴与最后一个第一辅助喷嘴之间的距离为70~80mm。