欢迎来到知嘟嘟! 联系电话:13336804447 卖家免费入驻,海量在线求购! 卖家免费入驻,海量在线求购!
知嘟嘟
我要发布
联系电话:13336804447
知嘟嘟经纪人
收藏
专利号: 201510748289X
申请人: 青岛亿嘉诺日化有限公司
专利类型:发明专利
专利状态:已下证
专利领域: 医学或兽医学;卫生学
更新日期:2024-02-23
缴费截止日期: 暂无
价格&联系人
年费信息
委托购买

摘要:

权利要求书:

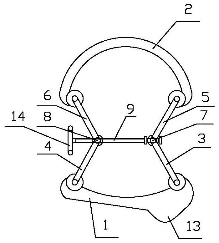
1.用于下颌骨髁突手术的复位撑开器,包括与人体下颌切迹对应的下撑合部(1)、与人体下颌切迹对应的颧弓吻合的上撑合部(2),其特征在于:所述下撑合部(1)的两端分别铰接有下撑前杆(3)和下撑后杆(4),所述上撑合部(2)的两端分别铰接有上撑前杆(5)和上撑后杆(6);所述下撑前杆(3)的上端与上撑前杆(5)的下端铰接在前铰轴(7)上,所述下撑后杆(4)的上端与上撑后杆(6)的下端铰接在后铰轴(8)上,所述前铰轴(7)和后铰轴(8)均安装在中轴(9)上;中轴(9)的外表面设有外螺纹和花键槽,所述前铰轴( 7) 和后铰轴( 8) 均通过花键槽套装在中轴(9)上,所述中轴(9)上通过外螺纹套装有螺母(10),管状的螺母套(11)可滑动地套装在所述螺母(10)上,所述螺母(10)的外表面设有蜗轮,所述螺母套(11)与螺母(10)之间带有间隙,所述螺母套(11)上贯穿安装有蜗杆(12),所述蜗杆垂直于所述螺母和中轴;所述蜗杆(12)两端的光杆段滑动安装在螺母套(11)的管壁上,所述蜗杆(12)位于螺母套(11)内腔的中段通过蜗轮蜗杆配合与所述螺母(10)啮合,蜗杆(12)旋转的时候推动螺母(10)旋转,从而使其在中轴(9)上移动,推动前铰轴(7)或者后铰轴(8)改变位置距离;在螺母(10)的两端面上设有与中轴(9)同心的圆形卡槽,在螺母套(11)的两端面设有端盖,所述端盖上对应位置设有匹配圆形卡槽的卡环(15),卡环(15)卡装在圆形卡槽中;

所述上撑合部(2)为上凸的圆弧形,所述下撑合部(1)为下凹的圆弧形,下撑合部(1)前端的下面设有一凸起部位(13)。

我要求购
我不想找了,帮我找吧
您有专利需要变现?
我要出售
智能匹配需求,快速出售