欢迎来到知嘟嘟! 联系电话:13095918853 卖家免费入驻,海量在线求购! 卖家免费入驻,海量在线求购!
知嘟嘟
我要发布
联系电话:13095918853
知嘟嘟经纪人
收藏
专利号: 2015105456301
申请人: 西安科技大学
专利类型:发明专利
专利状态:已下证
专利领域: 测量;测试
更新日期:2024-02-23
缴费截止日期: 暂无
价格&联系人
年费信息
委托购买

摘要:

权利要求书:

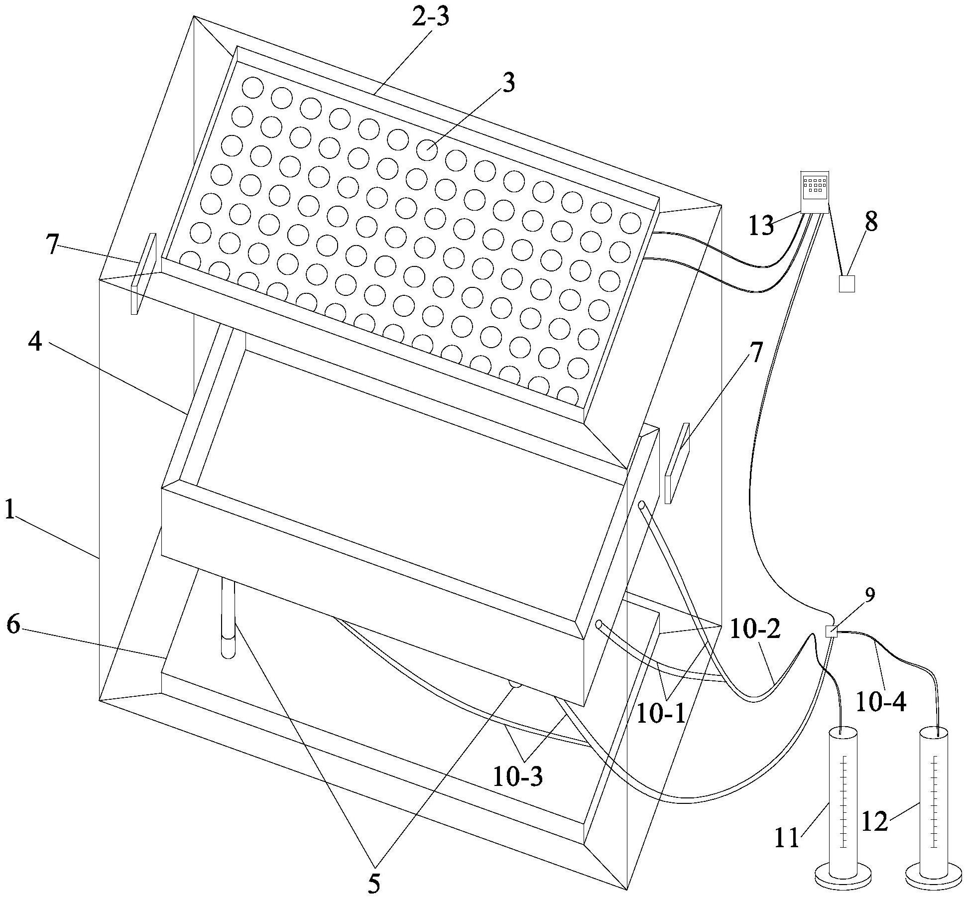
1.一种室内冻土水分迁移规律模拟系统,其特征在于:包括模拟系统箱体(1)、冻土水分迁移规律特征参数测量系统和试验数据采集及控制器(13),以及设置在模拟系统箱体(1)内部的冷热一体机(7)、降雪模拟系统、地质模型系统和太阳辐射热模拟系统;

所述降雪模拟系统包括嵌入安装在模拟系统箱体(1)顶部的降雪槽(2-3)、设置在降雪槽(2-3)内的固定支架(2-1)和嵌入安装在固定支架(2-1)上的多个降雪点模拟机构(3),每个所述降雪点模拟机构(3)均包括顶部和底部均敞口设置的储冰筒(3-3)以及设置在储冰筒(3-3)顶部的启封盖(3-1),所述储冰筒(3-3)的底部设置有十字支撑杆(3-6),所述十字支撑杆(3-6)的中心安装有降雪电机(3-5),所述降雪电机(3-5)的输出轴上固定连接有旋转切冰刀(3-4),所述启封盖(3-1)的内底面上连接有冰块防转杆(3-8),所述冰块防转杆(3-8)上套装有用于将冰块(3-7)压紧在旋转切冰刀(3-4)上的压力弹簧(3-2),所述冰块防转杆(3-8)横截面的形状为矩形,所述冰块(3-7)上开有供冰块防转杆(3-8)穿入且与冰块防转杆(3-8)紧密配合的柱状孔(3-9);所述降雪槽(2-3)的底部安装有用于振动降落旋转切冰刀(3-4)切落的雪花的振动筛(2-2);多个储冰筒(3-3)中的任意一个储冰筒的顶部安装有超声波测距传感器(3-10);

所述地质模型系统包括底座(6)和通过多个千斤顶(5)支撑安装在底座(6)上的地质模型槽(4),所述地质模型槽(4)的底部设置有用于在地质模型槽(4)内底部形成储水空间的经纬格栅板(4-2),所述经纬格栅板(4-2)上设置有多个出水孔洞,所述经纬格栅板(4-2)的顶部设置有陶土板(4-3),所述陶土板(4-3)的四周边沿均与地质模型槽(4)内壁粘接,所述陶土板(4-3)的顶部用于放置试验土样(4-1);

所述太阳辐射热模拟系统包括用于模拟太阳光照的电热管(14)、用于带动电热管(14)在模拟系统箱体(1)内前后运动的电热管前后运动机构和用于带动电热管(14)在模拟系统箱体(1)内左右运动的电热管左右运动机构,所述电热管(14)设置在所述地质模型系统与所述降雪模拟系统之间,所述电热管(14)的旁侧设置有用于对电热管(14)的加热温度进行实时检测的电热管温度传感器(29);

所述冻土水分迁移规律特征参数测量系统包括土壤温度及含水率测量系统、降雪径流量测量系统和降雪出渗量测量系统,所述土壤温度及含水率测量系统包括分多层埋设在试验土样(4-1)内的多个土壤温湿度传感器(33),每层所述土壤温湿度传感器(33)的数量均为多个,各层中多个所述土壤温湿度传感器(33)呈正方形网格均匀布设,多层中相邻两层的多个所述土壤温湿度传感器(33)均按相等间距上下相对布设;所述降雪径流量测量系统包括降雪径流量测量量杯(11)和设置在地质模型槽(4)侧面的多个降雪径流量测量孔,以及连接在所述降雪径流量测量孔上的降雪径流量测量分管(10-1)和与降雪径流量测量分管(10-1)连接并接入降雪径流量测量量杯(11)内的降雪径流量测量总管(10-2);

所述降雪出渗量测量系统包括降雪出渗量测量量杯(12)和设置在地质模型槽(4)底面上的多个降雪出渗量测量孔,以及连接在所述降雪出渗量测量孔上的多根降雪出渗量测量分管(10-3)和与降雪出渗量测量分管(10-3)连接并接入降雪出渗量测量量杯(12)内的降雪出渗量测量总管(10-4),所述降雪出渗量测量总管(10-4)上设置有用于对渗出试验土样(4-1)的消融水的流量进行实时检测的流量传感器(9);

所述试验数据采集及控制器(13)包括微控制器(13-1)和与微控制器(13-1)相接且用于与计算机(8)连接的串口通信电路(13-2),所述微控制器(13-1)的输出端接有液晶显示器(13-5)和用于驱动降雪电机(3-5)的第一电机驱动器(13-6),所述超声波测距传感器(3-10)、流量传感器(9)、电热管温度传感器(29)和多个土壤温湿度传感器(33)均与微控制器(13-1)的输入端连接。

2.按照权利要求1所述的室内冻土水分迁移规律模拟系统,其特征在于:所述旋转切冰刀(3-4)包括圆盘形的切冰刀体(3-41)和均匀设置在切冰刀体(3-41)上的多排从切冰刀体(3-41)的中心向外发散的切冰孔(3-42),每个所述切冰孔(3-42)内均设置有金刚石刀刃(3-43)。

3.按照权利要求1所述的室内冻土水分迁移规律模拟系统,其特征在于:所述旋转切冰刀(3-4)的底端距离储冰筒(3-3)的底端的距离为2cm~5cm。

4.按照权利要求1所述的室内冻土水分迁移规律模拟系统,其特征在于:所述电热管前后运动机构包括电热管前后运动小车(15)和沿模拟系统箱体(1)的前后方向设置在模拟系统箱体(1)内的门字型框架(16),所述电热管(14)悬挂在电热管前后运动小车(15)的底部,所述门字型框架(16)的顶部设置有供电热管前后运动小车(15)行走的电热管前后运动导轨(17),所述门字型框架(16)的顶部一侧设置有电热管前后运动电机(22),所述门字型框架(16)的顶部另一侧设置有第一电热管前后运动带轮(24),所述电热管前后运动电机(22)的输出轴上连接有第二电热管前后运动带轮,所述第一电热管前后运动带轮(24)和所述第二电热管前后运动带轮上连接有电热管前后运动皮带(23),所述电热管前后运动小车(15)的底部与电热管前后运动皮带(23)固定连接;所述电热管左右运动机构包括沿模拟系统箱体(1)的左右方向设置在模拟系统箱体(1)底部的两条电热管左右运动导轨(18),所述门字型框架(16)的一侧底部设置有沿其中一条电热管左右运动导轨(18)运动的电热管左右主动运动导轮(26)和与电热管左右主动运动导轮(26)同轴连接的第一电热管左右运动链轮(25),所述门字型框架(16)的另一侧底部设置有沿另一条电热管左右运动导轨(18)运动的电热管左右从动运动导轮(32),与电热管左右主动运动导轮(26)相配合的电热管左右运动导轨(18)的两侧分别设置有电热管左右运动电机(19)和第二电热管左右运动链轮(21),所述电热管左右运动电机(19)的输出轴上连接有第三电热管左右运动链轮,所述第一电热管左右运动链轮(25)、第二电热管左右运动链轮(21)和所述第三电热管左右运动链轮上连接有电热管左右运动链条(20);所述微控制器(13-1)的输入端接有电热管左右运动按钮(13-3)和电热管前后运动按钮(13-4),所述微控制器(13-1)的输出端接有用于驱动电热管左右运动电机(19)的第二电机驱动器(13-7)、用于驱动电热管前后运动电机(22)的第三电机驱动器(13-8)和用于控制电热管(14)通断电的继电器(13-9),所述继电器(13-9)的线圈串联在电热管(14)的供电回路中。

5.按照权利要求4所述的室内冻土水分迁移规律模拟系统,其特征在于:所述电热管前后运动导轨(17)的前后两端分别设置有电热管前限位开关(31)和电热管后限位开关(30),与电热管左右从动运动导轮(25)相配合的电热管左右运动导轨(18)的左右两端分别设置有电热管左限位开关(28)和电热管右限位开关(27),所述电热管前限位开关(31)、电热管后限位开关(30)、电热管左限位开关(28)和电热管右限位开关(27)均与微控制器(13-1)的输入端连接。

6.按照权利要求1所述的室内冻土水分迁移规律模拟系统,其特征在于:各层中多个所述土壤温湿度传感器(33)呈1m×1m的正方形网格均匀布设,多层中相邻两层的多个所述土壤温湿度传感器(33)均按0.5m的相等间距上下相对布设。

7.一种利用如权利要求4所述的室内冻土水分迁移规律模拟系统进行室内冻土水分迁移规律特征参数测定的方法,其特征在于该方法包括以下步骤:

步骤一、构建地质模型:操作多个千斤顶(5),使地质模型槽(4)处于水平放置后,将试验土样(4-1)分层填装到地质模型槽(4)内陶土板(4-3)的顶部,并进行土样夯击填筑;然后,再操作多个千斤顶(5),调整地质模型槽(4)的坡度为试验坡度;

步骤二、装配降雪点模拟机构:将冰块(3-7)放入储冰筒(3-3)内,将冰块防转杆(3-8)插入柱状孔(3-9)内,并将启封盖(3-1)连接在储冰筒(3-3)顶部;所述冰块(3-7)为圆柱形冰块;

步骤三、参数设置:在计算机(8)上输入总降雪量Qz和电热管加热温度T3,计算机(8)根据公式 计算得到单个冰块(3-7)的下降高度限值h0,并通过串口通信电路(13-2)将单个冰块(3-7)的下降高度限值h0和电热管加热温度T3传输给微控制器(13-1);

其中,S为单个冰块(3-7)的横截面积,n为冰块(3-7)的数量;

步骤四、测量试验土样冻结前的初始含水率:多个土壤温湿度传感器(33)分别对试验土样(4-1)的温度和湿度进行一次检测并将检测到的多个测试点处试验土样(4-1)的温度信号和湿度信号传输给微控制器(13-1),微控制器(13-1)再将其接收到的多个测试点处试验土样(4-1)的温度信号和湿度信号通过串口通信电路(13-2)实时传输给计算机(8),计算机(8)接收并记录多个测试点处试验土样(4-1)的温度信号和湿度信号,并将各个测试点处试验土样(4-1)的湿度信号记录为各个测试点处试验土样冻结前的初始含水率θo;

步骤五、模拟冻土环境并测量试验土样冻结前的谷值含水率:调节冷热一体机(7)的温度为冻土环境温度T4,模拟系统箱体(1)内的温度逐渐下降并达到冻土环境温度T4的过程中,多个土壤温湿度传感器(33)分别对试验土样(4-1)的温度和湿度进行周期性检测并将检测到的多个测试点处试验土样(4-1)的温度信号和湿度信号传输给微控制器(13-1),微控制器(13-1)再将其接收到的多个测试点处试验土样(4-1)的温度信号和湿度信号通过串口通信电路(13-2)实时传输给计算机(8),计算机(8)接收并记录各个采样时刻多个测试点处试验土样(4-1)的温度信号和湿度信号,且对各个测试点处多个采样时刻的湿度进行从大到小排列,并将各个测试点处排列在最后的湿度值记录为该测试点处试验土样冻结前的谷值含水率θv;

步骤六、进行降雪模拟并测量试验土样冻结后的稳定含水率:调节冷热一体机(7)的温度为降雪温度T1后,操作计算机(8),启动降雪模式,计算机(8)通过串口通信电路(13-2)发送降雪模式启动的信号给微控制器(13-1),微控制器(13-1)通过第一电机驱动器(13-6)驱动降雪电机(3-5)转动,降雪电机(3-5)带动旋转切冰刀(3-4)转动,切割冰块(3-7)产生降雪,降雪过程中,超声波测距传感器(3-10)对其中一个所述储冰筒(3-3)冰块(3-7)的下降高度进行实时检测并将检测到的冰块(3-7)的下降高度实时传输给微控制器(13-1),微控制器(13-1)将其接收到的冰块(3-7)的下降高度与单个冰块(3-7)的下降高度限值h0进行比对,当冰块(3-7)的下降高度达到单个冰块(3-7)的下降高度限值h0时,微控制器(13-1)通过第一电机驱动器(13-6)驱动降雪电机(3-5)停止转动,此时的总降雪量达到了Qz;同时,降雪过程中,多个土壤温湿度传感器(33)分别对试验土样(4-1)的温度和湿度进行周期性检测并将检测到的多个测试点处试验土样的温度信号和湿度信号传输给微控制器(13-1),微控制器(13-1)再将其接收到的多个测试点处试验土样(4-1)的温度信号和湿度信号通过串口通信电路(13-2)实时传输给计算机(8),计算机(8)接收并记录各个采样时刻多个测试点处试验土样(4-1)的温度信号和湿度信号,且对各个测试点处多个采样时刻的湿度按照时间先后顺序进行排列,当相邻两个采样时刻的湿度差值小于等于1%时,说明该测试点处试验土样(4-1)的湿度已稳定,将相邻两个采样时刻中后一个采样时刻的湿度值记录为该测试点处试验土样冻结后的稳定含水率θf;

步骤七、进行太阳辐射热模拟:调节冷热一体机(7)的温度为降雪入渗温度T2后,操作计算机(8),启动降雪入渗模式,计算机(8)通过串口通信电路(13-2)发送降雪入渗模式启动的信号给微控制器(13-1),微控制器(13-1)控制继电器(13-9)接通电热管(14)的供电回路,电热管(14)开始加热,电热管(14)加热过程中,电热管温度传感器(29)对电热管(14)的加热温度进行实时检测并将检测到的信号实时传输给微控制器(13-1),微控制器(13-1)将其接收到的加热温度检测值与电热管加热温度T3相比对,当加热温度检测值达到电热管加热温度T3时,微控制器(13-1)控制继电器(13-9)断开电热管(14)的供电回路,电热管(14)停止加热,当加热温度检测值低于电热管加热温度T3时,微控制器(13-1)控制继电器(13-9)接通电热管(14)的供电回路,电热管(14)开始加热,从而使电热管(14)的加热温度保持为T3;电热管(14)加热过程中,按下电热管左右运动按钮(13-3)或电热管前后运动按钮(13-4)后,微控制器(13-1)控制电热管(14)在模拟系统箱体(1)内左右运动或前后运动,进行太阳辐射热模拟;

步骤八、进行降雪入渗观测并测量试验土样消融后的稳定含水率和试验土样消融时的峰值含水率:步骤七中的电热管(14)加热使步骤六中的降雪消融过程中,未渗入试验土样(4-1)内的消融水从多个所述降雪径流量测量孔内流出并经过多根降雪径流量测量分管(10-1)和降雪径流量测量总管(10-2)流入降雪径流量测量量杯(11)内;渗出试验土样(4-1)内的消融水从多个所述降雪出渗量测量孔内流出并经过多根降雪出渗量测量分管(10-3)和降雪出渗量测量总管(10-4)流入降雪出渗量测量量杯(12)内;同时,多个土壤温湿度传感器(33)分别对试验土样(4-1)的温度和湿度进行周期性检测并将检测到的多个测试点处试验土样的温度信号和湿度信号传输给微控制器(13-1),微控制器(13-1)再将其接收到的多个测试点处试验土样(4-1)的温度信号和湿度信号通过串口通信电路(13-2)实时传输给计算机(8),计算机(8)接收并记录各个采样时刻多个测试点处试验土样(4-1)的温度信号和湿度信号,且对各个测试点处多个采样时刻的湿度按照时间先后顺序进行排列,当相邻两个采样时刻的湿度差值小于等于1%时,说明该测试点处试验土样(4-1)的湿度已稳定,将相邻两个采样时刻中后一个采样时刻的湿度值记录为该测试点处试验土样消融后的稳定含水率θe,而且,计算机(8)还对各个测试点处多个采样时刻的湿度进行从大到小排列,并将各个测试点处排列在最前的湿度值记录为该测试点处试验土样消融时的峰值含水率θp;同时,流量传感器(9)对渗出试验土样(4-1)的消融水流量进行周期性检测并将检测到的信号输出给微控制器(13-1),微控制器(13-1)将其接收到的渗出试验土样(4-1)的消融水流量通过串口通信电路(13-2)传输给计算机(8),计算机(8)调用流量曲线绘制模块绘制出渗出试验土样(4-1)的消融水流量随时间t变化的曲线;查看显示在计算机(8)上的渗出试验土样(4-1)的消融水流量随时间t变化的曲线,当渗出试验土样(4-1)的消融水流量随时间t变化的曲线趋近于一条直线时,说明降雪入渗已稳定,此时,查看降雪径流量测量量杯(11)内未渗入试验土样(4-1)内的消融水的量,并将该读数记录为降雪径流量Qj;查看降雪出渗量测量量杯(12)内渗出试验土样(4-1)内的消融水的量,并将该读数记录为降雪出渗量Qc;

步骤九:冻土水分迁移规律降雪入渗特征参数计算,具体过程为:

步骤901、根据公式Qr=Qz-Qj,计算得到降雪入渗量Qr;

步骤902、根据公式ΔS=Qr-Qc计算得到水分亏损量ΔS;

步骤903、根据公式 计算得到降雪入渗率Vr;

步骤904、根据公式 计算得到降雪出渗率Vc;

步骤905、根据公式 计算得到降雪入渗系数α;

步骤903和步骤904中,t为时间。

8.按照权利要求7所述的方法,其特征在于:步骤七中,按下电热管左右运动按钮(13-3)或电热管前后运动按钮(13-4),使电热管(14)在模拟系统箱体(1)内左右运动或前后运动,进行太阳辐射热模拟的具体过程为:当按下电热管左右运动按钮(13-3)时,微控制器(13-1)通过第二电机驱动器(13-7)驱动电热管左右运动电机(13-3)转动,电热管左右运动电机(13-3)带动所述第三电热管左右运动链轮转动,所述第三电热管左右运动链轮通过电热管左右运动链条(20)带动第一电热管左右运动链轮(25)转动,第一电热管左右运动链轮(25)带动电热管左右主动运动导轮(26)转动,电热管左右主动运动导轮(26)带动门字型框架(16)的一侧沿其中一条电热管左右运动导轨(18)运动,同时,电热管左右从动运动导轮(25)带动门字型框架(16)的另一侧沿另一条电热管左右运动导轨(18)从动,门字型框架(16)带动电热管前后运动小车(15)在模拟系统箱体(1)内左右运动,电热管前后运动小车(15)带动电热管(14)在模拟系统箱体(1)内左右运动;当按下电热管前后运动按钮(13-4)时,微控制器(13-1)通过第三电机驱动器(13-8)驱动电热管前后运动电机(13-4)转动,电热管前后运动电机(22)带动所述第二电热管前后运动带轮转动,所述第二电热管前后运动带轮带动所述电热管前后运动皮带(23)绕所述第二电热管前后运动带轮和第一电热管前后运动带轮(24)转动,所述电热管前后运动皮带(23)带动电热管前后运动小车(15)在模拟系统箱体(1)内前后运动,电热管前后运动小车(15)带动电热管(14)在模拟系统箱体(1)内前后运动。

9.按照权利要求7所述的方法,其特征在于:步骤三中电热管加热温度T3的取值为

20℃~80℃,步骤五中冻土环境温度T4的取值为-20℃~30℃,步骤六中降雪温度T1的取值为-25℃~0℃,步骤七中降雪入渗温度T2的取值为-20℃~20℃。