欢迎来到知嘟嘟! 联系电话:13336804447 卖家免费入驻,海量在线求购! 卖家免费入驻,海量在线求购!
知嘟嘟
我要发布
联系电话:13336804447
知嘟嘟经纪人
收藏
专利号: 2015104275614
申请人: 浙江工贸职业技术学院
专利类型:发明专利
专利状态:已下证
专利领域: 一般车辆
更新日期:2023-08-24
缴费截止日期: 暂无
价格&联系人
年费信息
委托购买

摘要:

权利要求书:

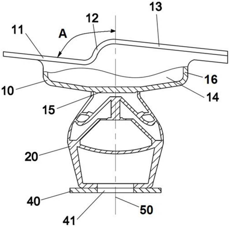
1.一种悬架用弹簧座,其特征在于,包括:

座体(10),所述座体(10)上部具有第一承载缘(11)和第二承载缘(13);

支撑体(20),所述支撑体(20)具有环形上壳体(21)、环形下壳体(30)和轴线(50),所述上壳体(21)固定连接在座体(10)的下部,所述下壳体(30)固定连接在上壳体(21)的下部,所述轴线(50)与第一承载缘(11)的顶面的夹角A为75°~85°;

连接体(40),所述连接体(40)固定连接在支撑体(20)的下部。

2.根据权利要求1所述的悬架用弹簧座,其特征在于,所述上壳体(21)包括中间支撑柱(22)、若干个第一支撑肋(23)和若干个第二支撑肋(27),所述中间支撑柱(22)位于上壳体(21)的内腔,所述若干个第一支撑肋(23)的一端固定连接在中间支撑柱(22)的上端,另一端固定连接在上壳体(21)的中部,所述若干个第二支撑肋(27)的一端固定连接在中间支撑柱(22)的下端,另一端固定连接在上壳体(21)的下部。

3.根据权利要求1所述的悬架用弹簧座,其特征在于,所述若干个第一支撑肋(23)沿中间支撑柱(22)的周向均匀分布,第一支撑肋(23)为三个或六个,每个第一支撑肋(23)的另一端具有缓冲腔(24),所述缓冲腔(24)的横截面呈圆形或椭圆形或多边形。

4.根据权利要求1所述的悬架用弹簧座,其特征在于,所述若干个第二支撑肋(27)沿中间支撑柱(22)的周向均匀分布,第二支撑肋(27)为三个或六个。

5.根据权利要求4所述的悬架用弹簧座,其特征在于,还包括若干个第三支撑肋(29)和第一减重腔(28),所述若干个第三支撑肋(29)固定连接在上壳体(21)的下部,且位于第二支撑肋(27)的下方,所述第一减重腔(28)位于第二支撑肋(27)和第三支撑肋(29)之间。

6.根据权利要求5所述的悬架用弹簧座,其特征在于,所述若干个第三支撑肋(29)沿上壳体(21)的周向均匀分布,每个第三支撑肋(29)的中部向下壳体(30)的第二减重腔(31)内延伸,第三支撑肋(29)为三个或六个。

7.根据权利要求4所述的悬架用弹簧座,其特征在于,还包括支撑平面(26),所述支撑平面(26)固定连接在中间支撑柱(22)的下端,每个第二支撑肋(27)的一端固定连接在支撑平面(26)的边缘。

8.根据权利要求1至7中任一项所述的悬架用弹簧座,其特征在于,所述座体(10)还包括底板(15)和环形边(16),所述底板(15)呈蝶形,所述环形边(16)固定连接在底板(15)的边缘,所述座体(10)还具有一由底板(15)和环形边(16)围成的凹腔(14)。

9.根据权利要求8所述的悬架用弹簧座,其特征在于,所述座体(10)还具有一连接部(12),所述连接部(12)的一端连接在第一承载缘(11)上,另一端连接在第二承载缘(13)上。

10.根据权利要求8所述的悬架用弹簧座,其特征在于,所述轴线(50)与第一承载缘(11)的顶面的夹角A为80°。