欢迎来到知嘟嘟! 联系电话:13095918853 卖家免费入驻,海量在线求购! 卖家免费入驻,海量在线求购!
知嘟嘟
我要发布
联系电话:13095918853
知嘟嘟经纪人
收藏
专利号: 2015104128282
申请人: 长春理工大学
专利类型:发明专利
专利状态:已下证
专利领域: 照明
更新日期:2024-02-23
缴费截止日期: 暂无
价格&联系人
年费信息
委托购买

摘要:

权利要求书:

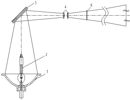
1.大光斑直径高均匀度发散式太阳模拟器光学系统,其特征在于,包括:椭球聚光镜、氙灯光源、转向平面反射镜、光学积分器和光学滤光片;

所述光学积分器包括附加镜Ⅰ(41)、场镜(42)、投影镜(43)和附加镜Ⅱ(44);

所述光学积分器的场镜(42)由19个复眼透镜组成,光学积分器的投影镜(43)由19个复眼透镜组成,且场镜(42)和投影镜(43)的每个复眼透镜在工作时应一一对应;

所述椭球聚光镜具有第一焦点F1和第二焦点F2;

所述氙灯光源设置在所述椭球聚光镜的前面,位于所述椭球聚光镜的所述第一焦点F1处,经过所述椭球聚光镜的作用汇聚在所述椭球聚光镜的所述第二焦点F2处;

所述转向平面反射镜设置在所述氙灯光源的前面,用于折转光路,缩短轴向尺寸;

所述光学积分器设置在所述转向平面反射镜的前面,用于将所述氙灯光源形成的光斑均匀化处理;

所述光学滤光片设置在所述光学积分器的前面,用于将所述氙灯光源发出的光进行滤光处理;并在工作距离为10m处,形成所述光斑的直径为1m的太阳辐照,且均匀度优于10%;

所述光学积分器和所述光学滤光片之间设置有光轴指示装置,其包括激光指示器和平面反射镜,用于实现所述大光斑直径高均匀度发散式太阳模拟器光学系统与待检件中心的对准,将平面反射镜移入光路中,激光指示器(51)发出的激光经过平面反射镜(52)后应照射在待检件的中心,若不在待检件的中心,则调整待检件的位置直至激光照射至待检件的中心。