欢迎来到知嘟嘟! 联系电话:13336804447 卖家免费入驻,海量在线求购! 卖家免费入驻,海量在线求购!
知嘟嘟
我要发布
联系电话:13336804447
知嘟嘟经纪人
收藏
专利号: 2015103259050
申请人: 浙江大学
专利类型:发明专利
专利状态:已下证
专利领域: 测量;测试
更新日期:2023-08-24
缴费截止日期: 暂无
价格&联系人
年费信息
委托购买

摘要:

权利要求书:

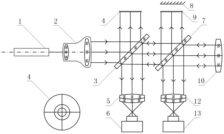
1.非零位检测中部分补偿透镜和被测面对准装置,其特征在于包括激光器(1)、准直扩束系统(2)、分光板(3、7)、对准板(4)、成像系统(5)、探测器(6)、参考平面反射镜(8)、遮光板(9)、部分补偿透镜(10)、被测面(11);具体的:激光器(1)发出的单模细光束经过准直扩束系统(2)后,入射到镀有半透半反膜的分光板(3)上,一部分光被反射,另一部分光透射;在垂直于反射光的方向放置对准板(4),对准板(4)的中心与被反射激光光束的光轴重合;在与反射光方向相反、位于分光板(3)另一侧的位置,由成像系统(5)将对准板(4)成像于探测器(6)上,透过分光板(3)的光入射到另一个镀有半透半反膜的分光板(7)上,一路光被反射,由位于参考平面反射镜(8)前面的遮光板(9)吸收和散射;另一路光透过分光板(7)入射到部分补偿透镜(10),部分补偿透镜(10)的前后表面分别反射一部分入射光,形成干涉条纹;被部分补偿透镜(10)反射的光再次透过靠近部分补偿透镜(10)的分光板(7)后,被靠近激光器的分光板(3)反射,由成像系统(5)将干涉条纹成像于探测器(6);

在部分补偿透镜对准的基础上,将被测面(11)夹持到可沿直线导轨(14)移动的五维调整架上,导轨(14)与干涉仪的光轴平行,导轨(14)与干涉仪光轴所组成的平面垂直于放置干涉仪的平台;透过部分补偿透镜(10)的光入射到被测面(11)上,经被测面(11)反射后再次透过部分补偿透镜(10);分别由部分补偿透镜(10)的前后表面和被测面(11)反射的三路光,透过靠近部分补偿透镜(10)的分光板(7)后,被靠近激光器(1)的分光板(3)反射,由靠近激光器(1)的成像系统(5),将部分补偿透镜(10)前后表面的反射光形成的干涉图和被测面(11)反射的光斑成像于探测器(6)上。

2.如权利要求1所述的非零位检测中部分补偿透镜和被测面对准装置,其特征在于所述的对准板,其十字叉丝的交点对准被反射的激光光束中心,同心圆环以十字叉丝的交点为圆心,若对准板在探测器上成像亮度过大,则在对准板前方添加滤光片减小光强。

3.如权利要求1所述的非零位检测中部分补偿透镜和被测面对准装置,其特征在于所述的部分补偿透镜,为单透镜,前后表面均为标准球面;所述的被测面,包括光学球面和旋转对称的光学非球面。

4.如权利要求1所述的非零位检测中部分补偿透镜和被测面对准装置,其特征在于该装置中的对准方法包括如下步骤:步骤1、夹持部分补偿透镜

将部分补偿透镜(10)夹持在四维调整架上;

步骤2、部分补偿透镜倾斜对准

调节部分补偿透镜(10)的倾斜位姿,包括左右偏摆和上下俯仰,观察探测器(6)上所成的像,直至部分补偿透镜(10)前后表面反射形成的两个圆形光斑同心,且圆形光斑重合的部分形成同心的环形干涉条纹;

步骤3、部分补偿透镜偏心对准

调节部分补偿透镜(10)的偏心位姿,包括水平平移和竖直平移,将探测器(6)上所成的两个同心光斑和环形干涉条纹的中心与对准板(4)所成像的十字叉丝中心对准,对准板(4)上的环形图案用以辅助对准;

步骤4、部分补偿透镜位姿微调

由于调整架的倾斜和偏心调整内部机构可能存在互相影响,因此,重复步骤2和步骤3,直至由部分补偿透镜(10)前后表面返回的光斑同心、环形干涉条纹同心,且光斑和干涉条纹的圆心与对准板所成像的中心对准;

步骤5、夹持被测面

在部分补偿透镜(10)已经对准的基础上,将被测面(11)夹持在可沿直线导轨(14)移动的五维调整架上,导轨(14)与干涉仪的光轴平行,且导轨(14)与干涉仪光轴所组成的平面垂直于放置干涉仪的平台;

步骤6、被测面偏心调整

将被测面(11)沿导轨(14)移动至靠近部分补偿透镜(10)的位置,观察探测器(6)上所成的像,若探测器(6)上由被测面(11)反射的光斑中心没有与对准板(4)所成像的中心对准,设两者之间的水平距离为X、竖直距离为Y,则调整被测面(11)的偏心位姿,包括水平平移和竖直平移,使反射光斑的中心向对准板(4)所成像的中心分别沿水平方向和竖直方向移动X/2和Y/2的距离;

步骤7、被测面倾斜调整

将被测面(11)沿导轨(14)移动至远离部分补偿透镜(10)的位置,观察探测器(6)上所成的像,若探测器(6)上由被测面(11)反射的光斑的中心没有与对准板(4)所成像的中心对准,设两者之间的水平距离为V、竖直距离为W,则调整被测面(11)的倾斜位姿,包括左右偏摆和上下俯仰,使反射光斑的中心向对准板(4)所成像的中心分别沿水平方向和竖直方向移动V/2和W/2的距离;

步骤8、被测面对准

重复步骤6和步骤7,直至沿导轨(14)移动被测面(11)时,探测器(6)上由被测面(11)返回的光斑中心始终与对准板(4)所成像的中心对准,被测面(11)的对准调整完成;将参考平面反射镜(8)前的黑色遮光板(9)移开,在探测器(13)的像面得到由参考光和检测光形成的干涉条纹,对被测面(11)的位姿进行简单的计算机辅助微调后,即可对被测面(11)进行非零位检测。