欢迎来到知嘟嘟! 联系电话:13336804447 卖家免费入驻,海量在线求购! 卖家免费入驻,海量在线求购!
知嘟嘟
我要发布
联系电话:13336804447
知嘟嘟经纪人
收藏
专利号: 2015103086545
申请人: 浙江工业大学
专利类型:发明专利
专利状态:已下证
专利领域: 光学
更新日期:2024-12-09
缴费截止日期: 暂无
价格&联系人
年费信息
委托购买

摘要:

权利要求书:

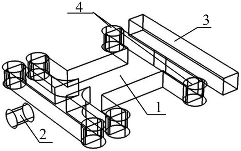
1.一种基于流体光波导的一维可调谐光束方向调控方法,其特征在于:该光束方向调控采用流体微透镜,所述流体微透镜括流体光波导、入射激光器、光束接收面和流出流体贮存器,所述流体光波导上开有用于承载微流体的流道,所述流道包括一个芯层流体入口、两个对称的包层流体入口、流体微腔和两个对称的流体出口,所述芯层流体入口、包层流体入口均与所述流体微腔的入口侧连通,所述流体微腔的出口侧与两个流体出口连接,所述流体出口与流出流体贮存器连通,所述入射激光器和光束接收面同轴布置,所述入射激光器和光束接收面的轴线与流体流动方向平行且方向一致沿微腔的中心轴线方向,所述芯层流体入口和包层流体入口内安装用以调节流体速度的流速调节设备;

所述芯层流体和包层流体彼此之间只存在扩散和对流运动,包层流体环绕着芯层流体,所述芯层流体和包层流体是具有不同折射率的两种流体,所述芯层流体和包层流体在流体微腔中流动共同构成流体光波导;

所述一维可调谐光束方向调控方法如下:通过调节两个包层流体的流速比实现中心折射率的一维偏移。

2.如权利要求1所述的基于流体光波导的一维可调谐光束方向调控方法,其特征在于:两个包层流体入口以微腔的中心轴线左右对称,增大左右两个包层流体的流速比,中心折射率向右偏移,减小左右两个包层流体的流速比,中心折射率向左偏移。

3.如权利要求1所述的基于流体光波导的一维可调谐光束方向调控方法,其特征在于:两个包层流体入口以微腔的中心轴线上下对称,增大上下两个包层流体的流速比,中心折射率向下偏移,减小上下两个包层流体的流速比,中心折射率向上偏移。

4.如权利要求1~3之一所述的基于流体光波导的一维可调谐光束方向调控方法,其特征在于:所述流速调节设备为注入流体的蠕动泵。

5.如权利要求1~3之一所述的基于流体光波导的一维可调谐光束方向调控方法,其特征在于:所述包层流体折射率高于所述芯层流体折射率。