欢迎来到知嘟嘟! 联系电话:13336804447 卖家免费入驻,海量在线求购! 卖家免费入驻,海量在线求购!
知嘟嘟
我要发布
联系电话:13336804447
知嘟嘟经纪人
收藏
专利号: 2015102998144
申请人: 苏州桀勇不锈钢制品有限公司
专利类型:发明专利
专利状态:已下证
专利领域: 测量;测试
更新日期:2024-12-11
缴费截止日期: 暂无
价格&联系人
年费信息
委托购买

摘要:

权利要求书:

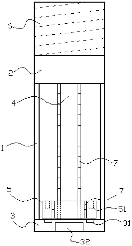
1.一种球杆测力计,本球杆测力计主要包括有一个空心的、呈圆柱形的壳体(1);在所述壳体(1)顶端的上表面处固定安装有把套(6);其特征在于:在所述壳体(1)内腔的顶端安装有强磁块(2),所述强磁块(2)的磁力线方向与壳体(1)的轴线平行;在所述壳体(1)内腔的底端安装有支撑座(3),在所述支撑座(3)上安装有红外测距仪(31),所述红外测距仪(31)发出的红外线指向壳体(1)内部且该红外线与壳体(1)的轴线平行;所述红外测距仪(31)电性连接位于支撑座(3)内的控制芯片(32)和电源;在所述壳体(1)内安装有一个与该壳体(1)共轴线的固定滑杆(4);在所述固定滑杆(4)上滑动套设一个测力环(5),在该测力环(5)正对所述强磁块(2)的一个环面上嵌入与该强磁块(2)同极相斥的强磁柱(51),各所述强磁柱(51)以测力环(5)的轴线为中心周向均布测力环(5)的环面上。

2.根据权利要求1所述的球杆测力计,其特征在于:所述把套(6)由橡胶材料做成,所述把套(6)的内壁做成内螺纹状。

3.根据权利要求1或2所述的球杆测力计,其特征在于:在所述测力环(5)的内环面和所述固定滑杆(4)的外周面均分别等距的嵌入有小磁片(7),所述测力环(5)内环面的小磁片(7)与所述固定滑杆(4)的外周面的小磁片(7)同极相斥。