欢迎来到知嘟嘟! 联系电话:13336804447 卖家免费入驻,海量在线求购! 卖家免费入驻,海量在线求购!
知嘟嘟
我要发布
联系电话:13336804447
知嘟嘟经纪人
收藏
专利号: 2015102160847
申请人: 山东科技大学
专利类型:发明专利
专利状态:已下证
专利领域: 测量;测试
更新日期:2023-12-11
缴费截止日期: 暂无
价格&联系人
年费信息
委托购买

摘要:

权利要求书:

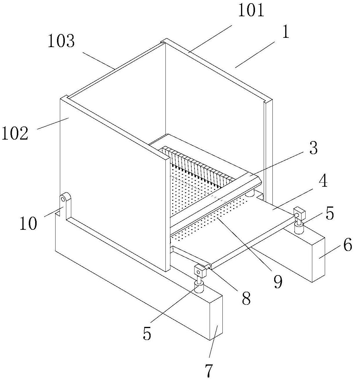
1.一种岩层及地表沉陷模拟箱式试验装置,其特征在于:包括底座及设置在底座上的沉陷试验箱,沉陷试验箱内设置有若干个煤层组块,沉陷试验箱包括左侧板、右侧板、前侧板和后侧板,前、后侧板均为透明结构且前侧板可沿左、右侧板上下滑动,沉陷试验箱的顶端和底端均为开口结构,沉陷试验箱的下部内侧设置有用于安装煤层组块的围框,煤层组块设置在围框内侧周圈,围框的下方设置有采煤板,采煤板的后端伸入沉陷试验箱内、前端伸出至沉陷试验箱外侧,采煤板的前端设置有采煤板调斜机构;各所述煤层组块均包括块体和设置在块体底端的螺柱,采煤板上开设有一排排与煤层组块的螺柱相适配的螺孔,各煤层组块的螺柱置于与之相对应的螺孔内;所述前、后侧板上均开设有用于铺设传感器的通孔。

2.根据权利要求1所述的一种岩层及地表沉陷模拟箱式试验装置,其特征在于:所述采煤板调斜机构包括两个液压千斤顶,两个液压千斤顶位于采煤板前端的左、右两侧,各液压千斤顶的顶部托座均通过连接杆与采煤板的前端相连。

3.根据权利要求1所述的一种岩层及地表沉陷模拟箱式试验装置,其特征在于:所述前侧板的前端面以及后侧板的后端面上均沿竖直方向每5mm设置一个刻度值。

4.根据权利要求1所述的一种岩层及地表沉陷模拟箱式试验装置,其特征在于:所述左、右侧板的前部的相向内侧设置有前滑槽,左、右侧板的后部的相向内侧设置有后滑槽,前侧板置于前滑槽内,后侧板置于后滑槽内。

5.根据权利要求1所述的一种岩层及地表沉陷模拟箱式试验装置,其特征在于:所述围框包括前边框和后边框,前、后边框均呈U型,前边框的两边插入后边框的两边内且沿后边框的两边前后移动,后边框的底边内设置有转轴,后边框通过转轴与左、右侧板转动连接,前、后边框的底部均设置有与采煤板相连的立柱。

6.根据权利要求5所述的一种岩层及地表沉陷模拟箱式试验装置,其特征在于:所述底座包括左支撑块和右支撑块,左侧板设置在左支撑块的上方且与之固连,右侧板设置在右支撑块的上方且与之固连,左、右支撑块的顶端后侧均设置有支撑块,设置在左、右支撑块顶端后侧的各支撑块的上部均开设有转轴孔,各转轴孔内均设置有轴承,转轴的两端分别穿入转轴孔的轴承内。

7.根据权利要求1所述的一种岩层及地表沉陷模拟箱式试验装置,其特征在于:所述前、后侧板为钢板或有机玻璃板。