欢迎来到知嘟嘟! 联系电话:13336804447 卖家免费入驻,海量在线求购! 卖家免费入驻,海量在线求购!
知嘟嘟
我要发布
联系电话:13336804447
知嘟嘟经纪人
收藏
专利号: 2015100299323
申请人: 浙江工业大学
专利类型:发明专利
专利状态:已下证
专利领域: 测量;测试
更新日期:2023-08-24
缴费截止日期: 暂无
价格&联系人
年费信息
委托购买

摘要:

权利要求书:

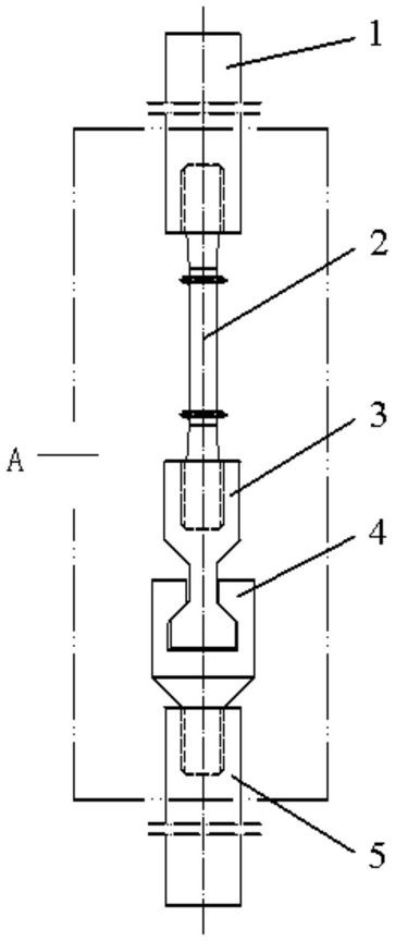
1.高温蠕变试验机快拆夹头装置,包括与上拉杆螺接的上夹头,所述的上夹头的下端与试样的上端螺接,其特征在于:所述的试样的下端与双头凸块的上端螺接,所述的双头凸块的下端与凹槽块的上端卡接,所述的凹槽块的下端与下夹头螺接;

所述的凹槽块的顶部开设有一贯穿凹槽块的两端的凹槽,所述的双头凸块的下端卡接在凹槽内;所述的凹槽块未被贯穿的两端侧面分别设有两端端部带有缺口的卡板,两侧的卡板的缺口之间安装设置有挡板,所述的挡板的两端卡接在缺口内,所述的挡板用于防止双头凸块的下端滑出所述的凹槽。

2.如权利要求1所述的高温蠕变试验机快拆夹头装置,其特征在于:所述的挡板上设置有可拆卸的用于实现上下夹头对中的紧固螺钉,所述的挡板和凹槽快相对应的位置上开设有与紧固螺钉相配合的螺钉孔。

3.如权利要求1或2所述的高温蠕变试验机快拆夹头装置,其特征在于:所述的双头凸块的顶端开设有与试样的下端相连接的螺栓沉孔。

4.如权利要求3所述的高温蠕变试验机快拆夹头装置,其特征在于:所述的双头凸块的底部设有T形凸起,所述的凹槽块的顶部设有与T形凸起相配合的T形槽,所述的T形槽贯穿凹槽块的两端。

5.如权利要求4所述的高温蠕变试验机快拆夹头装置,其特征在于:所述的双头凸块的顶端采用四棱柱或圆柱形结构。

6.如权利要求4或5所述的高温蠕变试验机快拆夹头装置,其特征在于:所述的凹槽块的底部设有与下夹头连接的螺柱。

7.如权利要求6所述的高温蠕变试验机快拆夹头装置,其特征在于:所述的双头凸块与凹槽块之间留有热膨胀间隙。