欢迎来到知嘟嘟! 联系电话:13336804447 卖家免费入驻,海量在线求购! 卖家免费入驻,海量在线求购!
知嘟嘟
我要发布
联系电话:13336804447
知嘟嘟经纪人
收藏
专利号: 2014108441873
申请人: 浙江省海洋水产研究所
专利类型:发明专利
专利状态:已下证
专利领域: 测量;测试
更新日期:2023-08-24
缴费截止日期: 暂无
价格&联系人
年费信息
委托购买

摘要:

权利要求书:

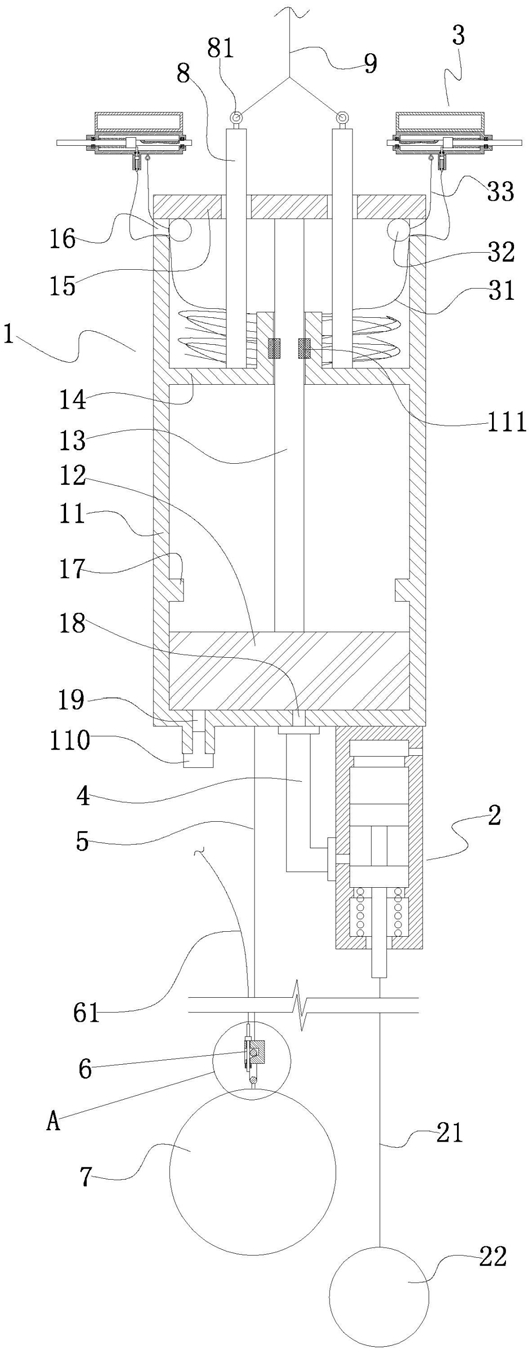
1.一种触发式海底水样采集系统,其特征是,包括释放装置(1),触发装置(2),沉降配重(7)及若干个水样采集器(3);所述释放装置包括上端开口、下端封闭的竖直缸体(11),设置在竖直缸体上部的隔板(14),设置在隔板中部的竖直导向孔,可滑动设置在竖直缸体内、并位于隔板下方的升降活塞(12),设置在竖直缸体上方、并可抵靠在竖直缸体上端面上的平压板(15)及连接升降活塞与平压板的顶杆(13),顶杆穿过竖直导向孔,且竖直导向孔内侧面上、位于竖直导向孔与顶杆之间设有第一密封圈;所述隔板下方的竖直缸体内腔为密闭腔体;所述竖直缸体的下端面上设有第一通孔(18),竖直缸体的上端开口边缘设有若干穿线缺口;所述沉降配重通过第一连接绳悬挂在竖直缸体下方;

所述触发装置包括竖直设置在竖直缸体下端面上的触发缸体,可滑动设置在触发缸体内的上活塞体(25)及下活塞体(28),连接上、下活塞体的第一连杆,设置在触发缸体的下端面中部的第二通孔(211),设置在下活塞体下端面上、并往下穿过第二通孔的第二连杆及位于触发缸体下方的触发配重;所述触发缸体内侧面上设有上限位凸块(24)及下限位凸块(29),且上限位凸块位于上活塞体上方,下限位凸块位于下活塞体下方;所述第二连杆上、位于下活塞体与触发缸体下端之间设有第一压缩弹簧,所述触发缸体外侧面设有第三通孔(27)及第四通孔(23),第四通孔位于上限位凸块上方,第三通孔位于上、下限位凸块之间,并且当下活塞体抵靠在下限位凸块上时第三通孔位于上、下活塞体之间,当上活塞体抵靠在上限位凸块上时第三通孔位于下活塞体下方;所述触发配重通过第二连接绳与下活塞体相连接,并且该触发配重可使下活塞体往下移动并抵靠在下限位凸块上;所述触发配重位于沉降配重的下方;所述第一通孔与第二通孔之间通过连接管(4)密封连接;

所述水样采集器包括第三连接绳(31),两端封闭的采集筒(34),设置在采集筒两端的导向通孔,可滑动设置在导向通孔内的滑动轴杆(312),通过第四连接绳(33)与采集筒连接的限位球(32),设置在采集筒上的解锁装置(39)及浮力体(311),并且浮力体的浮力大于水样采集器的重力;所述第四连接绳的长度小于第三连接绳的长度;

所述滑动轴杆穿过采集筒两端的导向通孔,且导向通孔内侧面上、位于导向通孔与滑动轴杆之间设有第二密封圈,滑动轴杆中部、位于采集筒内设有环形凸块(38),滑动轴杆外侧面上设有沿滑动轴杆轴向延伸的进水槽(310),且进水槽的长度大于导向通孔的长度;所述滑动轴杆上、位于环形凸块与采集筒一端之间套设有第三压缩弹簧(37),所述第三压缩弹簧与进水槽位于环形凸块的相对两侧;

所述解锁装置包括设置在采集筒外侧面中部,并与采集筒相垂直的解锁缸体(313),可滑动设置在解锁缸体内的推移活塞(315),设置在推移活塞一端的解锁档杆(318)及设置在推移活塞另一端的活塞杆(314),所述解锁档杆与采集筒位于推移活塞的同一侧,所述活塞杆穿过解锁缸体端部、位于解锁缸体外侧,所述活塞杆上套设有可使推移活塞往采集筒方向推移的第二压缩弹簧(320);解锁档杆的端部穿过采集筒侧壁、位于采集筒内腔内,并且解锁档杆的端部伸入至环形凸块端面的内侧;当环形凸块及第三压缩弹簧移动至解锁档杆的同一侧时,所述进水槽位于采集筒内侧;

所述第三连接绳位于隔板上方的竖直缸体内,第三连接绳的一端固定在隔板或竖直缸体上,另一端穿过所述的穿线缺口,并与活塞杆的端部相连接。

2.根据权利要求1所述的触发式海底水样采集系统,其特征是,所述竖直缸体内侧面上、位于隔板下方设有限位挡块,所述升降活塞位于限位挡块下方;并且当升降活塞抵靠在限位挡块上时;所述平压板与竖直缸体上端面之间的间距大于限位球的直径;所述竖直缸体的浮力大于释放装置及触发装置的重力之和,并小于释放装置、触发装置及沉降配重的重力之和。

3.根据权利要求2所述的触发式海底水样采集系统,其特征是,所述第一连接绳的上端与竖直缸体的下端中部相连接,下端设有脱钩装置,所述脱钩装置包括拉绳,挂置在第一连接绳的下端上的连接块及设置在连接块侧面上的挂置缺口,挂置缺口的内底面为导向斜面,且该导向斜面由挂置缺口的开口往内斜向上延伸设置;所述挂置缺口的内顶面设有往上贯通连接块上端面的上通孔,挂置缺口的内底面设有往下贯通连接块下端面的下通孔,且上、下通孔正对设置;所述上通孔内插设有插接档杆,该插接档杆穿过下通孔,插接档杆外侧面上、位于连接块上方设有限位凸起,所述拉绳的一端与插接档杆的上端连接;所述沉降配重上设有连接环,该连接环挂置在挂置缺口内,且连接环挂位于插接档杆内侧。

4.根据权利要求1所述的触发式海底水样采集系统,其特征是,所述解锁缸体内侧面上设有第一环形挡块及第二环形挡块,推移活塞位于第一环形挡块与第二环形挡块之间,第一环形挡块靠近采集筒,且第一环形挡块与解锁档杆位于推移活塞的同一侧,所述解锁缸体内外侧面上、位于采集筒与第一环形挡块之间设有第五通孔;所述采集筒外侧面上设有与解锁缸体同轴的第六通孔,所述解锁档杆的端部穿过第六通孔、位于采集筒内腔内,所述第六通孔内侧面上、位于第六通孔与解锁档杆之间设有第三密封圈;所述活塞杆与解锁缸体之间设有第四密封圈。

5.根据权利要求1或2或3或4所述的触发式海底水样采集系统,其特征是,所述竖直缸体的下端面上设有排气通孔,且排气通孔的外端口内设有密封堵头,该密封堵头与排气通孔之间通过螺纹连接。

6.根据权利要求1或2或3或4所述的触发式海底水样采集系统,其特征是,所述浮力体与解锁装置位于采集筒的相对两侧。

7.根据权利要求1或2或3或4所述的触发式海底水样采集系统,其特征是,所述平压板上表面设有两个避让通孔,且两个避让通孔绕顶杆对称分布,所述隔板上表面上设有两根竖直吊杆,且两根竖直吊杆绕顶杆对称分布,两竖直吊杆穿过对应的避让通孔,竖直吊杆的上端设有吊环。